43162116 7 Piece Dining Set
Instruction Manual
Assembly Instructions
CARE INSTRUCTION: REMOVE ALL PARTS FROM THE CARTON. BE SURE YOU HAVE ALL PARTS BEFORE YOU START ASSEMBLING. PLACE ALL PARTS ON THE CLEAN AND FLAT SOFT SURFACE, SUCH AS CARPET OR RUG TO PREVENT FROM BEING SCRATCHED.
WARNING: DO NOT PLACE VERY HOT OR VERY COLD ITEMS ON THE GLASS SURFACE UNLESS ADEQUATELY THICK TABLE MATS ARE USED TO PREVENT SUCH ITEMS FROM COMING INTO CONTACT WITH THE GLASS. DO NOT SIT OR STAND UPON THE GLASS SURFACE. DO NOT USE GLASS AS A CHOPPING SURFACE. DO NOT STRIKE THE GLASS WITH HARD OR POINTED ITEMS. DO NOT USE WASHING POWDERS OR ANY OTHER SUBSTANCES CONTAINING ABRASIVES AS THESE MAY SCRATCH THE GLASS SURFACE.DO NOT FULL TIGHTEN ALL SCREWS UNTIL ALL HAVE BEEN COMPLETED. DO NOT USE THIS UNIT UNLESS ALL BOLTS, SCREWS AND KNOBS ARE FIRMLY SECURED. FOR DOMESTIC USE ONLY. FAILURE TO FOLLOW THESE WARNINGS COULD RESULT IN SERIOUS INJURY.
MAXIMUM SAFE LOAD WEIGHT: 50KG
Hardware List
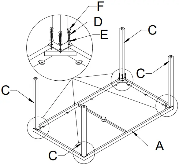
| A | ![]() | 1PC |
| B | ![]() | 1PC |
| C | 4PCS | |
| D | M6x15mm | 12PCS |
| E | ![]() | 12PCS |
| F | ![]() | 12PCS |
| G | ![]() | 1PC |
Step 1
Step 2
Step 3
CARE INSTRUCTION: REMOVE ALL PARTS FROM THE CARTON. BE SURE YOU HAVE ALL PARTS BEFORE YOU START ASSEMBLING. PLACE ALL PARTS ON THE CLEAN AND FLAT SOFT SURFACE, SUCH AS CARPET OR RUG TO PREVENT FROM BEING SCRATCHED.
WARNING: DO NOT STAND ON THE CHAIR. DO NOT USE THE CHAIR AS A STEP LADDER. DO NOT SIT ON THE ARMREST. DO NOT FULL TIGHTEN ALL SCREWS UNTIL ALL HAVE BEEN COMPLETED. DO NOT USE THIS UNIT UNLESS ALL BOLTS, SCREWS AND KNOBS ARE FIRMLY SECURED .FOR DOMESTIC USE ONLY. FAILURE TO FOLLOW THESE WARNINGS COULD RESULT IN SERIOUS INJURY.
MAXIMUM SAFE LOAD WEIGHT: 100KG
| A | ![]() | 6PCS | B | ![]() | 6PCS |
| C | ![]() | 6PCS | D | 6PCS | |
| E | ![]() | 48PCS | F | ![]() | 12PCS |
| G | 60PCS | H | ![]() | 60PCS | |
| AA | ![]() | 1PC |






M6x15mm

























