Grundfos 1.2KW WASTE WATER AND SEWAGE GRINDER PUMP
Description
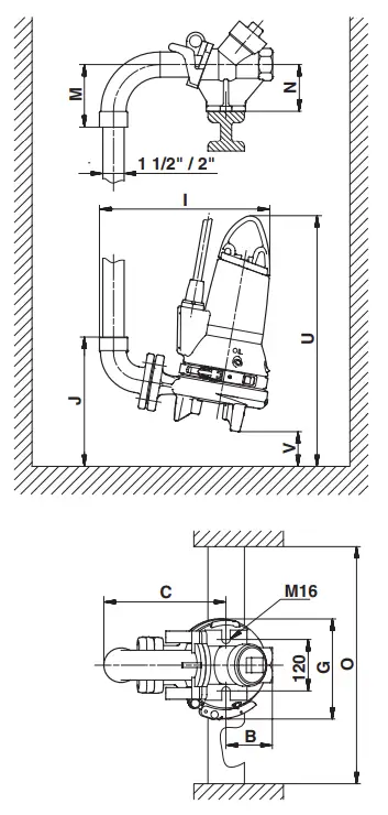
One-pump installation on auto-coupling
| Pos. | Description |
| 1 | Ex mark |
| 2 | Type designation |
| 3 | Product number |
| 4 | Production code |
| 5 | Maximum head |
| 6 | Maximum installation depth |
| 7 | Number of phases |
| 8 | Rated voltage, D |
| 9 | Rated voltage, Y |
| 10 | Rated power input |
| 11 | Power factor |
| 12 | Starting capacitor |
| 13 | Country of production |
| 14 | CE mark |
| 15 | VTT approval number |
| 16 | Maximum liquid temperature |
| 17 | Maximum flow |
| 18 | Enclosure class to CEE |
| 19 | Enclosure class to IEC |
| 20 | Rated speed |
| 21 | Frequency |
| 22 | Rated current, D |
| 23 | Rated current, Y |
| 24 | Shaft power |
| 25 | Insulation class |
| 26 | Operating capacitor |
| 27 | Weight without cable |
One-pump installation on hookup auto-coupling
Free-standing installation
| Pos. | Description |
| 6a | Pin |
| 7a | Rivet |
| 9a | Key |
| 37a | O-rings |
| 44 | Grinder ring |
| 45 | Grinder head |
| 48 | Stator |
| 48a | Terminal board |
| 49 | Impeller |
| 50 | Pump housing |
| 55 | Stator housing |
| 58 | Shaft seal carrier |
| 66 | Locking ring |
| 68 | Adjusting nut |
| 76 | Nameplate |
| 92 | Clamp |
| 102 | O-ring |
| 103 | Bush |
| 104 | Seal ring |
| 105 105a | Shaft seal |
| 107 | O-rings |
| 112a | Locking ring |
| 153 | Bearing |
| 154 | Bearing |
| 155 | Oil chamber |
| 158 | Corrugated spring |
| 159 | Washer |
| 172 | Rotor/shaft |
| 173 | Screw |
| 173a | Washer |
| 176 | Inner plug part |
| 181 | Outer plug part |
| 188a | Screw |
| 190 | Lifting bracket |
| 193 | Oil screw |
| 193a | Oil |
| 194 | Gasket |
| 198 | O-ring |

Declaration of Conformity
We Grundfos declare under our sole responsibility that the products SEG to which this declaration relates, are in conformity with the Council Directives on the approximation of the laws of the EC Member States relating to
- Machinery (98/37/EC). Standard used: EN ISO 12100.
- Electromagnetic compatibility (89/336/EEC). Standards used: EN 61 000-6-2 and EN 61 000-6-3.
- Electrical equipment is designed for use within certain voltage limits (73/23/EEC) [95]. Standards used: EN 60 335-1 and EN 60 335-2-41.
- ATEX 94/9/EC (ATEX 100) (applies only to products with the ATEX mark on the nameplate).
Standards used: EN 50 014, EN 50 018, EN 13 463-1 and pr EN 13 463-5.
Denmark
- GRUNDFOS DK A/S Poul Due Jensens Vej 7A DK-8850 Bjerringbro
- Tlf.: +45-87 50 50 50
- Telefax: +45-87 50 51 51
Albania
- COALB sh.p.k. Rr.Dervish Hekali N.1 AL-Tirana
- Phone: +355 42 22727 Telefax: +355 42 22727
Australia
- GRUNDFOS Pumps Pty. Ltd. P.O. Box 2040 Regency Park South Australia 5942
Phone: +61-8-8461-4611
Telefax: +61-8-8346-7434 - Austria GRUNDFOS Pumpen Ver-trieb Ges.m.b.H. Grundfosstraße 2 A-5082 Grödig/Salzburg
- Tel.: +43-6246-883-0
- Telefax: +43-6246-883-60/ 883-30
France
- Pompes GRUNDFOS Distribu-tion S.A.
- Parc d’Activités de Chesnes 57, rue de Malacombe F-38290 St. Quentin Fallavier (Lyon)
- Tél.: +33-4 74 82 15 15
- Télécopie: +33-4 74 94 10 51
Germany
- GRUNDFOS GMBH Schlüterstr. 33 40699 Erkrath
- Tel.: +49-(0) 211 929 69-0 Telefax: +49-(0) 211 929 69-3799
- e-mail: [email protected]
- Service in Deutschland: e-mail: [email protected]
Italy
- GRUNDFOS Pompe Italia S.r.l. Via Gran Sasso 4 I-20060 Truccazzano (Milano)
- Tel.: +39-2-95838112
- Telefax: +39-2-95309290/ 95838461
Netherlands
- GRUNDFOS Nederland B.V. Postbus 104 NL-1380 AC Weesp
- Tel.: +31-294-492 211
- Telefax: +31-294-492244/ 492299
Spain
- Bombas GRUNDFOS España S.A.
- Camino de la Fuentecilla, s/n E-28110 Algete (Madrid)
- Tel.: +34-91-848 8800
- Telefax: +34-91-628 0465
Sweden
- GRUNDFOS AB Box 63, Angeredsvinkeln 9 S-424 22 Angered
- Tel.: +46-771-32 23 00
- Telefax: +46-31-3 31 94 60
United Arab Emirates
- GRUNDFOS Gulf Distribution P.O. Box 16768 Jebel Ali Free Zone Dubai
- Phone: +971-4-8815166
- Telefax: +971-4-8815136
United Kingdom
- GRUNDFOS Pumps Ltd. Grovebury Road Leighton Buzzard/Beds. LU7 8TL
- Phone: +44-1525-850000
- Telefax: +44-1525-850011
U.S.A.
- GRUNDFOS Pumps Corpora-tion 17100 West 118th Terrace Olathe, Kansas 66061
- Phone: +1 913 227 3400
- Telefax: +1 913 227 3500
























