Amphenol Industrial AI-13 RadCrim Solar Spiral Connector Instruction Manual
Safety
- The connector must be isolated and disconnected from the power supply during the assembly or disassembly process.
- The connector is considered to be in compliance with UL 6703 only when assembled in the manner specified by assembly instructions.
- Amphenol declines any liability in the event of failure to comply with this assembly instruction.
- Please be aware that this 3rd Party laboratory test is just a reference for application. It is the customer’s responsibility to validate connector durability in system function at specific and extreme environment conditions, we recommend customer to consider a margin in actual applications with high current situations that can lead to overheating.
- Amphenol warns customers and users to avoid exposure of chemical substances in the connector application
environment. Chemical compatibility of thermoplastics e.g. Lexan polycarbonate is dependent on contact time,
temperature, concentation and stress (external stress to which the application is subjected to). Chemical exposure can result in discoloration, softening, swelling, cracking or loss of properties of the thermoplastics. DO NOT allow the connectors contact any chemicals including below but not limited as they may cause stress cracking. Grease, Oils, Mold Release Agent, Binder, Alcohols, Fatty hydrocarbons, Acid, Aromatic hydrocarbon, Ketones, Halogenated hydrocarbon, Organic solvents including, Gasoline, Kerosene, Ethyl acetate and others, Cleaning agrents. Detailed refer to file. See file WI-S047-ENG (Chemicals exposure check list). The list of chemicals provided by Amphenol does not include all chemicals that may appear in the production and subsequent use of customers. Customers are requested to verify their impact on products and take corresponding risk management measures for chemical contamination. Amphenol does not accept any return requests for products contaminated with chemicals.
Technical Data
| Rated voltage | 1500V DC |
| Rated current | UL (UL6703) 20A (12AWG) 30A (10AWG) |
| Protection degree | IP68 when terminated (1m@1H) |
| Safety class | II |
| Operation Temperature Range | 40°C to +85°C |
| License Holder | Amphenol Industrial Operations |
| Full Address | 20 Valley Street, Endicott, New York 13760-3600, USA |
Connector and Tool Selection
Connector Part Number Logic Code
| Product Line | Product Type | Terminals – Cable Size | Contact |
| AMPV Amphe-PV | STS Spiral Termination Splice | 4 mm2/12AWG & 6mm2/10AWG | M Machining Terminal |
Tools List
Strip tool for 4/6mm2 PV cable: H4TS0000
Wrench tool: AMPVTW0001
Assembly Process of Connector
Applicable Cable Selection
- Only suitable for the PV cable with copper conductor. Pre-tinning of conductors is recommended.
- The cable OD is Ø6.0mm to Ø7.4m, the number of conductor strands is 7 to 67 for 12AWG and 7 to 52 for 10 AWG.
- This connector is only suitable for cables with UL 4703 certification
- This connector is suitable for use only with Class B and C stranded copper conductors (See NFPA NEC 70 Chapter 9, Table 10)”. If the connector is found to be suitable for use with other stranding classes, the connector shall be marked with those class conductors. See the Standard for Wire Connectors, UL 486A-486B.
Cable Strip
Stripping Length
Strip PV Wires 1.25″ (32mm)
Note:
- DO NOT TWIST OR TIGHTEN CONNECTOR UNTIL INSTURCTED TO DO SO.
- If using a PV Wire with a strand count greater than 7, twist stripped wires together to form a Straight and concentric group of wires.
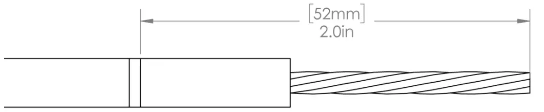
Mark the insert depth
Mark conductor sheathing at 2″ (52mm) from stripped end. Do not cut into cable for marking purposes
Insert Table
Remove Sealing Caps, Sealing Glands and Collet and slide it onto the PV wire before inserting the PV wire into the connector.
Carefully insert stripped PV Wires into BOTH ends of the connector.
Note:
a. Mark on sheathing should line up closely with the end of the threads on the Ratcheting End Cap.
b. Be mindful to not bend the conductor strands upon insertion.
c. Keep the stripped wire straight and insert the wire slowly. There should be little to no resistance when inserting
the wire, which indicates the wire was inserted cleanly into the spiral terminal.
Caution:
If step 4.3.2 is not followed accordingly and the wire is not fully inserted, the spiral contact will not terminate properly as shown below.
Tighten the sealing cap
Tighten BOTH Racheting End Caps by hand in clockwise direction
Re-install Sealing Gland, Collet and Sealing Caps. Lightly tighten the Sealing Caps by hand.
Using a Calibrated Torque Wrench and either a 3/4″ or 20mm crows foot adapter, tighten BOTH of the Racheting End Capts to the EXACT specified torque shown in the table below. Or using wrench tool AMPVTW0001 to tighten the two Racheting End Caps.
| Ratcheting End Cap Torque | |||
| PV Wire | Torque | ||
| Lbf-in | Lbf-ft | Nm | |
| 12 AWG | 18 | 1.5 | 2 |
| 10 AWG | 18 | 1.5 | 2 |

Tighten BOTH Sealing Caps completely by hand or to the following torque specifications. Or using wrench tool
AMPVTW0001 to tighten the two Sealing Caps.
| Sealing Cap Torque | |||
| PV Wire | Torque | ||
| Lbf-in | Lbf-ft | Nm | |
| 12 AWG | 12 | 1 | 1.4 |
| 10 AWG | 12 | 1 | 1.4 |
Disassembly of connector
If connector must be removed from installation for any reason, uninstall using the following instructions.
Caution:
DO NOT DISCONNECT UNDER LOAD
- Loosen Sealing Caps completely from connector.
- Using any available tool, (i.e. 20mm or 3/4″ end wrenches, crows foot adapter or channel lock pliers), hold the body with one tool and turn EITHER Ratcheting End Cap with the other in a COUNTER-CLOCKWISE rotation until the spiral contact releases.
- Pull the PV wire out of the ends of the connector.
- DISPOSE OF CONNECTOR, THE AMPV IS A ONE TIME USE ONLY CONNECTOR.
- Storage Requirement
We recommend that you store connector components at a temperature between -30°C to +60°C and with a relative humidity of less than 70%. The components must not be exposed to moisture due to direct rainfall, condensation, etc. Ensure the individual components do not come into contact with acids, alkalis, gases, acetone or any other chemical substance that could impact the material’s use. The connector can be stored for two years if these conditions are met. - REVISION RECORD
REV Description Date Name A First Release Oct 28, 2021 Johnny Wang
( Prepared by ) : ————————-
( Checked by ) : ————————-
( Date ) : ————————-
( Date ) : ————————-

















