ATEC ADT282 Dual-Channel Reference Thermometer Readout
Safety Instructions
Warning
To prevent the user from injury, please follow this user manual for use. To prevent fire, electric shock or personal injury, please do as follows:
General
- Please read the user manual before using the product;
- Before using the product, please check the appearance of the product to ensure there is no damage;
- Please refer to the operation steps in the manual when using the product;
- If the product is damaged or malfunctions, please do not use it and contact Additel;
- Never use the product in an explosive, steam or dust environment.
Electrical
Before using the product, please make sure that the power supply is connected correctly, and the installation is done properly.
Attention:
To prevent injury, please obey the instruction manual for use To prevent damage, please do as follows:
- Do not use the instrument in a high vibration environment;
- If the product is abnormal, please stop using it and contact with Additel.
Introduction
General Introduction
ADT282 Reference Thermometer Readout delivers the best possible accuracies and features in the palm of your
hand! With accuracy capabilities on par with laboratory grade thermometers, the ADT282 is capable of handling even your most critical measurements. This ultra-high precision readout features dual analog channels designed to facilitate comparison measurements and meet all your temperature measurement needs. The easy-to-use touchscreen makes navigating the well-designed menus a time saving and enjoyable experience. The Lemo style smart connectors help to ensure that your probe calibration information is never in question. The ADT282 Reference Thermometer Readout helps makes metrology simple and will quickly become your new go-to when reliable temperature measurements are necessary.
Technical Specification
General Technical Specifications
| Display | 5.0 inch 480*800TFT LCD capacitive screen |
| Dimensions | 16.97″ x 4.13″ x 2.04″ (177 mm x 105 mm x 52 mm) |
| Weight | 1.5 lbs. (0.65 Kg) |
| Power Supply | 6600mAh, 23.8Wh lithium battery, charging time 4~6 hours, battery pack can be charged
independent. Battery life typically 16 hours |
| Environment | Specification guaranteed temperature range: (10~30)℃ Working Temperature: (-10~50)℃ Storage temperature: (-20~70)℃ Humidity: 0 % ~ 95% RH, non-condensing Maximum altitude: 3000m |
| Warm-up Time | After 10 minutes of booting, specifications can be reached |
| Ports Protection Voltage | 50Vmax |
| CE Certificate | TUV IEC61326, IEC61010 |
| Rohs Compliance | Rohs II Directive 2011/65/EU, EN50581:2012 |
| IP Protection Level | IP67, 1 meter drop test |
| Communication | Isolate USB-TYPE C (slave), Bluetooth BLE |
| Input Channels | CH1, CH2 analog channel, 6 pins smart Lemo ports for RTD probe;MINI-TC ports for TC probe |
| Measurement Display | Single channel, dual channel, differential (e.g., T1-T2) |
| Measuring Rates | § CH1, CH2 analog channels alternately and cyclically measure
§ RTD measuring rate: 1.6S/single channel, 1.6S/dual channel
§ TC measuring rate: 0.8S/single channel, 0.8S/dual channel |
| Measurement Units | °C,°F, K |
| Statistics | Max, Min, Avg |
Technical Specifications of Signal Measurement (Environment Temperature: 20±10℃, 1 year accuracy)
| Signal types | Range | Resolution | Accuracy |
| RTD | 0~400Ω | 0.1mΩ | ±0.5mΩ@(0~20Ω), ±25ppm@( 20~400Ω) |
| TC | -10~75mV | 0.1uV | 50ppmRDG+2uV |
| Internal CJC | NA | NA | ±0.15℃(-10℃~50℃ Guarantee specification) |
Notes:
- When the environmental temperature is (-10~+10)℃ and(30~50)℃,the temperature coefficient is:
- RTD measurement: ±2ppmFS/℃。
- TC measurement: ±5ppmFS/℃。
- RTD measurement excitation: 4 wires measurement, Constant current commutation, Excitation current: 1mA.
RTD Measurement
| RTD Types | Temperature(℃) | 1 Year Accuracy(℃) | |
|
PT10(385) |
-200~850 | -200~200 | 0.014 |
| 200~600 | 0.024 | ||
| 600~850 | 0.033 | ||
|
PT25(385) |
-200~850 | -200~200 | 0.012 |
| 200~600 | 0.024 | ||
| 600~850 | 0.033 | ||
|
PT50(385) |
-200~850 | -200~200 | 0.012 |
| 200~600 | 0.024 | ||
| 600~850 | 0.033 | ||
| PT100(385) PT100(391) PT100(3916) PT100(3926) |
-200~850 | -200~200 | 0.012 |
| 200~600 | 0.024 | ||
| 600~850 | 0.033 | ||
| Cu10(427) | -200~260 | -200~260 | 0.013 |
| Cu50(428) | -50~150 | -50~150 | 0.010 |
| Cu100(428) | -50~150 | -50~150 | 0.010 |
| Ni100(617)
Ni100(618) | -60~180 | -60~0 | 0.005 |
| 0~180 | 0.007 | ||
| Ni120 (672) | -80~260 | -80~260 | 0.007 |
Notes:
- Conforms to the ITS90 international temperature standard, determined by the maximum tolerance of the RTD measurement, excluding the accuracy of the probe;
- After connecting the probe, the combined accuracy can be calculated directly after the RSS (root-sum-square) of the probe accuracy and RTD measurement accuracy;
- Additel provides short SPRT PT100 probes.
TC Measurement
| TC Types | Temperature Range(℃) | 0℃ CJC compensation 1 Year Accuracy(℃) | Internal CJC compensation 1 Year Accuracy(℃) | |
|
S |
-50~1768 | -50~0 | 0.51 | 0.53 |
| 0~100 | 0.37 | 0.40 | ||
| 100~1768 | 0.28 | 0.32 | ||
|
R |
-50~1768 | -50~0 | 0.54 | 0.56 |
| 0~200 | 0.38 | 0.41 | ||
| 200~1768 | 0.25 | 0.29 | ||
|
B |
0~1820 | 200~300 | 1.01 | 1.02 |
| 300~500 | 0.66 | 0.68 | ||
| 500~800 | 0.41 | 0.44 | ||
| 800~1820 | 0.28 | 0.32 | |||
|
K |
-270~1372 | -250~-200 | 0.48 | 0.50 | |
| -200~-100 | 0.15 | 0.21 | |||
| -100~600 | 0.08 | 0.17 | |||
| 600~1372 | 0.14 | 0.21 | |||
|
N |
-270~1300 | -250~-200 | 0.76 | 0.77 | |
| -200~-100 | 0.22 | 0.27 | |||
| -100~1300 | 0.12 | 0.19 | |||
|
E |
-270~1000 | -250~-200 | 0.26 | 0.30 | |
| -200~-100 | 0.10 | 0.18 | |||
| -100~700 | 0.06 | 0.16 | |||
| 700~1000 | 0.08 | 0.17 | |||
|
J |
-210~1200 | -210~-100 | 0.13 | 0.20 | |
| -100~700 | 0.06 | 0.16 | |||
| 700~1200 | 0.10 | 0.18 |
|
T |
-270~400 | -250~-100 | 0.36 | 0.39 | |
| -100~0 | 0.08 | 0.17 | |||
| 0~400 | 0.05 | 0.16 | |||
|
C |
0~2315 | 0~1000 | 0.16 | 0.22 | |
| 1000~1800 | 0.26 | 0.30 | |||
| 1800~2315 | 0.42 | 0.45 | |||
|
D |
0~2315 | 0~100 | 0.21 | 0.26 | |
| 100~1200 | 0.16 | 0.22 | |||
| 1200~2000 | 0.27 | 0.31 | |||
| 2000~2315 | 0.42 | 0.45 | |||
|
G |
0~2315 | 50~100 | 0.60 | 0.62 | |
| 100~200 | 0.38 | 0.41 | |||
| 200~400 | 0.24 | 0.28 | |||
| 400~1500 | 0.16 | 0.22 | |||
| 1500~2315 | 0.32 | 0.35 |
|
L |
-200~900 | -200~-100 | 0.07 | 0.17 | |
| -100~400 | 0.06 | 0.16 | |||
| 400~900 | 0.07 | 0.17 | |||
| U | -200~600 | -200~0 | 0.14 | 0.21 | |
| 0~600 | 0.05 | 0.16 | |||
| LR | -200~800 | -200~0 | 0.09 | 0.17 | |
| 0~800 | 0.06 | 0.16 | |||
|
A |
0~2500 | 0~1200 | 0.20 | 0.25 | |
| 1200~2000 | 0.33 | 0.36 | |||
| 2000~2500 | 0.48 | 0.50 |
Notes:
- Conforms to the ITS90 international temperature standard, determined by the maximum tolerance of the TC mV measurement, excluding the accuracy of the probe;
- After connecting the probe, the combined accuracy can be calculated directly after the RSS (root-sum-square) of the probe accuracy and RTD measurement accuracy;
- Additel provides standard S-type TC probe with MINI-TC connector.
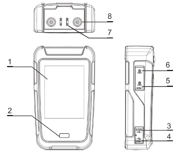
Basic Structure

| No. | Part Name | Description |
| 1 | Display | Touchable display and capacitive screen |
| 2 | Power button | For switch on/off. |
| 3 | USB slave port | For USB connection. |
| 4 | Adapter port | For power supply. |
| 5 | Lemo style port B | Unusable yet, reserved for future development. |
| 6 | Lemo style port A | Unusable yet, reserved for future development. |
| 7 | Mini TC sockets | To connect mini-TC cable for TC measurement |
| 8 | RTD measurement sockets | To connect RTD probed for measurement |
Power Supply
Smart lithium battery or external power adaptor power supply
- The smart lithium battery can be charged independently by using the power adaptor
- The power adapter quickly adapts to various countries power plugs

Display and functions
Main Display
The main operational interface is divided into three parts from top to bottom. The top section is the status bar, the middle section is the APPs list, and the bottom section is the main function navigation. (Figure 2-1)
- The status bar includes time and date, battery status, lock screen status, Bluetooth and message control center.
Note: Click the status bar to enter the control center to view and control multi-function projects. - The APPs list shows all applications provided by the device, including data logging, pressure unit converter, temperature converter and sensor library.
- The Main function navigation section provides access to three main functions at the bottom of the screen: Dual-Channel Thermometer Readout, Data Management and System Setup.

Screen Lock and Unlock
Lock screen: Click the status bar to enter the control center, you can click
to lock the current screen to avoid accidental operations. When the screen is locked, the icon
will be displayed in the status bar, and all operations are greyed out and prohibited on the screen.
Unlock screen: When the screen is locked, click the status bar to enter the control center to unlock the screen.
Dual-Channel Thermometer Readout
Dual-Channel Thermometer is one of the main functions of the device (figure 4). It can measure RTD and TC, both channels can be displayed at the same time, each channel measures a signal separately.
The measured signal value of the channel is displayed in the middle of the channel in real time, and the current signal type information is displayed on the upper left. Click the icon to switch the signal type. Click the menu icon
in the upper right corner to set the current channel in the pop-up menu. Click the zeroing icon
(when the channel supports it) to perform the zeroing operation on the current channel. If the signal type selected in the channel has multiple values for display (for example, when measuring TC, in addition to the temperature value, there are also the original mV signal value and the cold junction temperature value), then the channel will also display the main signal value. Other signal values are shown below.
The icons
and
in the upper right corner indicate whether the current temperature measurement channel is open and being displayed, click these icons to open or close the corresponding channel.
TC Measurement
There are 2 mini-TC sockets on the top of the unit, corresponding to two different channels. After connecting the TC to the device, click the type switch menu
or
of the corresponding temperature channel and select the TC to execute the TC measurement function.
TC Measurement Setup
Click “Setup” in the TC measurement menu to enter the TC setup. The following parameters can be set in this menu.
| Menu Selection | Effective value | Description |
| TC types | mV/TC sensors | Choose the TC sensors |
| Cold junction type | Internal/External/Custom | Choose the mode of cold junction. Built-in cold junction of device is used for Internal mode. |
| External cold junction compensation range | -80~300℃ | Apply to external cold junction mode. |
| Temperature unit | K/℉/℃ | Choose temperature unit |
| Resolution | 0/0.1/0.01/0.001 | Number of displayed decimal places |
RTD Measurement
There are 2 Lemo style RTD measurement sockets on the top of the unit for connecting RTDs. After connecting the RTD to the device, click the type switch menu
or
of the corresponding temperature channel and select the RTD to execute the RTD measurement function.
RTD Measurement Setup
Click “Setup” in the RTD measurement menu to enter the RTD setup. The following parameters can be set in this menu.
| Menu Selection | Effective value | Description |
| RTD Types | Ω/RTD sensor types | Choose the RTD sensors |
| Temperature unit | K / ℉/ ℃ | Choose temperature unit |
| Resolution | 0/0.1/0.01/0.001 | Number of displayed decimal places |
Filter
The ADT282 Dual-Channel Thermometer Readout provides two filtering methods: first-order linear filtering and average filtering to meet the needs of different usage scenarios. Click the menu icon
of measurement channel to select the filter menu icon
in the pop-up menu and the filter setup interface will be displayed. (Table 9)
| Menu Selection | Valid Value | Description |
| Enable/disable | Enable/disable | Set filter enable |
| Method | First-order filter/Average filter | Select filter method |
| Coefficient | 0.01~1 | Only available for first-order filter |
| Number of filter samples | 1~100 | Only available for average filter |
| Number of extremum pairs | 0~10 | Only available for average filter |
Zeroing
mV and resistance signals provide short-circuit zeroing operation to eliminate zero-point drift. The allowable zeroing range is 1% FS.
Statistics
Click the menu icon
in the measurement channel and select the statistics menu in the pop-up menu, the maximum value Max, minimum value Min and average value Avg of the data will be displayed on the bottom of the channel display. Click the reset icon
on the top of the channel to reset the statistics.
System Settings
In the main screen of the device, click the system settings button
at the bottom right to enter the system settings interface. This page contains Bluetooth, power management, service, personalization, and about product.
Bluetooth
The calibrator has the Bluetooth communication function. Click the “Bluetooth” menu in the system setting interface to enter the Bluetooth communication setting interface. The Bluetooth communication setting interface provides the enable and disable of the Bluetooth communication function and the query function of the Bluetooth device name and physical address.
Power Management
Display Brightness
The LCD display brightness of the calibrator can be modified by adjusting the brightness progress bar.
Battery Information
This option displays the current battery connection status and information.
Auto Backlight Off
- If there is no button activity or communication command operations within the set time, the backlight brightness will be set to the lowest automatically;
- Backlight time can be set to: Never, 30 seconds, 1 minute, 5 minutes, 15 minutes, and 30 minutes.
- After the backlight is turned off, the first operational touch will restore the backlight to normal brightness, then, the subsequent touches will take effect normally.
Auto Sleep
- If there is no button activity or communication command operation within the set time, the backlight will be turned off automatically and start the auto sleep feature After the set time is up, the unit will go into the sleep status;
- The auto sleep timer can be set to: Never, 1 minute, 5 minutes, 15 minutes and 30 minutes.
- When using the power adapter for a power, the unit will never sleep;
- When the unit is running a data logging session, it will not sleep.
- If the backlight time is set to never, then the automatic sleep time setting is invalid.
Auto power off
- If there is no button activity or communication commands detected within the set time, the backlight will turn off, and the automatic shutdown timing will start after the start of auto sleep. After that time is up, the unit will be power off automatically.
- The auto power off timer can be set to: Never, 5 minutes, 15 minutes, 30 minutes, 1 hour and 2 hours.
- When using the power adapter for a power supply, it will not power off automatically;
- When the unit is running a data logging session, it will not power off automatically.
- If the backlight time is set to never, then the automatic power off time setting is invalid.
Service
Calibration
Click the “calibration” menu in the system setting interface and input the calibration password “123456” in the pop-up box to enter the system calibration interface. All the measurement signals in the device can be calibrated in the system calibration interface. The calibration process is as follows:
- Select the item to be calibrated in the items list.
- Use a high-precision standard device, after fully warming up, follow the calibration guide in the interface and click the “Start” button to start the calibration.
- According to the reference calibration point provided on the system, select the appropriate standard value and enter it.
- Click the “Finish” button to write the calibration data into the system to complete the calibration.
- Click the “Restore” button at the bottom left of the calibration interface to restore the field calibration data of the device.
Maintenance
A password is required to access to this function. The factory default password is 123456.
- Maintenance records: The maintenance information can be viewed and edited.
- Calibration records: The calibration records can be viewed here.
- Operation information: The atmospheric pressure, motherboard and battery information.
- Error log: The error records can be viewed here.
Factory Reset
A password is required to enable this function. The factory default password is 123456.
- Restore the factory will not delete the system calibration data.
Personalization
System Sound
The volume of the Dual-channel Thermometer Readout can be modified by adjusting the volume progress bar. In addition, the prompt tone can also be configured. (Table 10)
| Menu Selection | Valid value | Description |
| Touch-tone | On/off | Set the touch-tone |
| Beep | On/off | Set the beep |
| Over-range beep | On/off | Set the over-range beep |
| Snapshot beep | On/off | Set the snapshot beep |
| Stable beep | On/off | Set the stable beep |
Language
The device provides multi-languages which can be selected through this menu.
After the language is selected, the device needs to be rebooted for the change to take effect.
Date & Time
The data and time and format can be set as need, see Table 11.
| Menu Selection | Valid value | Description |
| Date | 2020-1-1 ~ 2048-12-31 | Date setting |
| Time | 00:00 ~ 23:59 | Time setting |
| Date format | year-month-day / month-day-year / day-month-year | Date format setting |
| Delimiter | -,/,. | Delimiter setting |
| Time zone | UTC±00:00~12:00 | Time zone setting |
| 24 hours setting | Enable | Enable 24-hour display settings |
About Product
Product information is read-only information, including basic information, version information and operating information:
- Basic Information: including product model, serial number and system version information.
- Module Information: including Bluetooth and temperature board version.
Data Management
The data Management menu is classified and managed by different functional modules, and the data saved by each function is managed in the corresponding folder, which is convenient for users to review.
- The types of data files that can be saved include: Snapshot and Data Logger.
- Users can delete data files in batches.
APPs
Temperature Converter
The Dual-channel Thermometer Readout also provides a temperature converter application for various industrial
RTDs, TCs, and custom sensor types, which can easily convert between temperature and electrical signals for different
sensors.
Sensor Library
To meet the needs of user’s sensor types, the unit provides a sensor library function. Users can define new senor types according to their needs and set parameters in the sensors. The sensor library supports four types of custom sensors: ITS-90, CVD, Custom RTD and Standard TC.
Data Logger
The Thermometer Readout provides a data logging function. Users can set channels parameters for data logging. After editing the sampling settings, click the start icon again to start data logging. The settings are shown in Table 12.
| Subject | Valid value | Description |
| Logging interval | 0.5~100 | Data logging interval time |
| Logging points | 2~100000 | Number of logged data |
| Logging time | 1~10000000 | Logging Duration |
Temperature Unit
Users can calculate the temperature in 3 different temperature units, ℃, K and °F.
Temperature Differential
The Readout provides a Temperature differential function. Users can calculate the temperature differences between 2 channels with this function.
Additel Corporation
2900 Saturn Street #B
Brea,CA 92821 USA
Phone: 714-998-6899
Email: [email protected]
website: www.additel.com























