INSTRUCTION MANUAL
Electronic Thermometer
AET-F341/ AET-F342/AET-F343
Version:1.0
Date modified: 2022-09-29
0123
Please read this instruction manual before use
Intended use/ Indications For Use
The Electronic Thermometers are intended to measure human body temperature under the arm. The devices are reusable for clinical or home use on people of all ages.
Contraindications: no.
Intended users: Trained and qualified professionals and lay person.
Intended use environment: Clinics and home.
Before start
- For safe and proper use of this product, be sure to read and fully understand Safety Precautions contained in this user manual.
- Keep this manual with you for a convenient reference.
- Keep this manual in a proper way and avoid any loss.
- If you need other information, please contact the manufacturer.
PRODUCT INFORMATION
Product name: Electronic Thermometer , Product model: AET-F341, AET-F342, AET-F343, Software version: A.01.00.00
Standard: The product is made under the ISO80601-2-56.
Manufacturer
Company name: Alicn Medical Shenzhen, Inc
Address: Room 410, Building A, 3rd Sub-park, Leibo Zhongcheng Life Science Park, No. 22 Jinxiu East
Road, Jinsha Community, Kengzi Street, Pingshan District, 518118 Shenzhen, Guangdong, PEOPLE’S REPUBLIC OF CHINA
Web: www.alicn-med.com
Tel: +86 755 26501548 Fax: +86 755 26504849
Email: [email protected]
Authorized European Representative
Company name: CMC Medical Devices & Drugs S.L.
Address: C/ Horacio Lengo Nº 18, CP 29006, Málaga, Spain
Web: www.cmcmedicaldevices.com
Tel: +34951214054
Email: [email protected]
4. CLASSIFICATION
- Internally powered equipment;
- Type BF applied part;
- IP classification: IP65;
- Disinfection of 70% medical alcohol;
- Not Category AP / APG equipment;
- Mode of operation: continuous operation.
SAFETY PRECAUTIONS
- Warning marks and symbols are contained for your safe and proper use of this product and prevention of any injury to you and others.
- See Table below for description of warning marks and symbols:
| Means a possibility of personal injury in case of improper use. | |
| Means a possibility of personal injury or property damage in case of improper use. |
【* Property damage covers any damage to house, family property, domestic animal and pet. 】
Explanation of Marks or Symbols
The following symbols may appear on the manual, Electronic Thermometer and its accessories.
| PROHIBITION: Means Forbidden with detailed items expressed in words or figures within or beside the mark. Left one means General Forbidden. | |
| MUST OBSERVE: Means Obligatory with detailed items expressed in words or figures within or beside the mark. Left one means General Compulsory. | |
| Follow instructions for use | |
| Type-BF applied part. | |
| Caution: Consult accompanying documents. | |
| Disposal: Do not dispose this product as unsorted municipal waste. Collection of such waste separately for special treatment is necessary. | |
| Transport package shall be kept away from rain. | |
| Transport package shall not be exposed to sunlight. | |
| Indicates correct upright position of the transport package. | |
| Contents of the transport package are fragile therefore it shall be handled with care. | |
| Indicates temperature limits within which the transport package shall be stored and handled. | |
| Lot number | |
| Product number | |
| The device should not be used after the end of the shown or the day | |
| Manufacturer | |
| Authorized Representative in the European Community | |
| CE Mark: indicates that the device complies with the EU 2017/745 | |
| Dust-tight, protected against water jets. | |
| Medical Device | |
Unique device identifier UDI template: Vor.:0141: (01):DI(Device Identification) (17) :Expiration Date (11):Production Date (10) :Lot Number (21) :Serial Number |
Warning
Do not use the thermometer under temperature extremes (below 5℃/41℉ or over 40℃/104℉) or humidity extremes (below 15%RH or over 80%RH).
* Failing to do so may cause inaccuracy.
Do not expose the thermometer to temperature extremes (below -20℃/-4℉ or over 55℃/131℉) or humidity extremes (below 15%RH or over 93%RH).
* Failing to do so may cause inaccuracy.
Temperature probe has been shocked and lax.
*Contact your retailer immediately.
It is dangerous for patients to perform a self-evaluation and self-treatment based on the measuring results. Be sure to follow doctors’ instruction.
* A self-evaluation may cause deterioration of diseases.
Clean a polluted temperature probe with a soft dry cloth in a gentle manner.
* Clean with toilet tissue or paper towel may scratch the temperature probe, causing appearance.
Install the battery in the right position according to the manual.
* Incorrect replacement will cause battery heat.
Do not immerse the thermometer in liquids.
*This instrument is not waterproof.
The user must check that the equipment functions safely and see that it is in proper working condition before being used.
Do not use a mobile phone nearby when the thermometer is working.
*Portable and mobile RF communications equipment can affect MEDICAL ELECTICAL
EQUIPMENT. Falling to do so may cause inaccuracy.
The probe is made from metal material which is not easy broken.
*If there is any damage, stop using it and contact the retailer immediately.
Do not modify this equipment without authorization of the manufacturer.
*Contact the retailer immediately.
The device is not repairable and contains no user serviceable parts.
*If there is any problem, contact the retailer immediately.
The device requires no calibration.
*If there is any problem, contact the retailer immediately.
No modification of this equipment is allowed.
*If there is any problem, contact the retailer immediately.
If this equipment is modified, appropriate inspection and testing must be conducted to ensure continued safe use of the equipment.
*If there is any problem, contact the retailer immediately.
The operator shall not touch the thermometer and the patient simultaneously.
Keep the machine out of children’s reach.
* For accidental swallow of battery or protective film, please consult the doctor at once.
Don’t throw batteries into fire.
* Battery is likely to explode in fire.
Recommendations
- Don’t use the product for other purposes.
- The patient can use and maintenance the device as an operator.
- Children less than 11 years old use this unit must be accompanied by adult.
- It is not waterproof device. Clean it only with damped cloth gently.
- It is forbidden to leave the product exposed to any chemical solvent, direct sunshine or high temperature.
- Don’t drop, tramp or impose any vibration or impact on the product.
- Take out the battery of charging box if you are not going to use the unit for a long period of time.
Disposal
Do not dispose of electrical appliances as unsorted municipal waste, use separate collection facilities. Contact you local government for information regarding the collection systems available. If electrical appliances are disposed of in landfills or dumps, hazardous substances can leak into the groundwater and get into the food chain, damaging your health and well-being.
Important Safety Instructions
- This instrument may only be used for the purposes described in this booklet. The manufacturer cannot be held liable for damage caused by incorrect application.
- Never immerse this instrument in water or other liquids. For cleaning please follow the Instructions in the Cleaning and Disinfecting section.
- Do not use the instrument if you think it is damaged or notice anything unusual.
- Never open the instrument.
- The device is not suitable for use in the presence of flammable anesthetic mixtures with air or with oxygen or nitrous oxide.
- A basic physiological effect called vasoconstriction can occur in the early stages of fever, resulting in a cool skin effect. The recorded temperature using this thermometer can, therefore, be unusually low.
- If the measurement result is not consistent with the patient’s finding or unusually low, repeat the measurement every 15 minutes or double check the result by another core body temperature measurement.
- This instrument comprises sensitive components and must be treated with caution. Observe the storage and operating conditions described in the Technical Specifications section.
- Ensure that children do not use the instrument unsupervised; some parts are small enough to be swallowed and suffocated.
- Protect it from:
− extreme temperatures
− impact and dropping
− contamination and dust
− direct sunlight
− heat and cold - If the instrument is not going to be used for a prolonged period the batteries should be removed.
_ WARNING: Use of this instrument is not intended as a substitute for consultation with your physician.
This instrument is NOT waterproof so do not immerse in liquids.
Unit description

Display

Bluetooth indicator: the Bluetooth connection is successful with displayed .
Memory symbol:it shows in memory query mode currently.
Battery symbol: When the power is low, the symbol will prompt you to charge or replace the battery.
Temperature unit:display ℃.
Temperature value:display the temperature value when query memory or measuring is completed.
Correct Measurement Posture
Place the thermometer probe in the center of the armpit, make it touch the skin, push it up slightly, and clamp it with your arm; keep your arm close to your body during the measurement to ensure that the thermometer probe is fully covered and not affected by air.
Note:
- Keep the armpit closed for more than 5 minutes before measurement to make the result more accurate.
- Please wipe the sweat under the armpit before measuring the temperature.

Directions for Use
- Take the thermometer out of the charging box.,and the thermometer will turn on automatically after vibration. Start measuring mode when ―—‖ appears on the screen.
Note: if the thermometer is not placed in the charging box, and it is power off, you can turn on the thermometer with shaking, start measuring mode. - Measurement Mode Selection
2.1Fast Measurement ( prediction )
Place the thermometer probe under the armpit for measurement, and the measurement will be completed in about 15s. The thermometer will vibrate and display the measurement result. At this time, you can read the temperature value, as shown below:
2.2、Accurate measurement (actual measurement)
Don’t remove the thermometer when the fast measurement is completed, after about 15s it will enter the accurate measurement mode to continue the measurement, and the accurate measurement will be completed in 8 minutes, the thermometer will vibrate and display the measurement result. At this time, you can read the temperature value.
2.3、Measurement ResultTemperature value Display Prompt/Vibrations T<32.00°C Lo °C Two times 32.00sT<37.50°C Measurement data Two times 37.50sTs43.00°C Measurement data and the temperature unit is orange Four times T>43.00°C Hi °C Two times - After the measurement is completed, shaking the thermometer to enter the measurement mode again, the screen appears “—-“.
- The thermometer is removed from the armpit and held stationary for about 20s, then the screen goes out and the measurement result will be displayed again when the thermometer is moved.
- Put the thermometer into the charging box and enter the charging state. It will be shut down automatically within 3min out of use.
Note: (1) If you need a more accurate measurement of body temperature, please take the actual measurement
(2) If you need to measure again, please wait one minute.
NOTE
- The Electronic Thermometer have a adjusted mode and direct mode.
- Patients and thermometer should stay in steady state room condition for at least 30 minutes.
- Don’t take a measurement while or immediately after nursing a baby.
- Patients should not drink, eat, or exercise before/while taking the measurement.
- Don’t move the measurement device from the measuring area before hearing the termination beep.
- Use an alcohol swab to carefully clean the probe and wait for 15 minutes before taking a measurement on another patient.
- Always take the temperature in the same location, since temperature readings may vary according to location.
- In the following situations it is recommended that three temperatures are taken and the highest one taken as the reading:
1. Children under three years of age with a compromised immune system and for whom the presence or absence of fever is critical.
2. When the user is learning how to use the thermometer for the first time until he/she has familiarized himself/herself with the instrument and obtains consistent readings.3. If the measurement is surprisingly low. - Readings from different measuring sites should not be compared as the normal body temperature varies by measuring site and time of day, being highest in the evening and lowest about one hour before waking up.
Recall record
Power off with a successful measurement, and the last measurement value can be displayed when the next power on.
Access to the thermometer
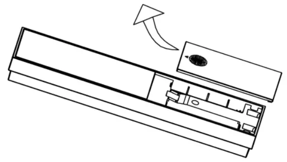
- Put the thermometer into the charging box after measuring with the charging port facing down, as shown below.

- Gently press the end near the display screen to get the thermometer ,as shown below.

Charing mode
- Turn the thermometer on,if the “
” appears on the screen , or there is no display, also no display after shaking the thermometer, please put it back into the charging box to charge.
- Put the thermometer into the charging box to charge, the
appears on the screen and flashes until it is fully charged.

Note:
(1) When the first time to use the battery, ensure that the battery has gone through at least two complete optimization cycles. A complete optimization cycle is: uninterrupted charge, and then discharge until the thermometer runs out of power and turns off. Batteries should be regularly optimized during use to maintain their service life. It is recommended to optimize the battery every two months of use or storage, or when the battery runs significantly less. (2) Battery life depends on the frequency and time of use. If the battery power supply time is unusually reduced, please replace the battery or contact maintainer. (3) In extreme conditions, the battery may leak corrosive fluid. If this comes into contact with eyes or skin, rinse immediately with water and seek medical attention.
Replace battery of Charging box
When the thermometer is placed in the charging box, if the “
” is orange, or there is no display, please replace battery for charging box. The steps are as follows: Step1: Press and hold the battery cover, and push it in the direction shown below to remove the battery cover.

Step2: Install 2*AAA batteries, and pay attention to the positive and negative electrodes of the charging box.

Step3: Close the battery cover as shown below.

Note: use the same type or brand of battery, please pay attention to the positive and negative directions when installing the battery. Remove the battery if non-use for a period of time(more than one month).
Error Messages
| Error message | Solution |
| No respond (Cannot power on) | No power, please charge or replace new batteries. |
| No respond with shaking | No power, please charge or replace new batteries. |
| Low battery, please charge the thermometer . |
| The | Low battery, please replace new batteries. |
| Hi℃ | The measurement temperature is higher than 43.00℃ or 109.40℉. |
| Lo℃ | The measurement temperature is lower than 32.00℃ or 89.60℉. |
| Err | Sensor abnormal, contact your retailer. |
| Er℃ | The measurement is not completed, please remeasure. |
Care and Cleaning
Cleaning
The device surface should be cleaned immediately after use at room temperature as below:
- Temperature probe:
To clean the probe, gently wipe its surface with a cotton swab slightly moistened with Ethanol 96% during 15s and immediately wipe dry with a clean cotton swab during 20s. After cleaning, allow at least 5 minutes drying time before taking temperatures. Make sure temperature probe is clean and dry. Avoid touching the probe except when cleaning is required. If the probe is damaged, the thermometer must be returned to manufacture or distributor for service. - Thermometer and Charging box:
Use a soft cloth slightly moistened with Ethanol 96% to clean the thermometer or charging box display and exterior during 20s and immediately wipe dry with a clean soft cloth during 20s. After cleaning, allow at least 5 minutes drying time before taking temperatures. Make sure display and exterior is clean and dry. If the device is damaged, it must be returned to manufacture or distributor for service.
Disinfection
The device surface should be disinfected immediately after use at environment have risk infection as below:
- Temperature probe:
To disinfect the probe, gently wipe its surface with a cotton swab slightly moistened with isopropyl alcohol 70% during 20s and immediately wipe dry with a clean cotton swab during 25s. After disinfecting, allow at least 5 minutes drying time before taking temperatures. Make sure temperatureprobe is clean and dry. Avoid touching the probe except when cleaning is required. If the probe is damaged, the thermometer must be returned to manufacture or distributor for service. - Thermometer and Charging box:
Use a soft cloth slightly moistened with isopropyl alcohol 70% to disinfect the thermometer or charging box display and exterior during 30s and immediately wipe dry with a clean soft cloth during 35s. After disinfecting, allow at least 5 minutes drying time before taking temperatures. Make sure display and exterior is clean and dry. If the device is damaged, it must be returned to manufacture or distributor for service. - Inspect the device surface to ensure the device is visibly clean.
NOTES:
- Do not use abrasive cleaning reagent or disinfectant solution.
- The product cannot be cleaned and maintained during use.
- If used for multiple patients, please perform necessary cleaning and disinfection,the step 1)to 2)should be repeated.
- Because different patients use it, it should be cleaned before or after each use.
- Don’t use other non-recommended methods to perform cleaning and disinfection.
- The product is non-waterproof, don’t use the abrasive cleaner to clean the product, don’t drop the thermometer in the water or other liquids.
- If the probe is damaged, contact the distributor or manufacturer.
- If the charging box damaged or lose, contact the distributor or manufacturer.
Storage
– Please store the thermometer within the temperature of -20℃-55℃; and make sure the relative humidity is within 15%-93%RH; the Atmospheric pressure: 70-106KPa
– Don’t leave the thermometer exposed to or at high risk of direct sunshine, high temperature, dampness, fine, flame, vibration or impact.
– Remove the battery for long time of no use.
– Always keep the thermometer out of reach of children.
Calibration
This product has been calibrated at the time of manufacture. If used according to the use instructions, periodic calibration is not required. If at any time, you question the measuring accuracy, please contact our service representative to get any supports.
Manufacturing date is given by the label number located on the device.
The thermometer is initially calibrated at the time of manufacture.
Guarantee
One-year warranty is available from purchasing date, excluding user-caused failures listed below:
- Failure resulted from unauthorized disassemble and modification.
- Failure resulted from unexpected drop during application or transportation.
- Failure resulted from operation away from proper instruction in User’s Manual.
Technical Specifications
| Device name | Electronic Thermometer |
| Model | AET-F341, AET-F342, AET-F343 |
| Measurement mode | Axillary mode It have a adjusted mode and direct mode. The adjusted mode is predictive measurement, and the direct mode is real measurement. |
| Measurement units | Celsius(℃) and Fahrenheit(℉) |
| Operating conditions | 5℃-40℃(41℉ to 104 ℉) , 15%RH-80%RH, 70kPa-106 kPa |
| Storage conditions | -20℃-55℃( -4℉ to 131 ℉), 15% RH -93% RH, 70kPa-106 kPa |
| Measuring site | Axillary |
| Reference body site | Axillary |
| Measurement range | 32.00℃-43.00℃(89.6℉-109.4℉) |
| Accuracy(Laboratory) | ±0.10℃ /±0.18℉ |
| Clinical repeatability | ≤±0.20℃(0.36℉) |
| Accuracy for clinical test | ≤±0.20℃(0.36℉) |
| Resolution of display | 0.01℃/0.01℉ |
| Memories recall | 1 measurement recall |
| High temperature hint | ≥37.50℃ (99.50℉) |
| Dimensions (Thermometer) | 134mm×11mm×7mm |
| Dimensions (Charging box) | 157mm×37mm×19mm |
| Weight (Thermometer) | About 5.5g |
| Weight (Charging box) | About 72g(without batteries) |
| Battery (Thermometer) | DC 3.7V li-ion battery, 20mAh |
| Battery (Charging box) | DC 3V, 2×AAA batteries |
| Switch off | Automatically switches off after 3 minutes |
| Product life | 5 years |
| Transient response time | 20s |
Included in delivery
Electronic thermometer
Instruction for use
Charging box
EMC information
Instructions for use
The ME EQUIPMENT or ME SYSTEM is suitable for home or environment.
Warning:Don’t near active HF surgical equipment and the RF shielded room of an ME system for magnetic resonance imaging, where the intensity of EM disturbances is high.
Warning: Use of this equipment adjacent to or stacked with other equipment should be avoided because it could result in improper operation. If such use is necessary, this equipment and the other equipment should be observed to verify that they are operating normally.
Warning: Use of accessories, transducers and cables other than those specified or provided by the manufacturer of this equipment could result in increased electromagnetic emissions or decreased electromagnetic immunity of this equipment and result in improper operation.‖
Warning:Portable RF communications equipment (including peripherals such as antenna cables and external antennas) should be used no closer than 30 cm (12 inches) to any part of the Electronic Thermometer, including cables specified by the manufacturer. Otherwise, degradation of the performance of this equipment could result.
If any:a list of all cables and maximum lengths of cables (if applicable), transducers and other
ACCESSORIES that are replaceable by the RESPONSIBLE ORGANIZATION and that are likely to affect compliance of the ME EQUIPMENT or ME SYSTEM with the requirements of Clause 7 (EMISSIONS) and Clause 8 (IMMUNITY). ACCESSORIES may be specified either generically (e.g. shielded cable, load impedance) or specifically (e.g. by MANUFACTURER and EQUIPMENT OR TYPE REFERENCE).
If any:the performance of the ME EQUIPMENT or ME SYSTEM that was determined to be ESSENTIAL PERFORMANCE and a description of what the OPERATOR can expect if the ESSENTIAL PERFORMANCE is lost or degraded due to EM DISTURBANCES (the defined term
―ESSENTIAL PERFORMANCE‖ need not be used).
Technical description
- all necessary instructions for maintaining BASIC SAFETY and ESSENTIAL PERFORMANCE with regard to electromagnetic disturbances for the excepted service life.
- Digital Automatic Blood Pressure Monitor do not contains magnetically sensitive electronic components and circuitry.
- Guidance and manufacturer’s declaration -electromagnetic emissions and Immunity
Table 1
| Guidance and manufacturer’s declaration – electromagnetic emissions | |
| Emissions test | Compliance |
| RF emissions CISPR 11 | Group 1 |
| RF emissions CISPR 11 | Class B |
| Harmonic emissions IEC 61000-3-2 | Class A |
| Voltage fluctuations/ flicker emissions IEC 61000-3-3 | Applied |
Table 2
| Guidance and manufacturer’s declaration – electromagnetic Immunity | ||
| Immunity Test | IEC 60601-1-2 Test level | Compliance level |
| Electrostatic discharge (ESD) IEC 61000-4-2 | ±8 kV contact ±2 kV, ±4 kV, ±8 kV, ±15 kV air | ±8 kV contact ±2 kV, ±4 kV, ±8 kV, ±15 kV air |
| Electrical fast transient/burst IEC 61000-4-4 | Power supply lines:±2 kV input/output lines:±1 kV | Power supply lines:±2 kV |
| Surge IEC 61000-4-5 | line(s) to line(s):±1 kV. line(s) to earth:±2 kV. 100 kHz repetition frequency | line(s) to line(s):±1 kV. 100 kHz repetition frequency |
| Voltage dips, short interruptions and voltage variations on power supply input lines IEC 61000-4-11 | 0% 0.5 cycle At 0º, 45 º, 90 º, 135 º, 180 º, 225 º, 270 º and 315 º 0% 1 cycle And 70% 25/30 cycles Single phase: at 0 0% 300 cycle | 0% 0.5 cycle At 0º, 45 º, 90 º, 135 º, 180 º, 225 º, 270 º and 315 º 0% 1 cycle And 70% 25/30 cycles Single phase: at 0 0% 300 cycle |
| Power frequency magnetic field IEC 61000-4-8 | 30 A/m 50Hz/60Hz | 30 A/m 50Hz/60Hz |
| Conduced RF IEC61000-4-6 | 150KHz to 80MHz: 3Vrms 6Vrms (in ISM and amateur radio bands) 80% Am at 1kHz | 150KHz to 80MHz: 3Vrms 6Vrms (in ISM and amateur radio bands) 80% Am at 1kHz |
| Radiated RF IEC61000-4-3 | 10 V/m 80 MHz – 2,7 GHz 80 % AM at 1 kHz | 10 V/m 80 MHz – 2,7 GHz 80 % AM at 1 kHz |
| Proximity magnetic fields IEC 61000-4-39 | 30 kHz: 8A/m 134.2 kHz: 65A/m 13.56 MHz: 7.5A/m | Not application |
| NOTE UT is the a.c. mians voltage prior to application of the test level. | ||
Table 3
| Guidance and manufacturer’s declaration – electromagnetic Immunity | |||||||
| Radiated RF IEC61000-4-3 (Test specifications for ENCLOSURE PORT IMMUNITY to RF wireless communications equipment) | Test Frequency (MHz) | Band (MHz) | Service | Modulation | Modulation (W) | Distance (m) | IMMUNITY TEST LEVEL (V/m) |
| 385 | 380 –390 | TETRA 400 | Pulse modulation 18 Hz | 1,8 | 0.3 | 27 | |
| 450 | 380 –390 | GMRS 460, FRS 460 | FM ± 5 kHz deviation 1 kHz sine | 2 | 0.3 | 28 | |
| 710 | 704 – 787 | LTE Band 13, 17 | Pulse modulation 217 Hz | 0,2 | 0.3 | 9 | |
| 745 | |||||||
| 780 | |||||||
| 810 | 800 – 960 | GSM 800/900, TETRA 800, iDEN 820, CDMA 850, LTE Band 5 | Pulse modulation 18 Hz | 2 | 0.3 | 28 | |
| 870 | |||||||
| 930 | |||||||
| 1720 | 1 700 – 1 990 | GSM 1800; CDMA 1900; GSM 1900; DECT; LTE Band 1, 3, 4, 25; UMTS | Pulse modulation 217 Hz | 2 | 0.3 | 28 | |
| 1845 | |||||||
| 1970 | |||||||
| 2450 | 2 400 – 2 570 | Bluetooth, WLAN, 802.11 b/g/n, RFID 2450, LTE Band 7 | Pulse modulation 217 Hz | 2 | 0.3 | 28 | |
| 5240 | 5 100 – 5 800 | WLAN 802.11 a/n | Pulse modulation 217 Hz | 0,2 | 0.3 | 9 | |
| 5500 | |||||||
| 5785 |
Table 4
| Guidance and manufacturer’s declaration – electromagnetic Immunity | ||
| Test frequency | Modulation | IMMUNITY TEST LEVEL (A/m) |
| 30 kHz | CW | 8 |
| 134,2 kHz | Pulse modulation a 2,1 kHz | 65 b |
| 13,56 MHz | Pulse modulation a 50 kHz | 7,5 b |
| a) The carrier shall be modulated using a 50% duty cycle square wave signal. b) r.m.s., before modulation is applied. | ||
Bluetooth connect
The devices embed a Bluetooth Wireless network connections module that allows it to connect to receiving end (mobile application).
When power on the device, the Bluetooth function will open automatically. When the connection is successful, the Bluetooth symbol
will appear on the display. Once measurement is over, the LED of device displays results, and the device will start to send out data, such as temperature value with Wireless method and protocol.
| Data transmission | Bluetooth BLE5.2 |
| Frequency band(s) | 2402MHz—2480 MHz |
| Modulation scheme | GFSK |
| Bandwidth | 2MHz |
FCC Warning
This device complies with part 15 of the FCC Rules. Operation is subject to the following two conditions:
(1) This device may not cause harmful interference, and (2) this device must accept any interference received, including interference that may cause undesired operation.
Any Changes or modifications not expressly approved by the party responsible for compliance could void the user’s authority to operate the equipment.
Note: This equipment has been tested and found to comply with the limits for a Class B digital device, pursuant to part 15 of the FCC Rules. These limits are designed to provide reasonable protection against harmful interference in a residential installation. This equipment generates uses and can radiate radio frequency energy and, if not installed and used in accordance with the instructions, may cause harmful interference to radio communications. However, there is no guarantee that interference will not occur in a particular installation. If this equipment does cause harmful interference to radio or television reception, which can be determined by turning the equipment off and on, the user is encouraged to try to correct the interference by one or more of the following measures:
- Reorient or relocate the receiving antenna.
- Increase the separation between the equipment and receiver.
- Connect the equipment into an outlet on a circuit different from that to which the receiver is connected.
- Consult the dealer or an experienced radio/TV technician for help.
FCC RF Radiation Exposure Statement:
- This Transmitter must not be co-located or operating in conjunction with any other antenna or transmitter.
- This equipment complies with RF radiation exposure limits set forth for an uncontrolled environment.
The device has been evaluated to meet general RF exposure requirement. The device can be used in portable exposure condition without restriction.

Note: if the thermometer is not placed in the charging box, and it is power off, you can turn on the thermometer with shaking, start measuring mode.
2.2、Accurate measurement (actual measurement)
2.3、Measurement Result



















