FORTE F24CC4B 24 Inch Electric Cooktop User Guide
COOKTOP SAFETY
Your safety and the safety of others are very important.
We have provided many important safety messages in this manual and on your appliance. Always read and obey all safety messages.
IMPORTANT: Save for local electrical inspector’s use.
This is the safety alert symbol.
This symbol alerts you to potential hazards that can kill or hurt you and others.
All safety messages will follow the safety alert symbol and either the word “DANGER” or “WARNING.” These words mean:
DANGER
You can be killed or seriously injured if you don’t immediately follow instructions.
WARNING
You can be killed or seriously injured if you don’t follow instructions.
All safety messages will tell you what the potential hazard is, how to reduce the chance of injury, and what can happen if the instructions are not followed.
IMPORTANT SAFETY INSTRUCTIONS
WARNING: To reduce the risk of fire, electrical shock, injury to persons, or damage when using the cooktop, follow basic precautions, including the following:
- CAUTION: Do not store items in cabinets above the cooktop that are of interest to children. – Children climbing on the cooktop to reach items could be seriously injured.
- Proper Installation – Be sure your cooktop is properly installed and grounded by a qualified technician.
- Never Use Your Cooktop for Warming or Heating the Room.
- Do Not Leave Children Alone – Children should not be left alone or unattended in area where cooktop is in use. They should never be allowed to sit or stand on any part of thecooktop.
- Wear Proper Apparel – Loose-fitting or hanging garments should never be worn while using the cooktop.
- User Servicing – Do not repair or replace any part of the cooktop unless specifically recommended in the manual. All other servicing should be referred to a qualified technician.
- Storage on Cooktop – Flammable materials should not be stored near surface units.
- Do Not Use Water on Grease Fires – Smother fire or flame or use dry chemical or foam-type extinguisher.
- Use Only Dry Potholders – Moist or damp potholders on hot surfaces may result in burns from steam. Do not let potholder touch hot heating elements. Do not use a towel or other bulky cloth.
- DO NOT TOUCH SURFACE UNITS OR AREAS NEAR UNITS – Surface units may be hot even though they are dark in color. Areas near surface units may become hot enough to cause burns. During and after use, do not touch, or let clothing or other flammable materials contact surface units or areas near units until they have had sufficient time to cool. Among those areas are the cooktop and surfaces facing the cooktop.
- Use Proper Pan Size – This cooktop is equipped with one or more surface units of different size. Select utensils having flat bottoms large enough to cover the surface unit heating element. The use of undersized utensils will expose a portion of the heating element to direct contact and may result in ignition of clothing. Proper relationship of utensil to burner will also improve efficiency.
- Never Leave Surface Units Unattended at High Heat Settings – Boil over causes smoking and greasy spillovers that may ignite.
- Glazed Cooking Utensils – Only certain types of glass, glass/ceramic, ceramic, earthenware, or other glazed utensils are suitable for cooktop service without breaking due to the sudden change in temperature.
- Utensil Handles Should Be Turned Inward and Not Extend Over Adjacent Surface Units – To reduce the risk of burns, ignition of flammable materials, and spillage due to unintentional contact with the utensil, the handle of a utensil should be positioned so that it is turned inward, and does not extend over adjacent surface units.
- Do Not Cook on Broken Cooktop – If cooktop should break, cleaning solutions and spillovers may penetrate the broken cooktop and create a risk of electric shock. Contact a qualified technician immediately.
- Clean Cooktop With Caution – If a wet sponge or cloth is used to wipe spills on a hot cooking area, be careful to avoid steam burn. Some cleaners can produce noxious fumes if applied to a hot surface.
For unit with coil elements – - Make Sure Reflector Pans or Drip Bowls Are in Place – Absence of these pans or bowls during cooking may subject wiring or components underneath to damage.
- Protective Liners – Do not use aluminum foil to line surface
unit drip bowls, except as suggested in the manual. Improper installation of these liners may result in a risk of electric shock, or fire. - Do Not Soak Removable Heating Elements – Heating elements should never be immersed in water.
SAVE THESE INSTRUCTIONS
INSTALLATION REQUIREMENTS
Tools and Parts
Gather the required tools and parts before starting installation. Read and follow the instructions provided with any tools listed here.
Tools needed
- Tape measure
- ¼” (6.35 mm) nut driver
- Marker or pencil
- Pliers
- Flat-blade screwdriver
Parts supplied
- Foam strip roll
- Clamping brackets (4)
- 2½” (6.4 cm) clamping screws (4)
Parts needed
- A UL listed or CSA approved connector for ½” (1.3 cm) diameter conduit
- UL listed wire connectors
Check local codes. Check existing electrical supply. See the “Electrical Requirements” section.
It is recommended that all electrical connections be made by a licensed, qualified electrical installer.
Location Requirements
IMPORTANT: Observe all governing codes and ordinances. When installing cooktop, use minimum dimensions given.
- To eliminate the risk of burns or fire when reaching over the heated surface units, cabinet storage space located above the surface units should be avoided. If cabinet storage is to be provided, the risk can be reduced by installing a range hood that projects horizontally a minimum of 5″ (12.7 cm) beyond the bottom of the cabinets.
- The cooktop must be a specified cooktop that is approved to be installed either alone or over an undercounter built-in oven. Check the cooktop base for an approved installation label. If you do not find this label, contact your dealer to confirm that your cooktop is approved.
- The cooktop must be installed in a level countertop.
- Ovens approved for this type of installation will have an approval label located on the top of the oven. If you do not find this label, contact your dealer to confirm that your oven is approved. Refer to oven manufacturer’s Installation Instructions for approval for built-in under counter use and proper cutout dimensions
- The cooktop should be installed away from strong draft areas, such as windows, doors, fans or strong heating vents. The cooktop should be located for convenient use in the kitchen
- Use the countertop opening dimensions that are given with these Installation Instructions. Given dimensions are minimum clearances and provide 0″ (0 cm) clearance.
- Grounded electrical supply is required. See “Electrical Requirements” section.
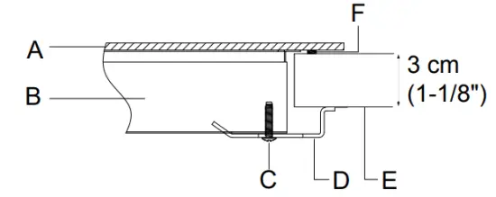
Product Dimensions

A. Glass depth – 21-1/2″ (54.6 cm)
B. Glass width:
24″ (61.0 cm) models – 24″ (61.0 cm)
30″ (76.2 cm) models – 30″ (76.2 cm)
36″ (91.4 cm) models – 36″ (91.4 cm)
C. Frame depth – 19-1/8″ (48.6 cm)
D. Frame width:
24″ (61.0 cm) models – 21-7/8″ (55.6 cm)
30″ (76.2 cm) models – 27-13/16″ (70.6 cm)
36″ (91.4 cm) models – 33-11/16″ (85.6 cm)
E. Cooktop height – 2-1/16″ (5.2 cm)
F. Cooktop height including conduit (located at rear of cooktop, right side) – 3-1/8″ (8.0 cm)
Cabinet Dimensions
IMPORTANT: If installing a range hood or microwave hood combination above the cooktop, follow the range hood or microwave hood combination installation instructions for dimensional clearances above the cooktop surface.
A. 24″ (61.0 cm) on 24″ models; 30″ (76.2 cm) on 30″ models; 36″ (91.4 cm) on 36″ models
B. Combustible area above countertop (shown by dashed box above)
C. 30″ (76.2 cm) minimum clearance between top of cooktop platform and bottom of uncovered wood or metal cabinet (24″ [61 cm] minimum clearance if bottom of wood or metal cabinet is covered by not less than ¹⁄₄” [0.6 cm] flame retardant millboard covered with not less than No. 28 MSG sheet steel, 0.015″ [0.04 cm] stainless steel, or 0.024″ [0.06 cm] aluminum or 0.020″ [0.05 cm] copper)
D. 13″ (33 cm) recommended upper cabinet depth
E. 2″(5.1 cm)
F. Recommended cutout: 19 1⁄4″ (49.0 cm) Will fit in cutout from 19-1/8″ – 19 5/16″ (48.6 – 49.0 cm)
G. 18″ (45.7 cm) minimum clearance from upper cabinet to countertop within minimum horizontal clearances to cooktop
H. Junction box or outlet: 7″ (17.8 cm) minimum from top of countertop
I. Junction box or outlet: 9″ (23.0 cm) maximum from right side of cabinet.
J. Recommended cutout:
24″ (61.0 cm) models – 22″ (56.0 cm)
Will fit in cutout from 21-7/8″ – 22-1/8″ (55.6 – 56.2 cm)
30″ (76.2 cm) models – 27-15/16″ (71.0 cm)
Will fit in cutout from 27-13/16 – 28″ (70.6 – 71.2 cm)
36″ (91.4 cm) models – 33-7/8″ (86.0 cm)
Will fit in cutout from 33-11/16″ – 33-15/16″ (85.6 – 86.2 cm)
K. 2″ (5.1 cm) minimum distance to nearest left and right side combustible surface above cooktop
L. 2″ (5.1 cm) minimum clearance between back wall and countertop
NOTES: After making the countertop cutout, some installations may require notching down the base cabinet side walls to clear the cooktop base. To avoid this modification, use a base cabinet with sidewalls wider than the cutout.
If cabinet has a drawer, a 5¹⁄₂” (14.0 cm) depth clearance from the top of the countertop to the top of the drawer (or other obstruction) in base cabinet is required.
Electrical Requirements
WARNING
Electrical Shock Hazard Disconnect power before servicing.
Use 8 gauge copper wire.
Electrically ground cooktop.
Failure to follow these instructions can result in death, fire, or electrical shock.
If codes permit and a separate ground wire is used, it is recommended that a qualified electrical installer determine that the ground path and wire gauge are in accordance with local codes.
Check with a qualified electrical installer if you are not sure the cooktop is properly grounded.
Make sure that the electrical connection and wire size are adequate and in conformance with the National Electrical Code, ANSI/NFPA 70-latest edition or CSA Standards C22.1-94, Canadian Electrical Code, Part 1 and C22.2 No. O-M91-latest edition, and all local codes and ordinances.
A copy of the above code standards can be obtained from:
National Fire Protection Association
1 Batterymarch Park
Quincy, MA 02169-7471
CSA International
8501 East Pleasant Valley Road
Cleveland, OH 44131-5575
Before You Make the Electrical Connection:
To properly install your cooktop, you must determine the type of electrical connection you will be using and follow the instructions provided for it here.
- A 3-wire or 4-wire, single phase, 208V/240V AC, 60Hz, only electrical supply is required on a separate, 40-amp circuit fused on both sides of the line. The model/serial number rating plate is located on the metal cabinet underneath the cooktop. See the following illustration.
A. Model/serial number plate
- The cooktop is rated 208V/240V AC. Some models have a neutral (white) wire
- The cooktop should be connected directly to the junction box through flexible, armored or nonmetallic sheathed, copper cable. The flexible, armored cable extending from the fuse box or circuit breaker box should be connected directly to the junction box.
- Locate the junction box to allow as much slack as possible between the junction box and the cooktop so that the cooktop can be moved if servicing becomes necessary in the future.
- Do not cut the conduit. Use the length of conduit provided.
- A UL listed or CSA approved conduit connector must be provided at each end of the power supply cable (at the cooktop and at the junction box). A listed conduit connector is already provided at the cooktop.
- If the house has aluminum wiring, follow the procedure below:
- Connect a section of solid copper wire to the pigtail leads.
- Connect the aluminum wiring to the added section of copper wire using special connectors and/or tools designed and UL listed for joining copper to aluminum.
Follow the electrical connector manufacturer’s recommended procedure. Aluminum/copper connection must conform with local codes and industry accepted wiring practices.
INSTALLATION INSTRUCTIONS
Prepare Cooktop for Installation
WARNING
Excessive Weight Hazard
Use two or more people to move and install cooktop.
Failure to do so can result in back or other injury.
Decide on the final location for the cooktop. Avoid drilling into or
severing existing wiring during installation.
- Using 2 or more people, place the cooktop upside down on a covered surface using the foam end posts from the packaging. Make sure that the knobs are not resting on the foam.
- Remove foam strip roll from the package containing literature. Remove one strip at a time and apply foam strip adhesive side down around bottom of the cooktop glass.
NOTE: The foam strip helps avoid damage to the underside of the cooktop glass from debris and helps the cooktop sit flat on uneven counters.
A. Cooktop base
B. 1 ⁄₁₆” X 3 ⁄₁₆” (0.2X0.5 cm) Foam strip
C. Cooktop
Install Cooktop
Style 1: Cooktop over under counter built-in oven
IMPORTANT: Clamping brackets should not be used.
- Using 2 or more people, place cooktop right side up into the cutout.
NOTE: Make sure that the front edge of the cooktop is parallel to the front edge of the countertop. If repositioning is needed, lift entire cooktop up from cutout to avoid scratching the countertop.
Style 2: Cooktop over cabinets
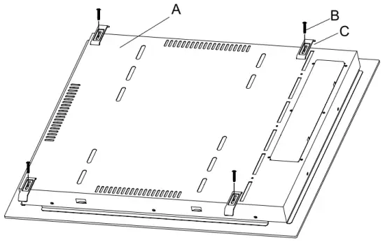
- Determine whether your cabinet construction provides clearance for installing clamping brackets at cooktop base ends.

A. Cooktop base bottom
B. Clamping screw
C. Clamping bracket - . The clamping brackets must be installed after the cooktop is placed into the cutout. Complete the following steps for the option.
Installing Brackets After Placing Cooktop in Cutout
- Using 2 or more people, place the cooktop right side up into the cutout.
NOTE: Make sure that the front edge of the cooktop is parallel to the front edge of the countertop. If repositioning is needed, lift entire cooktop up from cutout to avoid scratching the countertop. - Remove the selected brackets from the bottom of the cooktop base
- Select bracket mounting locations that will allow the bracket to extend far enough out from the cooktop for the installation of clamping screws.
- Attach brackets to cooktop base bottom with bracket clamping screws using the bracket mounting holes. Securely tighten screws.
A. Cooktop
B. Cooktop base
C. Clamping screw
D. Clamping bracket (extends far enough beyond cooktop base to allow installation of clamping screws)
E. Countertop
F. Foam seal
Option 1

Option 2

Option 3

Make Electrical Connection
WARNING
Electrical Shock Hazard
Disconnect power before servicing.
Use 8 gauge copper wire.
Electrically ground cooktop.
Failure to follow these instructions can result in death, fire, or electrical shock.
This cooktop is manufactured with a frame connected, green or bare ground wire. Connect the cooktop cable to the junction box through the UL listed or CSA approved conduit connector
Electrical Connection Options
| For cooktops with a 3-wire cable: | ||
| If your home has: | And you will be connecting to: | Go to Section: |
4-wire direct![]() | A fused disconnect or circuit breaker box | 4-Wire Cable from Power Supply to 3-Wire Cable from Cooktop |
3-wire direct![]() | A fused disconnect or circuit breaker box | 3-Wire Cable from Power Supply to 3-Wire Cable from Cooktop |
4-Wire Cable from Power Supply to 3-Wire Cable from
Cooktop
IMPORTANT: Use the 4-wire cable from power supply where local codes do not permit connecting the frame-ground conductor to the neutral (white) junction box wire:
A. 4-wire cable from power supply
B. Red wires
C. Green or bare ground wire (from cooktop)
D. 3-wire cable from cooktop
E. Junction box
F. White wire (from power supply)
G. UL listed wire connector
H. Black wires
I. UL listed or CSA approved conduit connector
- Disconnect power
- Remove junction box cover if present.
- Connect the flexible cable conduit from the cooktop to the junction box using a UL listed or CSA approved conduit connector.
- Tighten screws on conduit connector, if present.
- Connect the two black wires together using the UL listed wire connectors.
- Connect the two red wires together using the UL listed wire connectors.
- Connect the green or bare ground wire from the cooktop cable to the green or bare ground wire (in the junction box) using the UL listed wire connectors.
- Put a UL listed wire connector on the end of the white wire.
NOTE: Do not connect the bare ground wire to the neutral (white) wire in the junction box. - Install junction box cover.
- Reconnect power.
3-Wire Cable from Power Supply to 3-Wire Cable from
Cooktop
IMPORTANT: Use the 3-wire cable from power supply where local codes permit connecting the frame-ground conductor to the neutral (white) junction box wire:
A. 3-wire cable from power supply
B. Red wires
C. Green or bare ground wire (from cooktop)
D. 3-wire cable from cooktop
E. Junction box
F. Green or bare ground wire(from power supply)
G. UL listed wire connector
H. Black wires
I. UL listed or CSA approved conduit connector
- Disconnect power
- Remove junction box cover, if present.
- Connect the flexible cable conduit from the cooktop to the junction box using a UL listed or CSA approved conduit connector.
- Tighten screws on conduit connector if present.
- Connect the two black wires together using the UL listed wire connectors.
- Connect the two red wires together using the UL listed wire connectors.
- Connect the green or bare cooktop cable wires to the green or bare ground wire in the junction box using the UL listed wire connectors.
- Install junction box cover.
- Reconnect power.
Complete Installation
- Check that all parts are now installed. If there is an extra part, go back through the steps to see which step was skipped.
- Check that you have all your tools.
- Dispose of/recycle all packaging materials.
- Use a mild solution of liquid household cleaner and warm water to clean cooktop before use. Dry thoroughly with a soft cloth. For more information, see the “Cooktop Care” section of the Use and Care Guide.
- Read the “Cooktop Use” section in the cooktop Use and Care Guide.
- Reconnect power.
NOTE: If the cooktop does not work after turning on the power, check that a circuit breaker has not tripped or a household fuse has not blown. See “Troubleshooting” section in the Use and Care Guide for further information.
COOKTOP USE
This manual covers different models. The cooktop you have purchased may have some or all of the items listed. The locations and appearances of the features shown here may not match those of your model.
24″ (61 cm) Cooktop
A. Right front control knob
B. Left front control knob
C. Left rear control knob
D. Right rear control k nob
E. Hot sur face indicator light
30″ (76.2 cm) Cooktop
A. Right front control knob
B. Left front control knob
C. Left rear control knob
D. Right rear control k nob
E. Hot sur face indicator light
36″ (91.4 cm) Cooktop
A. Right front control knob
B. Left front control knob
C. Middle control knob
D. Left rear control knob
E. Right rear control knob
F. Hot surface indicator light
Cooktop Controls
WARNING
Fire Hazard
Turn off all controls when done cooking.
Failure to do so can result in death or fire.
The control knobs can be set to anywhere between HIGH and LOW. Push in and turn to setting.
The surface cooking area locator shows which element is turned
on. Use the following chart as a guide when setting heat levels.
The surface cooking area locator shows which element is turned on. Use the following chart as a guide when setting heat levels.
| SETTING | RECOMMENDED USE |
| HIGH |
|
| Medium High |
|
| Medium |
|
| Medium Low |
|
| LOW |
|
| Dual Elements |
|
REMEMBER: When cooktop is in use, the entire cooktop area may become hot.
Hot Surface Indicator Light
This unit features a Hot Surface Indicator Light. The Hot Surface Indicator Light will glow as long as any surface cooking area is too hot to touch, even after the surface cooking area(s) is turned off.
Dual Zone Element

The dual zone elements offer flexibility depending on the size of the cookware. Single size can be used in the same way as a regular element. The dual sizes combine single and dual elements and are recommended for larger cookware, large quantities of food, and home canning.
For best High heat performance, match burner to cookware size.
For best Low heat or Simmer performance, match cookware to largest cooking area ring and operate single ring for desired performance.
Dual Zone Element
A. Single size
B. Dual size
To Use SINGLE:
- Push in and turn knob from the OFF position to the SINGLE zone anywhere between LOW and HIGH.
- Turn knob to OFF when finished.
To Use DUAL:
- Push in and turn knob from the OFF position to the DUAL position.
- Turn knob to OFF when finished.
Ceramic Glass
The surface cooking area will glow red when an element is on.
However some parts of the surface cooking area may not glow red when an element is on. This is normal operation. The burner will cycle on and off to maintain the selected heat level and to keep to keep the cooktop from reaching extreme temperatures.
It is normal for the surface of light colored ceramic glass to appear to change color when surface cooking areas are hot. As the glass cools, it will return to its original color.
Cleaning off the cooktop before and after each use will help keep it free from stains and provide the most even heating. On cooktops with light colored ceramic glass, soils and stains may be more visible, and may require more cleaning and attention. Cooktop cleaner and a cooktop scraper are recommended. For more information, see “General Cleaning” section.
- Avoid storing jars or cans above the cooktop. Dropping a heavy or hard object onto the cooktop could crack the cooktop.
- Do not leave a hot lid on the cooktop. As the cooktop cools, air can become trapped between the lid and the cooktop, and the ceramic glass could break when the lid is removed.
- Clean up all spills and soils as soon as possible. Allow the cooktop to cool down slightly. Then, while wearing oven mitts, remove the spills using a scraper while the surface is still warm. If sugary spills are allowed to cool down, they can adhere to the cooktop and can cause pitting and permanent marks.
- Do not slide cookware or bakeware across the cooktop. Aluminum or copper bottoms and rough finishes on cookware or bakeware could leave scratches or marks on the cooktop.
- Do not cook popcorn in prepackaged aluminum containers on the cooktop. They could leave aluminum marks that cannot be removed completely.
- Do not allow objects that could melt, such as plastic or aluminum foil, to touch any part of the entire cooktop.
- Do not use the cooktop as a cutting board.
- Use cookware about the same size as the surface cooking area. Cookware should not extend more than ½” (1.3 cm) outside the area.

A. Surface cooking area
B. Cookware/canner
C. ½” (1.3 cm) maximum overhang - Use flat-bottomed cookware for best heat conduction and energy efficiency. Cookware with rounded, warped, ribbed or dented bottoms could cause uneven heating and poor cooking results.
- Determine flatness by placing the straight edge of a ruler across the bottom of the cookware. While you rotate the ruler, no space or light should be visible between it and the cookware.
- Cookware designed with slightly indented bottoms or small expansion channels can be used.
- Make sure the bottoms of pots and pans are clean and dry before using them. Residue and water can leave deposits when heated.
- Do not cook foods directly on the cooktop.
Home Canning
When canning for long periods, alternate the use of surface cooking areas, elements or surface burners between batches. This allows time for the most recently used areas to cool.
- Center the canner on the grate or largest surface cooking area or element. On electric cooktops, canners should not extend more than ½” (1.3 cm) beyond the surface cooking area or element.
- Do not place canner on 2 surface cooking areas, elements or surface burners at the same time.
- On ceramic glass models, use only flat-bottomed canners.
- On coil element models, the installation of a Canning Unit Kit is recommended. If a kit is not installed, the life of the coil element will be shortened. See “Assistance or Service” for instructions on how to order.
- For more information, contact your local agricultural department. Companies that manufacture home canning products can also offer assistance.
Cookware
IMPORTANT: Do not leave empty cookware on a hot surface cooking area, element or surface burner. Ideal cookware should have a flat bottom, straight sides, and a well-fitting lid and the material should be of medium-to-heavy thickness.
Rough finishes may scratch the cooktop. Aluminum and copper may be used as a core or base in cookware. However, when used as a base they can leave permanent marks on the cooktop or grates.
Cookware material is a factor in how quickly and evenly heat is transferred, which affects cooking results. A nonstick finish has the same characteristics as its base material.
For example, aluminum cookware with a nonstick finish will take on the properties of aluminum.
Use the following chart as a guide for cookware material characteristics.
| COOKWARE | CHARACTERISTICS |
| Aluminum |
|
| Cast iron |
|
| Ceramic or Ceramic glass |
|
| Copper |
|
| Earthenware |
|
| Porcelain enamel-on steel or cast iron |
|
| Stainless steel |
|
COOKTOP CARE
General Cleaning
IMPORTANT: Before cleaning, make sure all controls are off and the oven and cooktop are cool. Always follow label instructions on cleaning products.
Use soap, water and a soft cloth or sponge unless otherwise noted.
STAINLESS STEEL (on some models)
To avoid damage to stainless steel surfaces, do not use soap filled scouring pads, abrasive cleaners, Cooktop Cleaner, steel wool pads, gritty washcloths or abrasive paper towels.
Cleaning Method:
Rub in direction of grain to avoid damaging.
- Liquid detergent or all-purpose cleaner: Rinse with clean water and dry with soft, lint-free cloth.
COOKTOP CONTROLS
To avoid damage to the cooktop controls, do not use steel wool, abrasive cleansers or oven cleaner.
To avoid damage, do not soak knobs.
When replacing knobs, make sure knobs are in the Off position.
On some models, do not remove seals under knobs.
Cleaning Method:
- Soap and water:
Pull knobs straight away from control panel to remove. - Dishwasher:
Pull knobs straight away from control panel to remove.
CERAMIC GLASS
To avoid damage to the cooktop, do not use steel wool, abrasive
powder cleansers, chlorine bleach, rust remover or ammonia.
Cleaning Method:
Always wipe with a clean, wet cloth or sponge and dry thoroughly to avoid streaking and staining.
Light to moderate soil
- Paper towels or clean damp sponge.
Sugary spills (jellies, candy, syrup)
- Cooktop Scraper:
Clean while the cooktop is still warm. You may want to wear oven mitts while doing so. - Cooktop Polishing Creme and clean damp paper towel:
Clean as soon as cooktop has cooled down. Rub creme into surface with a damp paper towel or soft cloth. Continue rubbing until white film disappears.
Heavy soil, dark streaks, specks and discoloration
- Cooktop Polishing Creme or nonabrasive cleanser:
Rub product into soil with a damp paper towel or soft cloth. Continue rubbing until white film disappears.
Burned-on soil
- Cooktop Polishing Creme and Cooktop Scraper:
Rub creme into soil with damp paper towel. Hold scraper as flat as possible on surface and scrape. Repeat for stubborn spots. Polish entire cooktop with creme and paper towel.
Metal marks from aluminum and copper
- Cooktop Polishing Creme:
Clean as soon as cooktop has cooled down. Rub creme into surface with a damp paper towel or soft cloth. Continue rubbing until white film disappears. The marks will not totally disappear but after many cleanings become less noticeable.
Tiny scratches and abrasions
- Cooktop Polishing Creme:
Rub creme into surface with a damp paper towel or soft cloth. Continue rubbing until white film disappears. Scratches and abrasions do not affect cooking performance and after many cleanings become less noticeable.
TROUBLESHOOTING
Try the solutions suggested here first in order to avoid the cost of an unnecessary service call.
Nothing will operate
- Has a household fuse blown, or has a circuit breakertripped?
Replace the fuse or reset the circuit breaker. If the problem continues, call an electrician. - Is the cooktop wired properly?
See Installation Instructions.
Cooktop will not operate
- Is the control knob set correctly?
Push in knob before turning to a setting.
Excessive heat around cookware on cooktop
- Is the cookware the proper size?
Use cookware about the same size as the surface cooking area, element or surface burner. Cookware should not extend more than ½” (1.3 cm) outside the cooking area.
Cooktop cooking results not what expected
- Is the proper cookware being used?
See “Cookware” section. - Is the control knob set to the proper heat level?
See “Cooktop Controls” section. - Is the cooktop level?
Level the cooktop. See the Installation Instructions.
A vapor is being emitted from the knobs of the cooktop
- Is the cooktop in its first use(s)?
During the first use(s), a vapor may be seen exiting the holes around the knobs of the cooktop. This is normal and should disappear after use.
























