

5.1 Home Theater System with Bluetooth
User’s Guide for Model IHTB138 v1972-01
For the most up-to-date version of this User’s Guide, go to www.iliveelectronics.com
Safety Instructions & Warnings
Important Safety Instructions
- Read these Instructions.
- Keep these Instructions.
- Heed all Warnings.
- Follow all instructions.
- Do not use this apparatus near water.
- Clean only with a dry cloth.
- Do not block any ventilation openings. Install in accordance with the manufacturer’s instructions.
- Do not install near any heat sources such as radiators, heat registers, stoves, or other apparatus (including amplifiers) that produce heat.
- Do not defeat the safety purpose of the polarized or grounding-type plug. A polarized plug has two blades with one wider than the other. A grounding-type plug has two blades and a third grounding prong. The wide blade or the third prong are provided for your safety. When the provided plug does not fit into your outlet, consult an electrician for the replacement of the obsolete outlet.
- Protect the power cord from being walked on or pinched particularly at plugs, convenience receptacles, and the point where they exit from the apparatus.
- Only use attachments/accessories specified by the manufacturer.
- Unplug this apparatus during lightning storms or when unused for long periods of time.
- Refer all servicing to qualified service personnel. Servicing is required when the apparatus has been damaged in any way, such as power-supply cord or plug is damaged, liquid has been spilled or objects have fallen into the apparatus, the apparatus has been exposed to rain or moisture, does not operate normally, or has been dropped.
- Use only with a cart, stand, tripod, bracket, or table specified by the manufacturer, or sold with the apparatus. When a cart is used, use caution when moving the cart/ apparatus combination to avoid injury from tip-over.
FCC Warnings
Warning: Changes or modifications to this unit not expressly approved by the party responsible for compliance could void the user’s authority to operate the equipment.
NOTE: This equipment has been tested and found to comply with the limits for a Class B digital device, pursuant to Part 15 of the FCC Rules. These limits are designed to provide reasonable protection against harmful interference in a residential installation. This equipment generates, uses, and can radiate radio frequency energy and, if not installed and used in accordance with the instructions, may cause harmful interference to radio communications. However, there is no guarantee that interference will not occur in a particular installation. If this equipment does cause harmful interference to radio or television reception, which can be determined by turning the equipment off and on, the user is encouraged to try to correct the interference by one or more of the following measures:
- Reorient or relocate the receiving antenna.
- Increase the separation between the equipment and receiver.
- Connect the equipment into an outlet on a circuit different from that to which the receiver is connected.
- Consult the dealer or an experienced radio/TV technician for help.
Battery Warnings
- WARNING: Do not ingest battery, Chemical Burn Hazard.
- If the remote control supplied with this product contains a coin/button cell battery and the coin/button cell battery is swallowed, it can cause severe internal burns in just 2 hours and can lead to death.
- Keep new and used batteries away from children. If the battery compartment does not close securely, stop using the product and keep it away from children.
- If you think batteries might have been swallowed or placed inside any part of the body, seek immediate medical attention.
- CAUTION: Danger of explosion if battery is incorrectly replaced. Replace only with the same or equivalent type.
- WARNING: There is a danger of explosion if you attempt to charge standard Alkaline batteries in the unit. Only use rechargeable NiMH batteries.
- Battery shall not be exposed to excessive heat such as sunshine, fire, or the like.
- Do not mix old and new batteries.
- Completely replace all old batteries with new ones.
- Do not mix alkaline, standard (carbon-zinc), or rechargeable (ni-cad, ni-mh, etc) batteries.
- Batteries should be recycled or disposed of as per state and local guidelines.
Additional Warnings and Precautions
- Do not look directly into the projector light.
- CAUTION: TO PREVENT ELECTRIC SHOCK, MATCH WIDE BLADE OF PLUG TO WIDE SLOT, FULLY INSERT.
- Mains plug is used as disconnect device and it should remain readily operable during intended use. In order to disconnect the apparatus from the mains completely, the mains plug should be disconnected from the mains socket outlet completely.
- CAUTION: Use of controls or adjustments or performance of procedures other than those specified may result in hazardous radiation exposure.
- WARNING: Changes or modifications to this unit not expressly approved by the party responsible for compliance could void the user’s authority to operate the equipment.
- WARNING: Use of this unit near fluorescent lighting may cause interference regarding use of the remote. If the unit is displaying erratic behavior move away from any fluorescent lighting, as it may be the cause.
- WARNING: Shock hazard – Do Not Open.
- Caution and marking information is located at the rear or bottom of the apparatus.
- WARNING: To reduce the risk of fire or electric shock, do not expose this apparatus to rain, moisture, dripping, or splashing.
- Objects filled with liquids, such as vases, shall not be placed on the apparatus.
- This product meets and complies with all Federal regulations.
CAUTION RISK OF ELECTRIC SHOCK DO NOT OPEN
WARNING: To reduce the risk of electric shock, do not remove cover (or back). No user-serviceable parts inside. Refer servicing to qualified service personnel.
The exclamation point within an equilateral triangle is intended to alert the user to the presence of important operating and maintenance (servicing) instructions in the literature accompanying the appliance.
The lightning flash with the arrowhead symbol, within an equilateral triangle, is intended to alert the user to the presence of an un-insulated “dangerous voltage” within the product’s enclosure that may be of sufficient magnitude to constitute a risk of electric shock to persons.
This symbol indicates that this product incorporates double insulation between hazardous mains voltage and user-accessible parts.
WARNING: This product can expose you to chemicals including lead, which is known to the State of California to cause cancer. For more information go to: www.P65Warnings.ca.gov
Setup
Features
• Bluetooth Wireless – range 60 ft.
• 6 5.1 surrounds sound audio inputs
• 2 stereo audio inputs
Includes
• Subwoofer (main unit)
• 26″ central speaker with 4 satellite speakers
• Remote control: requires CR2025 battery (included)
• 1 RCA to 3.5mm stereo audio cable
• 3 RCA to RCA audio cables
Power
Plug the AC power cord into a standard wall outlet.

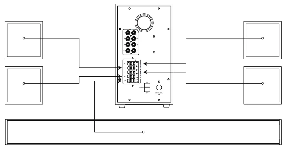
Speakers
Connect each speaker wire with the corresponding port on the rear of the subwoofer. Be sure to match the positive (+) and negative (-) wire leads to the correct port or the speakers will not function properly.

Orientation
Subwoofer Rear View

| Power Status | Switch Position | Indicator Light |
| Power OFF | Switch OFF | No Lights |
| Standby Mode | Switch ON | Power indicator ON, all other indicators OFF |
| Power ON | Switch ON + ON signal from remote | Power Indicator OFF, Volume / Source indicators ON |
For most instances, leave the switch in the ON position, the system will be in Standby Mode. It is not necessary to use the Main Power Switch every time. Use the remote to fully power ON and begin listening to audio. Use the remote again to place the system back in Standby Mode.
Subwoofer Front View

| Speaker Status | Indicator Light |
| 5.1 CH Mode (Surround) | Orange Light |
| AUX Mode (Stereo) | White Light |
| Bluetooth Mode (not connected) | Slow Flashing Blue Light |
| Bluetooth Pairing | Rapid Flashing Blue Light |
| Bluetooth Connected | Solid Blue Light |
Remote
Functions
Note: When using the remote, be sure to aim at the remote signal receiver located on the front of the subwoofer.

Remote Batteries
Requires 1 CR2025 battery (pre-installed).

Audio Inputs
2 Port Stereo RCA Inputs (Aux)
If your TV, DVD, or other media player has a 3.5mm audio line output, use the top 2 audio inputs (Left/Right channel) on the rear of the subwoofer for stereo audio. While connected to the Aux inputs, the unit will send audio signal to all of it’s speakers to simulate a surround sound effect. Requires a 3.5mm stereo audio cable (included).
1. Connect the RCA stereo audio cable to the RCA Stereo Inputs on the subwoofer and the audio line outputs on your TV, DVD player, etc.
2. Power ON the speaker and press Source (subwoofer) or AUX (remote) to select Aux Mode, indicated by a white light.

Audio Inputs
6 Port 5.1 Surround Sound RCA Inputs (5.1 CH)
To use the 5.1 input on this system will require a source (TV, DVD, Blu-Ray, or other media player) with 5.1 Surround Sound analog audio outputs. If your media source is so equipped, use the lower 6 audio inputs on the rear of the subwoofer.
Requires 6x RCA audio cables (included).
1. Connect the RCA audio cables to the RCA Inputs on the subwoofer and the audio outputs on your TV, DVD player, etc. When connecting the audio cables, match the colored plugs to the same colored input ports.
2. Power ON the speaker and press Source (subwoofer) or 5.1CH (remote) to select 5.1 Surround Sound Mode, indicated by an orange light.

| Audio Input | Audio Channel |
| FL / FR | Front Left / Front Right |
| SL / SR | Surround Left / Surround Right |
| CEN | Center |
| SUB | Subwoofer |
Bluetooth Wireless
Pairing to a Bluetooth Device and Playing Audio Wirelessly
After initial pairing, the unit will stay paired unless unpaired manually by the user or erased due to a reset of the
device. If your device should become unpaired or you find it is unable to connect, repeat these steps.
1. With the unit powered ON, press Source (subwoofer) or
(remote) to select Bluetooth Mode, indicated by a slowly flashing blue light.
2. Press the Pair button on the subwoofer until the pairing indicator begins quickly flashing blue. When pairing, remain within 3 feet of the unit.
3. Use the controls on your Bluetooth device to select IHTB138 in your Bluetooth settings. If your device requests a password, enter the default password 0 0 0 0 . Consult the user’s manual for your specific device for more detailed instructions on pairing Bluetooth devices.
4. When successfully paired, a chime will sound and the pairing indicator will change to a solid blue. Audio should now be heard through the speakers. Use the controls on the connected Bluetooth Device to select and begin playing audio.
5. Play, pause or skip audio using the controls on the connected Bluetooth Device or the subwoofer or remote.
Customer Support
Contact Information
Website: www.iLiveElectronics.com
Email Support: [email protected]
Email Parts: [email protected]
Phone Support: 1-888-999-4215
Warranty
For Warranty Information and the most up-to-date version of this User’s Guide, go to: www.iLiveElectronics.com
International Support
To download this User’s Guide in English, Spanish, and French, or to get answers to frequently asked questions, visit the support section at:
www.iLiveElectronics.com
Copyright © 2017 Digital Products International (DPI, Inc.) All other trademarks appearing herein are the property of their respective owners. Specifications are subject to change without notice.




















