Security Tech Germany
PPDF17520, PPDF 17000
Easy Look BasicSet Camera
User Guide
SCOPE OF DELIVERY
ABUS EasyLook BasicSet (PPDF17000)

Accessories
Additional Camera for ABUS EasyLook BasicSet (PPDF17520)

Signal boost set
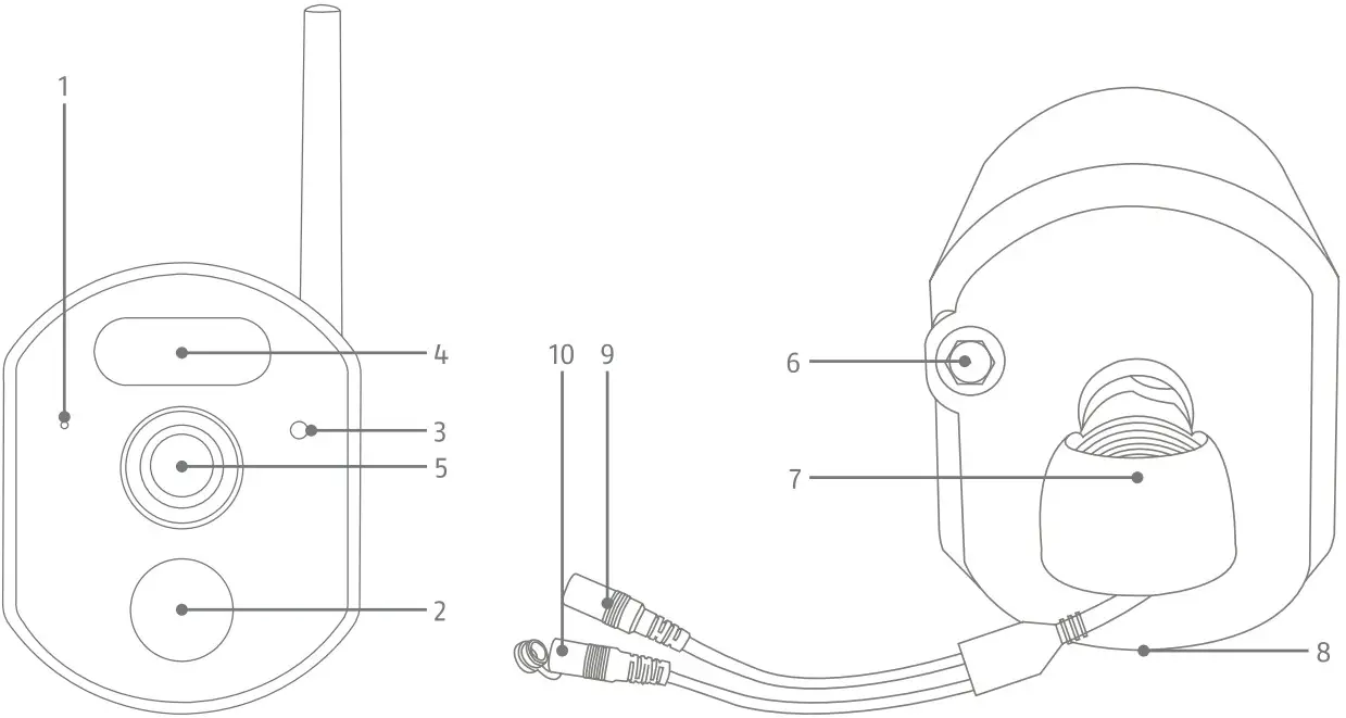
CAMERA

- Microphone
- Passive Infrared Sensor (PIR)
- Light sensor
- Infrared LEDs / Status LED
- Lens
- Antenna connection (RPSMA)*
- Mount
- Loudspeaker
- Power supply (12V DC 11A)
- Reset button
MONITOP

- REC LED (flashes during recording)
- Power LED
- Microphone
- On/Off switch
- Antenna connector (RP-SMA)
- USB interface
- Loudspeaker
- Stand
- Restart button
- microSD card slot
- Power supply (12V DC / 1A)
* Wireless frequency: 2.4 GHz (max. transmission power 20 dBm)
COMMISSIONING CAMERA

Screw on the antenna and supply the camera with power for initial start-up using the power supply unit provided (12 V DC /1 A).
COMMISSIONING MONITOR

Unfold the stand and lock it in place by pushing it upwards. Connect the power supply unit provided (12 V DC 11 A). Hold down the on/off button for 3 seconds to switch on the monitor and follow the instructions on the monitor to complete the initial set-up. After a few seconds, the first live image from the camera will appear. Then connect the antenna to the monitor.
CAMERA MOUNTING
Option 1: Flush-mounted power supply.

First check the signal strength at your location. Hold the camera as close as possible to the desired location: Does the monitor show a smooth live image at the desired location?
- To start the installation, use the drilling template or unscrew the bracket to mark the required 3 drill holes, with its wall plate at the desired location for the camera. Drill the 3 holes using a 6mm drill bit and insert the dowels provided.
- Connect the power cable to the camera connector and feed the cables into the wall.
- Fix the bracket’s wall plate in place with the screws provided.
- Insert the ball joint and put on the cover. The fixing ring is then screwed on a little.
- Now align the camera so that it is facing the approximate desired coverage area and tighten the fixing ring.
Option 2: Surface-mounted power supply 
First check the signal strength at your location. Hold the camera as close as possible to the desired location: Does the monitor show a smooth live image at the desired location?
- To start the installation, use the drilling template or unscrew the bracket to mark the required 3 drill holes, with its wall plate at the desired location for the camera. Drill the 3 holes using a 6mm drill bit and insert the dowels provided. Feed the cable through one of the recesses in the wall plate. Fix the bracket’s wall plate to the wall with the screws provided.
- Insert the ball joint and put on the cover. The fixing ring is then screwed on a little.
- Now align the camera so that it is facing the approximate desired coverage area and tighten the fixing ring.
- Use a standard weather-protected installation box / junction box (width and height min. 105 mm, depth min. 35 mm) for waterproof installation. Feed the camera’s cable into the box and connect the wiring there. For weather-proof box installation, follow the installation instructions enclosed with it.
LIVE VIEW

- Enable and disable audio / adjust volume
- Zoom
- Menu
- Recordings
- Intercom (press and hold to speak)
ADDITIONAL CAMERAS
The camera supplied in the set is already programmed into the monitor at the factory. If you would like to pair a second camera, proceed as follows:
- Tap the menu icon.
- Tap on “Camera overview”.
- Supply power to the camera. Now the status LED on the front of the camera should light up continuous-ly for 10 seconds. It will then flash continuously. After another 5 seconds, the camera will emit a pairing tone at regular intervals.
- Click on “Add camera”.
- Now the LED should light up continuously for 3 seconds. After 10 sec. the camera will be added to the monitor. After the camera has been successfully paired, an ID will appear in the camera overview.
- Then click on “Stop adding”
- Exit the menu to see the live image from the camera on the monitor.
The quick guide and operating instructions as well as the current firmware can be found in the download area under the following link: www.abus.com/productIPPDF17000
Accessories
![]() | ![]() |
| abus.com/products/PPDF17520 | abus.com/products/TVAC17530 |
Our Support Team will be happy to help you with any further questions:
[email protected]
ABUS / Security Center GmbH & Co. KG
abus.com
Linker Kreuthweg
5 86444 Affing
Germany
Tel: +49 8207 959 90-0
Fax: +49 8207 959 90-190
[email protected]



















