

NT5650/16,
NT5600/16,
NT3650/16

©2020 Philips Japan, Ltd.
4222.002.9305.1 (11/20)
MyPhilips
URL http://www.philips.co.jp/myphilips-about
ENGLISH NT5650, 5600, 3650
1

























Warning
– This appliance can be used by children aged from 8 years and above and persons with reduced physical, sensory or mental capabilities or lack of experience and knowledge if they have been given supervision or instruction concerning use of the appliance in a safe way and understand the hazards involved. Children shall not play with the appliance. Cleaning and user maintenance shall not be made by children without supervision.
– Always check the appliance before you use it. Do not use the appliance if it is damaged, as this may cause injury. Always replace a damaged part with one of the original type.
Caution
– Never immerse the appliance in water. Do not use the appliance in the bath or shower.
– Never use water hotter than 60 °C to rinse the appliance.
– Only use this appliance for its intended purpose as shown in the user manual.
– Use and store the appliance at a temperature between 15 °C and 35 °C.
– For hygienic reasons, the appliance should only be used by one person.
– Do not expose the appliance to direct sunlight.
– Only operate the appliance on 1.5V AA alkaline batteries.
– Do not recharge non-rechargeable batteries.
– Insert batteries with the + and – poles pointing in the direction indicated in the battery compartment or holder.
– Do not short-circuit the supply terminals of batteries.
– Remove batteries from the appliance if you are not going to use it for some time.
– Never use compressed air, scouring pads, abrasive cleaning agents or aggressive liquids such as petrol or acetone to clean the appliance.
Electromagnetic fields (EMF)
This Philips appliance complies with all applicable standards and regulations regarding exposure to electromagnetic fields.
General
– This appliance can be safely cleaned under the tap.
Introduction
Congratulations on your purchase and welcome to Philips! To fully benefit from the support that Philips offers, register your product at www.philips.com/welcome.
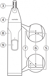
General description (Fig. 1)
- Short eyebrow comb (1/8 in, 3 mm)
- Long eyebrow comb (13/64 in, 5 mm)
- Cutting element
- Trimming head
- ‘Unlocked’ indication
- ‘Locked’ indication
- Setting indicator
- Handle
- On/off slide
- Detailer (NT5600 & NT5650 only)
- Comb for detailer (NT5600 & NT5650 only)
- AA battery
- Cleaning brush
- Pouch
Preparing for use
Inserting the battery
Note: Make sure your hands and appliance are dry when you insert the battery.
- To remove the battery compartment cover, turn it until the setting indicator points to the ‘unlocked’ indication (^).
- Pull the battery compartment cover off the handle (Fig. 3).
- Put the battery in the battery compartment (Fig. 4).
Make sure the + and – poles of the battery point in the right direction.
Note: The appliance operates on one replaceable AA 1.5-volt battery (included). - Slide the battery compartment cover back onto the handle (Fig. 5).
- Turn the battery compartment cover until the setting indicator points to the ‘locked’ indication (0) (Fig. 6).
Using the appliance
Switching the appliance on and off
- To switch on the appliance, slide the on/off slide upwards.
- To switch off the appliance, slide the on/off slide downwards.
Detaching and attaching the attachments
Note: Switch off the appliance before detaching or attaching the attachments.
- To detach the trimming head from the handle, firmly grasp the attachment below the cutting element and turn it until the setting indicator points to the ‘unlocked’ indication (^).
- Lift the trimming head off of the handle.
- To attach the trimming head to the handle, place the attachment on the handle with the setting indicator pointing to the ‘unlocked’ indication (^).
- Firmly grap the attachment below the cutting element and turn it until the setting indicator points to the ‘locked’ indication (0).
Tip: If the trimming head becomes clogged, detach the attachment and rinse it thoroughly with warm water before you reattach it.
Trimming eyebrows with the eyebrow combs
- Comb your eyebrows in the direction of hair growth (Fig. 7).
- Make sure the appliance is switched off. Slide the eyebrow comb onto the trimming head (Fig. 8). The short eyebrow comb trims the hairs to a length of 3 mm (1/8 in). The long eyebrow comb trims the hairs to a length of 5 mm (13/64 in).
Note: Make sure the comb slides into the grooves on both sides of the trimmer. - Switch on the appliance.
- Move the comb over the eyebrow from the outer tip of the eyebrow towards the base of the nose (against the direction of hair growth) (Fig. 9).
- Clean thoroughly after each use (see ‘Cleaning’).
Trimming ear hair
Make sure your outer ear channels are clean and free from wax.
- Switch on the appliance.
- Slowly move the trimming head along the rim of the ear to remove hairs that stick out beyond the rim.
Do not insert the trimming head more than 5 mm (13/64 in) into your ear channel, as this could damage the eardrum.
- Carefully insert the trimming head into the outer ear channel.
- Slowly turn the trimming head around to remove all unwanted hairs from your outer ear channel (Fig. 10).
- Clean thoroughly after each use (see ‘Cleaning’).
Trimming nose hair
Make sure both the appliance and nasal passages are clean before trimming. Dried nasal mucus can block the cutting element, preventing the appliance from turning on.
- Switch on the appliance.
- Slowly move the trimming head along the rim of the nostril to remove hairs that stick out beyond the rim.
- Carefully insert the trimming head into one of your nostrils.
Do not insert the trimming head more than 5 mm (13/64 in) into your nostrils. - Slowly move the trimming head around inside each nostril (Fig. 11), making sure the flat side of the trimmer is held firmly against the skin. (Fig. 12) This will reduce the tickling effect that can occur.
- Clean thoroughly after each use (see ‘Cleaning’).
Using the detailer (NT5600 & NT5650 only)
Use the detailer to shape and maintain your beard, sideburns and neck hair.
- Attach the detailer to the handle. If applicable, attach the 3 mm (1/8 in) comb to the detailer. (Fig. 13)
- Switch on the appliance.
- Hold the appliance at a 45 degree angle to your skin and apply gentle pressure. (Fig. 14)
- Use slow upward and downward strokes to remove unwanted hairs. To trim most effectively, move the appliance against the direction of hair growth.
Tip: Make smooth and gentle movements and make sure the surface of the detailer always stays in contact with the skin.
Cleaning
Cleaning the trimming head
Do not immerse the motor unit in water or any other liquid.
Never use scouring pads, abrasive cleaning agents or aggressive liquids such as gasoline or acetone to clean the appliance or any attachments or accessories.
Do not tap on the cutting elements.
Do not use any sharp objects to clean the cutting elements.
Clean the trimming head immediately after use and when a lot of hair or dirt has accumulated on the cutting elements.
- Use the cleaning brush to remove any excess hair from the cutting element. (Fig. 15)
- Rinse the cutting element of the trimming head with hot water (Fig. 16).
- Switch on the appliance and rinse the cutting element and trimming head again (Fig. 16) to remove any remaining hairs. Then switch off the appliance again.
Tip: If rinsing the trimming head under the tap is not sufficient, immerse the trimming head in a glass with warm water for a few minutes (Fig. 17). Then switch on the appliance and rinse it under the tap. - Rinse the combs with lukewarm water (Fig. 18).
You can also use the cleaning brush to clean the eyebrow combs. - Carefully shake off excess water and let all parts air dry (Fig. 21).
Cleaning the detailer (NT5600 & NT5650 only)
Clean the detailer and comb immediately after use and when a lot of hair or dirt has accumulated on the cutting elements.
- Use the brush to remove any excess hair from the detailer (Fig. 19) and comb.
- Switch on the appliance and rinse the detailer under the tap with water water (Fig. 20).
- Turn off the appliance again.
- Rinse the detailer comb under the tap with warm water.
- Carefully shake off excess water and let all parts air dry (Fig. 21).
Let all parts dry completely before you use the appliance again.
Storage
Store the appliance in a safe, dry location, using the pouch provided. Ensure that the appliance and accessories are completely dry before inserting them into the pouch.
Recycling
– Do not throw away the product with the normal household waste at the end of its life, but hand it in at an official collection point for recycling. By doing this, you help to preserve the environment.
– This product contains disposable batteries which shall not be disposed of with normal household waste.
– Follow your country`s rules for the separate collection of electrical and electronic products and batteries. Correct disposal helps prevent negative consequences for the environment and human health.
Removing the disposable batteries
To remove the disposable batteries, see chapter ‘Preparing for use’.
Warranty and support
If you need information or support, please visit www.philips.com/support or read the international warranty leaflet.
Warranty restrictions
Cutting units are not covered by the terms of the international warranty because they are subject to wear.




















