
REPAIR PARTS
GSXN3N Remote Condensing Unit

GSXN3N1810AA
GSXN3N2410AA
GSXN3N3010AA
GSXN3N3610AA
GSXN3N4210AA
GSXN3N4810AA
GSXN3N6010AA
This manual is to be used by qualified technicians only.
© 2022 Goodman Manufacturing Company, L.P. ♦19001 Kermier Rd. ♦ Waller, TX 77484
Important Information
Views shown are for parts illustrations only, not servicing procedures.
Text Codes:
AR – As Required
NA – Not Available
NS – Not Shown
00000000 – See Note
QTY – Quantity Example (QTY 3) (If Quantity not shown, Quantity = 1)
M – Model Example (M1) (If M Code not shown, then part is used on all Models)
Expanded Model Nomenclature:
Example
M1 – Model#1
M2 – Model#2
M3 – Model#3
Goodman Manufacturing Company, L.P. is not responsible for personal injury or property damage resulting from improper service. Review all service information before beginning repairs.
Warranty service must be performed by an authorized technician, using authorized factory parts. If service is required after the warranty expires, Goodman Manufacturing Company, L.P. also recommends contacting an authorized technician and using authorized factory parts.
Goodman Manufacturing Company, L.P. reserves the right to discontinue, or change at any time, specifications or designs without notice or without incurring obligations.
For assistance within the U.S.A. contact:
Homeowner Support
Goodman Manufacturing Company, L.P.
19001 Kermier Road
Waller, Texas 77484
877-254-4729-Telephone
713-863-2382-Facsimile
For assistance outside the U.S.A. contact:
International Division
Goodman Manufacturing Company, L.P.
19001 Kermier Road
Waller, Texas 77484
713-861-2500-Telephone
713-863-2382-Facsimile
Functional Parts
| Part No: | Description: |
| 0151R00185 | BASE VALVE 3/4″ (M1, M2, M3, M4) |
| 0151R00187 | BASE VALVE 3/8″ |
| 0151R00186 | BASE VALVE 7/8″ (M5, M6, M7) |
| 0150M00012 | BLADE-FAN 20″ CCW (M1, M2) |
| CAB050350440CS | CAP, 5/35 MFD/440V RD – BPRF (M2) |
| CAB050400440CT | CAP, 5/40 MFD/440V RD – BPRF (M3, M4) |
| CAB050450440CT | CAP, 5/45 MFD/440V RD – BPRF (M5, M6) |
| CAB050700440CT | CAP, 5/70 MFD/440V RD – BPRF (M7) |
| CAP050300440CS | CAP,5/30MFD/440V/DUAL RD (M1) |
| 0130R00116 | CAPACITOR HARD START (M2, M3) |
| ZP40K6EPFV120 | COMP, 53700, 208/230/60/1 (M6) |
| 50N4928V-ZAKM | COMPRESSOR (M2) |
| 50N3829V-ZAKM | COMPRESSOR (M1) |
| ZP29K7EPFV130 | COMPRESSOR, COPELAND (M4) |
| ZP51K7EPFV130 | COMPRESSOR, COPELAND (M7) |
| ZP34K7EPFV130 | COMPRESSOR, COPELAND (M5) |
| CONT1P030024V | CONTACTOR 30 AMP, 1P, 24V |
| 0150M00008 | FAN BLADE, 22″ TNT2203-25 (M3, M4, M5) |
| 0150M00054 | FAN BLADE, 26″ (M6, M7) |
| 0131M00807 | MOTOR, 1/4HP,1SP,8PL,AL (M6, M7) |
| 0131M00753 | MOTOR, 1/6HP, 1SP, 8PL, AL (M3, M4, M5) |
| 0131M00969 | MOTOR, 1/8HP, 8PL, PSC (M1, M2) |
| 5VS250FAC21 | PANASONIC COMPRESSOR (M3) |
| 0130M00851 | PRE-WIRED RELAY, HARD START (M2, M3) |
| 0130M00089 | SW-CUTOUT HI PRESS (M1, M2, M3) |
SPECIAL PARTS
0161R00092 NAMEPLATE, GOODMAN
Expanded Model Nomenclature
M1 – GSXN3N1810AA
M2 – GSXN3N2410AA
M3 – GSXN3N3010AA
M4 – GSXN3N3610AA
M5 – GSXN3N4210AA
M6 – GSXN3N4810AA
M7 – GSXN3N6010AA
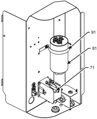
Control Panel Assembly
CONTROL PANEL ASSEMBLY

UPPER ACCESS COVER

LOWER ACCESS PANEL
CONTROL PANEL ASSEMBLY MAY DIFFER FROM WHAT IS SHOWN
| Ref. No: | Part No: | Description: |
| Image 1: | ||
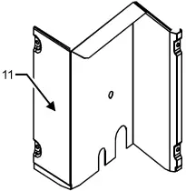
| 11 | 0121R00909PDG | PNL, LWR ACCESS (M5, M7) |
| 11 | 0121R00912PDG | PNL, LWR ACCESS (M6) |
| 11 | 0121R00915PDG | PNL, LWR ACCESS (M1) |
| 11 | 0121R00919PDG | PNL, LWR ACCESS (M2, M3, M4) |
| 21 | 0121R00937PDG | CONTROL COVER, PNT |
| 71 | CONT1P030024V | CONTACTOR 30 AMP, 1P, 24V |
| 81 | CAB050350440CS | CAP, 5/35 MFD/440V RD – BPRF (M2) |
| 81 | CAB050400440CT | CAP, 5/40 MFD/440V RD – BPRF (M3, M4) |
| 81 | CAB050450440CT | CAP, 5/45 MFD/440V RD – BPRF (M5, M6) |
| 81 | CAB050700440CT | CAP, 5/70 MFD/440V RD – BPRF (M7) |
| 81 | CAP050300440CS | CAP,5/30MFD/440V/DUAL RD (M1) |
| 91 | 4400065 | CAPACITOR STRAP (M2, M4) |
| 141 | 0130R00116 | CAPACITOR HARD START (M2, M3) |
| 161 | 0130M00851 | PRE-WIRED RELAY, HARD START (M2, M3) |
| NS | 0121R00854 | HARD START KIT BRACKET (M2, M3) |
| NS | 0161R00092 | NAMEPLATE, GOODMAN |
Expanded Model Nom enclature
M1 – GSXN3N1810AA
M2 – GSXN3N2410AA
M3 – GSXN3N3010AA
M4 – GSXN3N3610AA
M5 – GSXN3N4210AA
M6 – GSXN3N4810AA
M7 – GSXN3N6010AA
Compressor and Tubing Assembly
TUBING ASSEMBLY


COMPRESSOR DETAIL STYLE 1

A: SEE COMPRESSOR DETAIL

COMPRESSOR DETAIL STYLE 2
ACTUAL TUBING ASSEMBLY MAY DIFFER FROM WHAT IS SHOWN
Compressor and Tubing Assembly
| Ref. No: | Part No: | Description: |
| Image 1: | ||
| 11 | 0201R00296 | COIL TUBING ASSEMBLY (M3, M4) |
| 11 | 0201R00311 | COIL TUBING ASSY (M6) |
| 11 | 0201R00666 | COIL TUBING ASSY (M2) |
| 11 | 0201R00778 | COIL TUBING ASSY (M1) |
| 11 | 0201R00809 | COIL TUBING ASSY (M7) |
| 11 | 0201R00816 | COIL TUBING ASSY (M5) |
| 31 | 0151R00185 | BASE VALVE 3/4″ (M1, M2, M3, M4) |
| 31 | 0151R00186 | BASE VALVE 7/8″ (M5, M6, M7) |
| 41 | 0151R00187 | BASE VALVE 3/8″ |
| 51 | 0130M00089 | SW-CUTOUT HI PRESS (M1, M2, M3) |
| 61 | 0154M00003 | GASKET, TERM COVER (M3) |
| 61 | 60100107 | TERMINAL COVER GASKET (M1, M2) |
| 71 | 0130M00028 | TERMINAL COVER (M3) |
| 71 | 60100317 | TERMINAL COVER (M1, M2) |
| 81 | 0163M00468 | TERMINAL COVER NUT (M3) |
| 81 | 60100401 | TERMINAL NUT – RECHI COMP (M1, M2) |
| 91 | 0154M00078 | TERMINAL COVER NUT GASKET (M3) |
| 91 | 60100201 | WASHER – RECHI COMPRESSOR (M1, M2) |
| 101 | 60140209 | GROMMET – RECHI COMPRESSOR (M1, M2) |
| 101 | 0164M00000P | GROMMET, COMP, PANASONIC (M3) |
| 111 | 0163M00186 | SCREW-SHOULDER TF (M1, M2) |
| 111 | 0163M00502 | SCREW-SHOULDER TF BLUE (M3) |
| 121 | 0159R00020 | HARNESS, COMP SCROLL (M4, M5) |
| 121 | 0159R00002P | HARNESS, COMP SCROLL 130 46″ (M6, M7) |
| 131 | 0162R00057 | FILTER DRIER |
| 141 | 0121R00005PDG | BASE PAN 26″ (M1, M2) |
| 141 | 0121R00006PDG | BASE PAN 29″ (M3, M4, M5) |
| 141 | 0121R00007PDG | BASE PAN 35″ (M6, M7) |
| 161 | ZP40K6EPFV120 | COMP, 53700, 208/230/60/1 (M6) |
| 161 | ZP29K7EPFV130 | COMPRESSOR, COPELAND (M4) |
| 161 | ZP34K7EPFV130 | COMPRESSOR, COPELAND (M5) |
| 161 | ZP51K7EPFV130 | COMPRESSOR, COPELAND (M7) |
| 171 | 50N3829V-ZAKM | COMPRESSOR (M1) |
| 171 | 50N4928V-ZAKM | COMPRESSOR (M2) |
| 171 | 5VS250FAC21 | PANASONIC COMPRESSOR (M3) |
| 271 | M0221641 | TF SHOULDER SCREW (M4, M5, M6, M7) |
| 281 | B1339533 | COMPRESSOR GROMMET (M4, M5, M6, M7) |
| NS | B1789851 | FLOW CHECK PISTON KIT (M1) |
| NS | B1789857 | FLOW CHECK PISTON KIT (M2) |
| NS | B1789867 | FLOW CHECK PISTON KIT (M3) |
| NS | B1789870 | FLOW CHECK PISTON KIT (M4) |
| NS | B1789874 | FLOW CHECK PISTON KIT (M5) |
| NS | B1789878 | FLOW CHECK PISTON KIT (M6) |
Expanded Model Nom enclature
M1 – GSXN3N1810AA
M2 – GSXN3N2410AA
M3 – GSXN3N3010AA
M4 – GSXN3N3610AA
M5 – GSXN3N4210AA
M6 – GSXN3N4810AA
M7 – GSXN3N6010AA
Top and Louver Panel Assembly
TOP PANEL AND LOUVER PANEL ASSEMBLY
TOP VIEW BOTTOM VIEW

LOUVER PANEL ASSEMBLY STYLE 1

LOUVER PANEL ASSEMBLY STYLE 2

TOP PANEL AND LOUVER ASSEMBLY MAY DIFFER FROM WHAT IS SHOWN
| Ref. No: | Part No: | Description: |
| Image 1: | ||
| 11 | 0121R00931PDG | PANEL, TOP 26. PNT (M1, M2) |
| 11 | 0121R00935PDG | PANEL, TOP 29. PNT (M3, M4, M5) |
| 11 | 0121R00936PDG | TOP PANEL, 35. PNT (M6, M7) |
| 21 | 0152R00024 | 26″ GRILLE CFS (M1, M2) |
| 21 | 0152R00025 | 29″ GRILLE CFS (M3, M4, M5) |
| 21 | 0152R00026 | GRILL, WIRE 35. TOP (M6, M7) |
| 31 | 0131M00807 | MOTOR, 1/4HP,1SP,8PL,AL (M6, M7) |
| 31 | 0131M00753 | MOTOR, 1/6HP, 1SP, 8PL, AL (M3, M4, M5) |
| 31 | 0131M00969 | MOTOR, 1/8HP, 8PL, PSC (M1, M2) |
| 41 | 0163M00006P | ACORN NUT 5/16 HEX BLACK (QTY 4) |
| 51 | 0150M00012 | BLADE-FAN 20″ CCW (M1, M2) |
| 51 | 0150M00008 | FAN BLADE, 22″ TNT2203-25 (M3, M4, M5) |
| 51 | 0150M00054 | FAN BLADE, 26″ (M6, M7) |
| 61 | 0161R00103 | 26″ VENTURI CFS (M1, M2) |
| 61 | 0161R00104 | 29″ VENTURI CFS (M3, M4, M5) |
| 61 | 0161R00105 | 35″ VENTURI CFS (M6, M7) |
| 71 | 0161R00001P | CONDUIT (M1, M2) |
| 71 | 0161R00002P | CONDUIT (M3, M4, M5) |
| 71 | 0161R00100 | CONDUIT (M6, M7) |
| 81 | 0163M00003P | SCREW,#10 X 1/2,A,SLOT,SR,BLK (QTY 4) |
| 91 | 0154R00045 | GASKET, CONTROL PANEL |
| 101 | 0163M00004 | SCREW 10X3/4 BLK (QTY 4) |
| 111 | 0121R00228PDG | PANEL 1, LOUVER 35, 5MM, PNT (M6) |
| 111 | 0121R00229PDG | PANEL 1,LOUVER 35,37.8 5MM,PNT (M7) |
| 121 | 0121R00232PDG | PANEL 2, LOUVER 35 (M7) |
| 121 | 0121R00231PDG | PANEL 2, LOUVER 35, 5MM, PNT (M6) |
| 131 | 0121R00235PDG | PANEL 3, LOUVER 35, 37.8 (M7) |
| 131 | 0121R00234PDG | PANEL 3, LOUVER 35, 5MM, PNT (M6) |
| 151 | 0121R00347PDG | Louv er Post, PDG 23.73 (M1) |
| 151 | 0121R00350PDG | Louv er Post, PDG 28.73 (M2, M3, M4) |
| 151 | 0121R00354PDG | Louv er Post, PDG 36.30 (M5) |
| 161 | 0121R00336PDGLS | Louv er Panel, PDG 26″_23.73 (M1) |
| 161 | 0121R00337PDGLS | Louv er Panel, PDG 26″_28.73 (M2) |
| 161 | 0121R00342PDGLS | Louv er Panel, PDG 29″_28.73 (M3, M4) |
| 161 | 0121R00346PDGLS | Louv er Panel, PDG 29″_36.30 (M5) |
| 171 | 0121R00336PDGRS | Louv er Panel, PDG 26″_23.73 (M1) |
| 171 | 0121R00337PDGRS | Louv er Panel, PDG 26″_28.73 (M2) |
| 171 | 0121R00342PDGRS | Louv er Panel, PDG 29″_28.73 (M3, M4) |
| 171 | 0121R00346PDGRS | Louv er Panel, PDG 29″_36.30 (M5) |
| NS | 0163M00005P | WASHER, BLACK (.50 OD .218D) (QTY 4) |
Expanded Model Nom enclature
M1 – GSXN3N1810AA
M2 – GSXN3N2410AA
M3 – GSXN3N3010AA
M4 – GSXN3N3610AA
M5 – GSXN3N4210AA
M6 – GSXN3N4810AA
M7 – GSXN3N6010AA
RP-G4336 www.goodmanmfg.co www.amana-hac.com
















