Kyvol V20 Cordless Vacuum Cleaner User Manual
Cordless Vacuum Cleaner
User Manual

Model No.: V20
Please read this guide first!
Dear Customer,
Thank you for choosing Ganiza product. We would like you to achieve the optimal efficiency from this high-quality product which has been manufactured with state of art technology. Please make sure you read and understand this guide and supplementary documentation fully before use and keep it as a reference. Include this guide with the unit if you hand it over to someone else. Observe all warnings and information herein and follow the instructions.
Important Safety and environmental instructions
- This device can be used by children over 8 years of age, people with physical, sensory or mental challenges or people with lack of experience or knowledge if control is ensured, or information is provided regarding the hazards. Children must not play with the appliance. Cleaning and user maintenance shall not be carried out by unattended children.- Close attention is necessary when used by or near children.
- Do not use the appliance if the power cord or the appliance is damaged. Damaged or modified batteries may exhibit unpredictable behavior resulting in fire, explosion or risk of injury.If appliance is not working as it should, has been dropped, damaged, left outdoors, or dropped into water, return it to a service center.
- Your mains power supply shall match the information shown on the rating plate label of the appliance.
- To prevent damage to the power cord, prevent it from being pinched, crimped or rubbed against sharp edges.Do not pull or carry by cord, use cord as a handle, close a door on cord, or pull cord around sharp edges or corners. Do not run appliance over cord. Keep cord away from heated surfaces.
- Do not pull on the cord while unplugging the appliance.To unplug, grasp the plug, not the cord.
- Do not vacuum flammable materials and ensure that the cigarette ashes are cooled down before vacuuming them.Do not vacuum anything that is burning or smoking, such as cigarettes, matches, or hot ashes.
- Do not vacuum water and other fluids.Do not use to pick up flammable or combustible liquids, such as gasoline, or use in areas where they may be present.
- Protect the appliance against precipitation, humidity and heat sources.
- Do not use the appliance in or near explosive or flammable environments and substances.
- Unplug the appliance before cleaning and maintenance.
- Do not immerse the appliance or its power cord in water for cleaning.
- Do not disassemble the appliance.
- Use only original parts or parts recommended by the manufacturer.Use only as described in this manual.
- To prevent blockage of the filter or damage to the motor, do not vacuum cement, plaster or fragments of compressed paper.
- Use the appliance with the HCX HCX1501-2700500U adapter delivered with the appliance only. A charger that is suitable for one type of battery pack may create a risk of fire when used with another battery pack.
- Do not use the appliance without filters, it may get damaged.
- If you keep the packaging materials, keep them out of the reach of children.
- This appliance is not intended to be used by persons, including children, with physical, sensory and mental disabilities or those who have not adequate experience and knowledge regarding its use, unless they are under the supervision of a person responsible for their safety, or they are informed about the operation of the appliance.
- Children shall be supervised to prevent them from playing with the appliance.
- To avoid any risk of hazard, a damaged adaptor shall be replaced by the manufacturer.
- Keep your fingers, hair and loose clothes away from moving parts or clearances while vacuuming.
- Batteries shall be removed from the appliance before discarding the appliance.
- Please discard used batteries in accordance with local laws and regulations. Never dispose in the fire or water as this may increase the risk of explosion or contamination.
- The batteries included in this appliance may only be replaced or repaired in accordance with relevant safety regulations by qualified persons, the battery cannot be removed for other purposes.
- Appliance is not intended to be operated for commercial purposes. It is intended for household use only.
- Do not block the appliance opening or hider air flow so as not to affect its heat dissipation effect.Do not put any object into openings. Do not use with any opening blocked; keep free of dust, lint, hair, and anything that may reduce air flow.
- Do not use the appliance if any signs of charger or power wire damage or aging.
Unplug from outlet when not in charging and before servicing.
Do not use outdoors or on wet surfaces
Turn off all controls before connecting any accessory.
Do not handle plug or appliance with wet hands.
Turn off all controls before unplugging.
Use extra care when cleaning on stairs.
Prevent unintentional starting. Ensure the switch is in the off-position before picking up or carrying the appliance. Carrying the appliance with your finger on the switch or energizing appliance that have the switch on invites accidents.
Battery
- The battery pack should not be placed near excessive heat sources, such as fire. Avoid storing the battery pack in the direct sunlight.Exposure to fire or temperature above 130°C may cause explosion.
- The supply terminals are not to be short-circuited.Shorting the battery terminals together may cause burns or a fire.
- If the battery pack becomes exhausted, it should be removed from the appliance to avoid leakage.
- In the event of the battery pack leaking, do not allow any liquid to touch with the skin or eyes. If touch has been made, wash the affected area with copious amount of water and seek for medical advice.Under abusive conditions, liquid may be ejected from the battery; avoid contact. If contact accidentally occurs, flush with water. If liquid contacts eyes, additionally seek medical help. Liquid ejected from the battery may cause irritation or burns. (This advice is considered correct for conventional NiMh, NiCd, lead acid and lithium-ion cell types. If this advice is incorrect for a cell design that differs from these, then the correct advice may be substituted.)
- Keep the battery pack out of reach by children.
- Do not dispose of the battery pack in a fire.
- Do not crush, puncture, dismantle or otherwise damage the battery pack.
- Do not store above 60°C. Keep hair, loose clothing, fingers,and all parts of body away from openings and moving parts.Use or charge between temperature range of 5-40°C.
- Do not expose the battery pack to heat or fire as they may explode.
- Do not subject the battery pack to mechanical shock.
- Do not dispose of the exhausted battery pack in household waste, take it to a local recycling station. Contact the local government offices for further details.
- This appliance is fitted with a rechargeable Li-ion battery pack.
When not in use, keep battery pack away from other metal objects, like paper clips, coins, keys, nails, screws or other small metal objects, that can make a connection from one terminal to another.
Follow all charging instructions and do not charge the appliance outside of the temperature range specified in the instructions. Charging improperly or at temperatures outside of the specified range may damage the battery and increase the risk of fire.
Have servicing performed by a qualified repair person using only identical replacement parts.
This will ensure that the safety of the product is maintained.
Do not modify or attempt to repair the appliance or the battery pack except as indicated in the instructions for use and care.
SAVE THESE INSTRUCTIONS
Overview

Installation
For the convenience of transportation and storage, main unit, floor brush, aluminum tube assy. wall-hung rack, charger, dusting brush and crevice tool packaged respectively on account of relatively large. Please be advised that users should follow the steps below for assembling when they use the product for the first time.
- Aluminum Tube and Brush assembly
Press the electric turbo brush release button No. 2 on the electric turbo brush and push aluminum tube No.1 in the direction of arrow towards the brush; see figure 4-1 and 4-2.
- Aluminum Tube and Main Unit Assembly
Push the main unit No.1 in the direction of arrow towards on the tube and release button. See figure 4-3 and 4-4.
- Installing Charger stand
Place the wall mounted charger stand NO.2 on the selected wall area, then mount the charger stand to the wall with 4 pieces of M4*20 taper screws NO1. The below fig. 4-6 shows the status of the charger stand after mounted. The dusting brush NO.3 and crevice tool NO.4 can also hang on the charger stand when not in use, see figure 4-7.
Operating Instruction
- Overall Unit
Press the power switch NO.1 to start the machine and enter the working state, see figure 5-1; Clean the floor or carpet when rolling brush works, and push the speed-control button NO.2 to switch high and low gears as the initial default setting is low gear. Press again the power switch NO.1 if you want it to suspend; Pay attention to the battery power level LEDs. When the battery power is full, all the 4 LEDs ignite. When the battery is low, only one LED flashes and then all the LEDs will off. The machine will stop working.
- Main Unit Operation
Press release key NO.1 to disassembling aluminum tube and floor brush, see figure 5-4; Push the button NO.2 to power on for cleaning furniture, bed or wall, push the speed-control button NO.3 to switch high and low gears, the initial default setting is low gear, see figure 5-6. Press again the power switch NO.2 if you want it to stop; Please be advised that battery capacity light NO.4 displays white when it is fully charge, the red light flashing when it is out of power, it will stop working automatically when light is off.

- Crevice Tool and Dusting Brush Operation
The crevice tool NO.1 is for cleaning the rear of furnitures, hard to reach areas and narrow areas, dusting brush NO.2 mainly for curtains, waxed furniture and delicate and fragile objects; Both can match with main unit or aluminum tube assy., such comes in handy when power on, see figure 5-7, 5-8, 5-9 and 5-10.
Battery Charging
- Charging mode showed as in figure 6-1. The square hole No. 2 is behind the body of the appliance which need to be hanged into the charger stand No 1. The charger indicator shows white light flashing and the light will last one minute on after fully charged, the charging time is about 4-6 hours. After fully charged then remove the appliance from the charger stand by press down the charger hook handle No 3.

Attention: The appliance is unable to work when is charging.
Cleaning & Maintenance
- Pull the release key button back and remove the dust cup from main unit by turning clockwise.

- Hold the filter bin handle NO.3 and pull the filter NO.4 out of dirt bin; Wash the dust cup under a tap if necessary then wipe it dry completely before using.

- Hold the filter bin handle NO.3 to rotate counterclockwise. Tap the dirt from the HEPA filter NO.6 and tip any dirt from the filter housing. Gently wash filter housing and HEPA filter under a tap, then keep dry before reinserting back.

- Refit the HEPA filter back onto filter housing and slide them back into dust cup then assemble in main unit after cleaning. See figure 7-6.

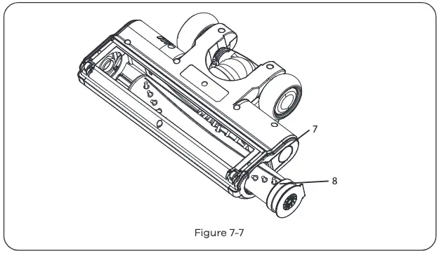
- If the brush bar jams during use, press the brush roll release button NO.7 and rolling brush NO.8 automatically pop up, then pull it out from the side.

- To remove hair from the brush bar, run a razor blade down the groove to cut the hair the pull it off, then re-insert back to the floor brush.

- The one touch Easy-Clean Dust Cup makes quick, easy and hygienic. See figure 7-9. (Dust disposal: hold the vacuum above a dust bin. Pull the Dust Release Ring 9 with a finger so that the Dust Cup Cover 10 pivots down and the dust inside the Dust Cup will fall out into the dust bin.)
Storage

Product Care: please be advised that you may clean the dust cup after using every time; Wash or replace it if too much dust or blockage; remove hair from the brush bar if jams and keep it tangle-free after use in a long time so that the vacuum cleaner work more efficiently.
- If you do not intend to use the appliance for a long time, store it carefully.
- Unplug the appliance.
- Ensure that the appliance is kept out of reach of children.
- If you shall not be using the battery for a long period of time, please keep it in a cool and dry place at half charged condition. Do not charge or discharge completely.
- Store the battery on a non-conducting material, and do not allow the battery to contact metal directly. This shall damage the battery.
Warranty
Your appliance has the benefit of our guarantee which covers the product for 12 months from the date of original purchase. This gives you the reassurance that if within that time, your appliance is proven to be defective because of either workmanship or materials, we will at our discretion either repair or replace your appliance. The appliance must be correctly installed, located and operated in accordance with the instructions contained in the user manual. The guarantor disclaims any liability for accidental or consequential damage.
- The Guarantee is subject to the following conditions.
- Documentary proof of the original purchase date is provided.
- The appliance has been installed and operated correctly and in accordance with our operating and maintenance instructions.
- The appliance is used only on the electricity supply on the rating plate.
- The appliance has only been used for normal domestic purposes.
- The appliance has not been altered, serviced, dismantled or otherwise interfered with by any person.
- Any parts removed during repair work or any product that has been replaced becomes our property.
- The guarantee is not transferrable if the product is resold.
- The Guarantee does not cover:
- Accidental damage, misuse or abuse.
- Replacement of any consumable item or accessories. These include but are not limited to: plugs, cables, light bulbs, knobs, filters and flaps.
- Repairs or replacements required as a result of unauthorised repairs or inexpert installation that fails to meet the requirements contained in the user guide or instruction book.
- Repairs to products used in commercial or non-residential household premises
How to obtain after sales service, help or general advice
Please keep your purchase receipt or other proof of purchase in a safe place as you will need to show us this document if your product requires attention within the guarantee period. Please also record your product details below, which will allow you to access our services more quickly and help us identify your product.

Linkzone Technology Co., Limited
ROOM 510 5/F WAYSON COMMERCIAL BLDG 28 CONNAUGHT
ROAD WEST SHEUNG WAN HK
[email protected]
www.ganiza.com































