Royal Gourmet ZH3003 Durable 3 Burner Gas, Charcoal Combo Grill Owner’s Manual
FOR YOUR SAFTY
FOR YOUR SAFETY!
Use outdoors only! Do not use it in a building, garage or any other enclosed areas. Read the instructions before assembling and using the appliance. DO NOT use the grill unless it is completely assembled and all the parts are securely fastened. This grill will become very hot, do not move it during operation. Keep children and pets away.
CONTACT US FIRST!
This grill has been made to high quality standards. If you have any questions that are not addressed in this manual, or you need parts, please call our customer service hotline or send an email to service©royalqourmetusa.com
- DO NOT store or use gasoline, or any flammable vapors and liquids within 8m (25ft ) of the grill.
- When cooking with oil/grease, do not allow the oil/grease to exceed 177”C ( 3509) DO NOT store extra cooking oil in the vicinity of the grill.
- A liquid propane (LP) tank (cylinder) not connected for use should be stored at a minimum of 3m(10ft) away from grill or any appliance. Never fill the gas cylinder beyond 80 percent full. If the above information is not followed exactly, a fire causing death or serious injury may occur.
Call us first! DO NOT return the grill to the retailer. This grill has been made to high quality standards. If you have any questions not addressed in this manual, or you need parts, please call the customer service hotline.
NOTE: The assembly and use of this grill must conform to local codes. In absence of local codes, use the National Gas and Propane Instruction Code. Read all instructions prior to assembly and use.
CAUTION:
- This grill is for use with propane gas only (propane gas cylinder not included).
- Never attempt to attach this grill to the self-contained propane system of a camper trailer, motor home or house.
- Never use charcoal or lighter fluid with gas grills.
- DO NOT use gasoline, kerosene, or alcohol for lighting. The LP gas cylinder must be constructed and marked in accordance with the specifications for propane gas cylinders of National Standard of America CAN/CSA-B339, Cylinder, Spheres, and Tubes for Transportation of Dangerous Goods. This grill is not intended to be used in or on recreational vehicles or boats.
- DO NOT attempt to move the grill while it is lit or hot.
- DO NOT use grill unless it is completely assembled and all parts are securely fastened and tightened.
- DO NOT use grill or any gas products near unprotected combustible buildings and materials.
- DO NOT use in the presence of gases or vapors. Keep grill area clear and free from combustible materials. gasoline, and other flammable vapors and for liquids.
- DO NOT touch metal parts of the grill until it has completely cooled (about 45 minutes) to avoid burns, unless you are wearing protective gear (oven mitts, pot holders, and etc.).
- DO NOT alter grill in any manner.
- Keep all combustible items and surfaces at least 91cm (36 inches) away from the grill at all times.
- Clean and inspect the hose before each use. If there is evidence of abrasion, wear, cuts, or leaks, the hose must be replaced before operating the grill. The replacement hose assembly must be as specified by the manufacturer.
- Move gas hose as far away as possible from hot surfaces and dripping hot grease.
- Never keep a filled gas cylinder in a hot car or truck. Heat will cause the gas pressure to increase, which may open the relief valve and allow the gas to escape.
- Keep the grill’s valve compartment, burners and circulating air passages clean. Inspect the grill before each use.
FOR YOUR SAFETY
- The minimum distances around the grill that must be kept free of combustible materials is 90 cm (36 inches), which includes the walls of buildings or building features.
- Do not place the grill where there are combustible surfaces overhead.

Explosion View


Parts and Hardwers
| Ref | Description | Illustration | QTY | ||
| 1. | Bottom shelf | 11 | |||
| 2. | Right side shelf | ![]() | |||
| 3. | Left side shelf | ![]() | 1 | ||
| 4. | Cart beam | 2 | |||
| 5. | Caster | ![]() | 2 | ||
| 6. | Wheel axle | ![]() | 1 | ||
| 7. | Wheel & cover | 2 | |||
| 8. | Middle brace | ![]() | 2 | ||
| 9. | Middle shelf | 1 | |||
| 10. | Fireboxes | ![]() | 1 | ||
| 11. | Side table (R) | ![]() | 1 | ||
| 12. | Side table (L) | ![]() | 1 | ||
| 13. | Airvent handle | ![]() | 1 | ||
| 14. | Lifting handle | ![]() | 1 | ||
| 16. | Airvent cover | 2 | |||
| 16. | Flame tamer | ![]() | 3 | ||
| 17. | Cooking grate | ![]() | 4 | ||
| 18. | Warming rack | 2 | |||
| 19. | Grease tray | 1 | |||
| 20. | Grease cup brace | ![]() | 2 | ||
| 21. | Ash pan | ![]() | 1 | ||
| 22. | Grease cup | ![]() | 1 | ||
| 23. | Bottle opener | ![]() | 1 | ||
| 24. | Extention wire | 1 | |||
| 25. | Tank base | 1 | |||
| 26. | Tank hook | ![]() | 1 | ||
| A | M6x12 | 44pcs | B | Washer | 2pcs | C | M5x10 | 2pcs | D | M4x8 | 4pcs | E | M6x50 | 4pcs | |||||||
![]() | ![]() | ![]() | ![]() | ||||||||||||||||||
| F | M6 | 8pcs | G | M4 | 4pcs | H | Split pin | 2pcs | |||||||||||||
![]() | ![]() | ![]() | |||||||||||||||||||
PAEPARATION
Before beginning assembly, make sure all parts are present. Compare parts with packaged contents list and diagram above. If any parts are missing or damaged, do not attempt to assemble the products. Contact customer service for replacement parts via telephone or email.

- Estimated assembly time: 40 minutes
- Tools required for assembly: Phillips Screwdriver (not included) and Wrench (not included)
- Note: The right and left sides of the grill are designed as if you are facing the front of the grill.
ASSEMBLY INSTRCUTIONS
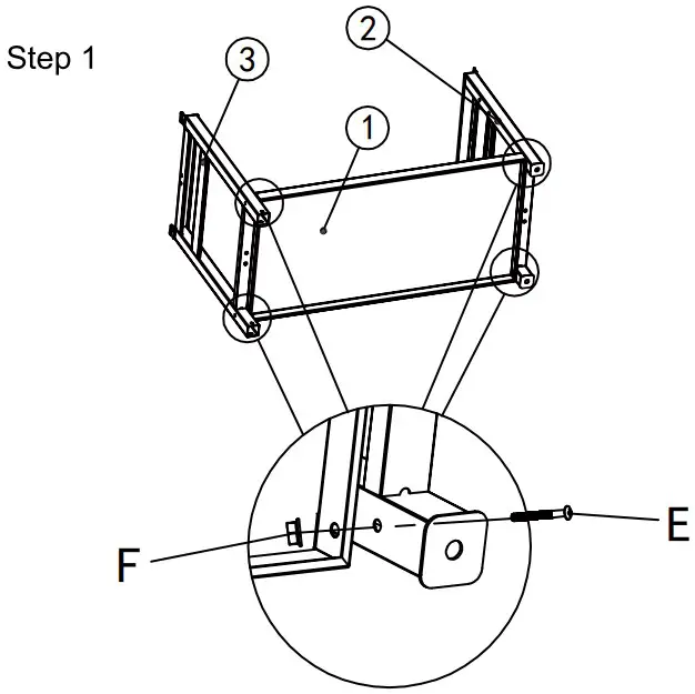
Assemble the right side shelf (2) and left side shelf (3) to the bottom shelf (1 ) with 4 bolts (E) and 4 nuts (F) as shown.
Assemble the cart beam (4) to side shelves with 8 bolts (A).
Assemble the casters (5 ) to right side shelf (2). twist clockwise.
Slide the wheel axle (6) through the left side shelf (3), attach the wheel washers (B) and wheels (7) on the axle from both sides. Secure them with 2 split pins (H). Attach the wheel cover back to the wheels.
Fasten the middle braces (8) to cart beams with 4 bolts (A).
Assemble the middle shelf 9 ) to the middle braces with 4 bolts (A) and 4 nuts (F).
Align and place the fireboxes (10) onto the cart , fasten them to cart braces with 4 bolts (A). Half screw 4 bolts (A) to shown positions of the fireboxes.
Assemble the right side table (11 ) to the fireboxes by hanging it to the half screwed bolts, fasten it with 4 bolts (A). Then secure the half screwed bolts.
Assemble the right side table (12)to the fireboxes by hanging it to the half screwed bolts , fasten it with 4 bolts (A). Then secure the 2 bolts half screwed.
Fasten the side tables from the inside of fireboxes with 8 bolts (A).
Screw the airvent handle (13) to the control panel twist clockwise.
Screw the lifting handle (14) to the control panel twist clockwise.
Install the airvent covers (16) to the charcoal lid with 2 bolts (C).
Place the flame tamers (16) into the gas grill.
Place the cooking grates (17) into the fireboxes
Place the warming racks (18) into the fireboxes.
Assemble the grease cup brace (22) to the grease tray (21) with 4 bolts (D) and 4 nuts (G).
Slide the ash pan (23) and grease tray (21) underneath the fireboxes.
Attach the grease cup (22) underneath the grease tray .
Loosen 2 bolts of the middle of control panel, fasten the bottle opener 3 ) to fireboxes, screw back the bolts as shown.
Loosen 1 bolt of left side of control panel, extension wire (24) to main body, screw back the bolt as shown.
Fasten the tank hook (26) to side cart brace with 2 bolts (A). Fasten the tank base (25) to bottom shelf with 2 bolts (A).
General Information and Instructions
Your new Grill has been designed and manufactured to high-quality standards. It will provide you with many years of enjoyment but a minimal amount of maintenance needed. Please keep in mind the following FOR YOUR SAFETY. Operation
- Your gas grill requires reasonable care during operation. It will be hot during cooking and cleaning. Never leave the grill unattended or move the grill when in use.
- Children should never use your gas grill. Keep younger children and pets away when in use.
- Only use your gas grill outside in a well-ventilated area. Never use indoors which includes any building, garage, shed, or under any type of flammable canopy or overhang.
- Ensure your grill is on level ground and the locking casters are locked before use.
- Turn all gas valves off when the burners go out in cooking
- Turn the burners off, and shut off the LP tank when a grease fire occur
- Keep the grilling area clear and free from combustible materials, gasoline, and other flammable vapors and liquids.
- Keep the ventilation openings of the tank enclosure free and clear from debris.
- Do not lean over the grill or touch the edges of the firebox, air vent, or griddle top when in use.
- Do not obstruct the flow of air for combustion and ventilation.
- Do not use charcoal briquettes, lava rock, or any type of ceramic product in the gas section of this grill.
- Do not install or use on or in a reconstructive vehicle or boats.
LP Gas and Cylinder Information
Your new gas grill operates on LP (Liquid Petroleum) Gas.lt is odorless,colorless,and non-toxic when produced. You can smell LP gas as it has been given an odor similar to rotten cabbage for your safety.
Your grill uses the newest and safest LP gas cylinder (tank) which includes two features:
- An OPD. (Overfill Protection Device) — prevents accidental gas leaks caused by overfilling of the tank. Each tank contains a float that closes the input valve when the tank is 80% full. This allows room for the propane gas to expand in hot temperatures. A triangular hand wheel distinguishes this type of tank.
- An OCC1 Type1 Quick Connect Valve that provides fast tank hook-ups and requires only to be tightened by hand.

TRANSPORTATION AND STORAGE
- The propane tank must include a collar to protect the gas supply valve.
- Do not store a spare propane tank under or near the grill.
- Never fill the propane tank beyond 80 percent full.
- If the warnings in 2 and 3 above are not heeded exactly, a fire causing death or serious injury may occur.
- Always transport in an upright position.
- Do not smoke when transporting your propane tank. 7. Place a dust cap on the tank gas valve outlet whenever the tank is not in use. Use only the type of dust cap that is provided with the tank valve when purchased. Other types of cap or plugs may result in leakage of propane.

CYLINDER SPECIFICATIONS
When purchasing or exchanging a tank for your gas grill, it must be constructed and marked in accordance with the specifications for LP gas cylinders of the National Standard of America, CAN/CSA- B339 Cylinders, Spheres, and Tubes for Transportation of Dangerous Goods, be equipped with a listed over-filling prevention device (OPD), and be equipped with a cylinder connection device compatible with the connection for outdoor cooking appliances.
The cylinder must also be equipped with:
- A shut-off valve terminating in a Type 1 gas cylinder valve outlet
- A Type 1 valve that prevents gas flow until a positive seal is made
- A collar to protect the cylinder shut-off valve
- A safety relief device having direct communication with the vapor space of the cylinder
WARNING
A frosty cylinder valve indicates possible gas overfill. Close the LP valve and call your dealer immediately.
LP GAS CYLINDER (NOT SUPPLIED WITH THIS GRILL)
- The LP (Liquid Propane) gas tank specifically designed to be used with this grill must have a 20 lb (9.1kg) capacity incorporating a Type 1 cylinder valve and an over- filling protection device (OPD).
- This grill is designed to fit Worthington, Manchester, or SMPC brand 2&lb (9.1kg) cylinders. Other brands may fit this grill if the top collar and bottom support ring have similar dimensions.
- DO NOT connect this grill to an existing #510 POL cylinder valve with Left Hand threads. The Type 1 valve can be identified by large external threads on the valve outlet.
- DO NOT connect to a propane cylinder exceeding this capacity.
- DO NOT connect to a cylinder that uses any other type of valve connection device.
LP CYLINDER LEAK TEST
A leak test should be done each time a propane tank is refilled or exchanged. Do not smoke or use any type of flammable material in the area during this leak test. Do not use an open flame to check for leaks.
- Test outside in a well-ventilated area.
- Use a paintbrush and a solution of liquid dish detergent and water as needed. Do not use cleaning products because they can damage the fuel supply parts.
- Brush the detergent solution onto the areas indicated by arrows in the diagram to the right.
- Production of bubbles indicates a gas leak.

Regulator and LP Cylinder Connections
CAUTION
The gas pressure regulator provided with this outdoor cooking appliance must be used. This regulator is set for an outlet pressure of 11 inches water colum
Your regulator is equipped with a QQC Type 1 quick connect system. It will not allow gas to flow until a
positive seal has been made. It has a thermal element that will shut off the gas flow if the temperature reaches 115°C (240°F). It also has a flow-limiting device that will restrict the flow of gas to 0.28 cubic metrics per hour (10 cubic feet per hour).Before each use, check the gas hose for excessive abrasion, wear, or cuts. Replace a damaged hose assembly with the one specified in the parts list before using the grill.
TO CONNECT THE CYLINDER TO THE REGULATOR AND HOSE
- Be sure the LP tank is OFF by turning the hand wheel clockwise until it stops.
- Place the tank on the hook under the grill body with the valve facing outward. See Assembly instructions to secure the tank to the grill body.
- Be sure all burner controls are turned to the OFF position.
- Remove the safety cap from the cylinder valve.
- Center the regulator nipple into the cylinder valve.
- Turn the black nut clockwise until it stops. Hand tighten Only. Do not use a wrench.

WARNING
- Do not connect this grill to any unregulated sources of propane.
- Before each use, check the gas hose for excessive abrasion, wear or cuts. Replace a damaged hose assembly with the one specified in the parts list before using the grill.
- Always perform the Leak Test listed below before using your grill for the first time, if the cylinder has been changed, if any gas supply components have been changed, if the regulator flowlimiting device has been activated, or after a long period of non-use.
- Do not attempt to connect this grill to the LP system of a motor home or trailer
LEAK TESTING THE REGULATOR, VALVES, HOSES, AND CONNECTIONS
- Ensure the LP cylinder valve and all burners are OFF.
- Ensure the LP cylinder is connected to the regulator.
- If the warnings in 1 and 2 above are not heeded exactly, a fire causing death or serious injury may occur.
- Mixing water and liquid dish detergent as needed. Do not use any household cleaner solution.
- Open the LP tank valve by turning the hand wheel counterclockwise one turn. If you hear a rushing sound, turn the gas off immediately. In that case, there could be a leak at the connection. Reconnect the cylinder to the regulator.
- Spray or brush on the dish detergent solution covering the following areas: regulator and cylinder connection, gas hose connections to the regulator, all gas hoses, and all gas connections to the burner, including the side burner.
- Bubbles that develop on any of the parts and connections listed above indicate a gas leak. Immediately shut off the LP tank valve by turning the valve clockwise. Retighten the connections or order replacement parts as needed. Continue to test as necessary until no leaks are detected.
- Close the LP tank valve by turning the hand wheel clockwise.
WARNING
- DO NOT USE THE GRILL if you cannot stop the leaks. Be sure the LP cylinder valve is closed. If the LP cylinder is still leaking, contact your LP dealer or call 911.
- Do not use any matches, open flames, or smoke during leak testing.
- Do not light any burners during leak testing.
- Replacement parts, including a replacement hose assembly, must be as specified in the parts list
OPERATING INSTALLATIONS
Always visually inspect your grill before lighting. Replace any hose that are frayed or cracked. Look for anything could block spaces for ventilation and remove it or move the grill. After lighting, check the flame pattern to ensure you have even heat distribution for each burner. If burners won’t light, or if the flame pattern is uneven, see the Troubleshooting section.
WARNING
- Read instructions before lighting.
- If ignition does not occur in 5 seconds, turn the burner control(s) off, wait 5 minutes and
repeat the lighting procedure. - Remove any fluid from the ash catcher before lighting charcoal.
- Consider using non-liquid charcoal starters.
LIGHTING THE MAIN BURNERS USING AUTOMATIC IGNITION
- Open the lid before lighting.
- Ensure all burner control knobs are in the OFF position.
- Turn on the propane gas by turning the hand wheel on the cylinder valve.
- ush down the control knob and keep pressing while turning anti-clockwise to the ”HI” position. A click sound will be heard and ignition will take place.
- If the burner does not light within 5 seconds, turn the burner control knob to OFF. Wait 5 minutes for the gas to clear, and repeat the above procedure. See the Troubleshooting section, if it still will not light.
- When lit, turn the control knob to the temperature setting for your food.
LIGHTING THE CHARCOAL GRILL
- Open lid, as well as all butterfly dampers.
- Remove cooking grates and raise charcoal pan to its highest setting using the lifting handle.
- Pour 3 lb max. of regular charcoal briquets into the charcoal pan and make into a pile.
- Lower the charcoal pan to its the lowest setting using the lifting handle, and light fire. You can use a charcoal strater to light the charcoal.
- After charcoal is ashed over, using long-handled tongs to spread charcoal into a single layer on the charcoal pan.
MANUALLY LIGHTING THE BURNERS WITH THE MATCH LIGHTING STICK
- Ensure all burners are in the OFF position.
- Slowly turn on the gas at the LP tank valve.
- Place a match in the Match Holder. This is located in the top-center drawer of the grill cabinet underneath the right main burner.
- Use the holder to slide the lit match through the cooking grates and the front of the heat tent to the left of the burner you want to light.
- Press and turn the burner control knob to HI/ LOW.Continue to push in and hold up to 5 seconds or until the burner lights.
- If the burner does not light within 5 seconds, turn the burner control knob to OFF. Wait 5 minutes for the gas to clear, and try again.
- When lit, turn the control knob to the desired heat setting.
TURNING OFF YOUR GRILL
- Turn off the gas supply at the propane tank by turning the valve clockwise.
- Turn all burner control knobs to the OFF position.
- Let the charcoal burn out completely after grilling.
CLEANING INSTALLATIONS
WARNING
- Do not clean any part of your barbecue grill in a self-cleaning oven.
- Do not use oven cleaners, abrasive kitchen cleaners, cleaners that contain citrus products, or mineral spirits.
- Clean your grill regularly to prevent grease buildup, grease fires or excessive flare-ups.
- Always allow the grill to cool down prior to cleaning.
STAINLESS STEEL Clean with multipurpose, low-abrasion, non-phosphorous metal or stainless steel
polish and a soft cloth. Always polish in the direction of the finish. Do not allow grease and dirt to accumulate.
In addition, several products and naturally occurring substances will damage all stainless steel finishes.
These include, but are not limited to, swimming pool chemicals (chlorine and bromine), lawn and garden fertilizers, ice-melting products, sea or other salt water, urine, bird droppings and tree sap. Upon contact with these substances, immediately wash and dry the stainless steel surface, being careful to avoid burns.
OTHER EXTERIOR SURFACES Wash witha mild dishwashing detergent and warm water. A cloth, soft brush (non-metallic), or plastic cleaning pad can be used. Rinse thoroughly and wipe dry.
COOKING GRATES AND HEAT DIFFUSERS — Use a stiff brass brush. Wash with warm water and mild dishwashing detergent, rinse, and dry.
GREASE PAN AND TRAY Check after each use. Remove and empty the tray when half full. Remove and clean the pan as grease builds up. Both can be washed with warm water and mild dishwashing detergent.
BURNERS We recommend you clean your burners at least twice a year, or before usq if the grill has not been used in over one month.
CHARCOAL PAN AND ASH PAN After the charcoal burn out completely after grilling, clean the ash through the hole to ash pan, pull out the ash pan and empty out the cold ash and grease.
WARNING
Small insects and spiders may enter the burner tubes. Sometimes they will build nests or spin webs that can block or reduce the amount of gas flowing through the burner. You will usually see a smaller flame, or a flame that is mostly yellow rather than blue, coming from the burner when this happens. Other signs include the grill uneven or low heat, or difficulty igniting the burners. In cases of severe blockage, this can cause the flame to burn backwards, and outside of the burner tubes, which can cause damage to your grill and/or personal injury. IMMEDIATELY SHUT OFF THE FLOW OF PROPANE GAS AT THE TANK BY TURNING THE HAND WHEEL CLOCKWISE SHOULD THIS HAPPEN. Wait for the grill to cool, and then clean all burners.
CLEANING THE BURNERS
- Ensure the gas is turned off at the propane tank.
- Remove the cooking grates, flame tamers.
- Lift each burner up and out.
- Clean the inside of the burner using a stiff wire. A straightened coat hanger will work. An alternative is to use compressed air. Always wear eye protection if using this method. Never enlarge the burner ports during cleaning.
- Brush the outer surface of the burner.
- Ensure all ports (holes) are free of debris.
- Inspect the burners. Replace any that have cracks or enlarged ports.
- Replace flame tamers and cooking grates.
- Perform a Leak Test described earlier in this guide.
WARNING
Properly place the burner and valve is vital for safety.
BURNER FLAMES
Always evaluate the burner flame patterns after lighting. A good flame should be primarily blue with a yellow tip and have a minimal amount of noise. Some yellow tips are OK if they are smaller than 2.5 cm (1 inch). New burners sometimes have oil residue, which will cause yellow flame when burning off. Variations in gas supply, altitude, weather, and other factors can all impact burner performance. Older grills can also show more yellow flame as food deposits, oils, and fats can build up
ALWAYS
- Keep the grilling area clear and free from combustible materials, gasoline and other flammable vapors and liquids.
- Do not obstruct the flow of combustion and ventilation air.
- Keep the ventilation openings of the cylinder enclosure free and clear from debris.
GRILL STORAGE
- Clean your grill before storage.
- Storage of a gas grill indoors is permissible only if the propane tank is disconnected and removed from the gas grill.
- Cover the grill.
- Perform a Leak Test before using the grill after it has been in storage for a period of time
TroubleShooting Guide
| Emergencies | Possible cause | Prevention/ Solution |
| Gas leaking from cracked/cut/ burned hose | Damaged hose | Turn off gas at LP tank, if hoes is cut or cracked, replace hose.See LP tank lead test and connection regulator to the LP |
| Gas leaking from LP tank | Mechanical failure due to resting or mishandling | Turn off LP tank valve |
| Gas leaking from LP tank valve | Failure or tank valve from mishandling or mechanical failure | Turn off LP tank valve. Return LP tank to gas supplier |
| Gas leaking between LP tank and regulator connection | Improper installation, untight connection , failure of rubber seal | Turn off LP tank valve, remove regulator from cylinder and visually inspect rubber seal for damage, see LP tank test and connection regulator to the LP tank |
| Fire coming through control panel | Fire in burner tube section of burner due to partial blockage | Turn off control knobs and LP tank valve. After fire is out and grill is cold, remove burner and inspect for spider nests or rust. see natural hazard and cleaning the burner assembly pages. |
| Troubleshooting: Problem | Possible cause | Prevention/ Solution |
| Grease fire or continuous excessive flames above cooking surface | Too much grease buildup in burner area | Turn off LP Tank. Leave lid open to allow flames to die down. After cooling, clean food particles and excess grease from inside firebox area, grease cup/pan/tray, and other surfaces |
| Burner will not light using ignitor | Gas issues
|
|
| Burner will not light using ignitor | Electrical issues:
|
|
| Burner will not match light | See ”gas issues;” on previous page.2. Improper method of match-lighting |
|
| Sudden drop in gas flow or low flame |
|
|
| Flames blow out | High or gusting winds. Low on LP gas. Excess flow valve tripped. | Turn front of grill to face wind or increase flame height.Refill LP tank.Refer to “sudden drop in gas flow” above. |
| Persistent grease fire | Grease trapped by food buildup around burner system. | Turn knobs to OFF. Turn gas off at LP tank. Leave lid in position and let fire burn out.After grill cools, remove and clean all parts |
| Flashback…(fire in burner tube(s) | Burner and burner tubes are blocked | Turn knobs to OFF. clean burnerand/or burner tubes. See burner cleaning section of use and care manual |
| Flare-up |
|
|
| Unable to fill LP tank | Some dealers have older fill nozzles with worn threads. | Turn worn nozzles don’t have enough “bite” to engage the valve. Try a second LP dealer. |
| One burner does not light from other burner(s) | Grease buildup or food particles in end of carryover tube | Clean carry-over tube with wire brush |
If your problem is not resolved from the information above, please Contact your local gas dealer.
Notes
a) Turn the burner on for 15 to 20 minutes. Ensure appliance is cold before continuing.
b) Grids should be cleaned periodically by soaking and washing in soapy water.
c) The interior surfaces of the grill housing cover should also be washed with hot, soapy water. Use a wire brush, steel wool or a scouring pad to remove stubborn spots.
d) Periodically check the burner to see that it is free from insects and spiders which may clog the gas system, deflecting gas flow. Ensure to clean venturi pipes on burner very carefully, make sure that there are no obstructions. We recommend that you use a pipe cleaner to clean the venturi pipe area.
e) Any modifications of this appliance may be dangerous and are not permitted.
Safety Reminders
Stand your gas grill on a safe level surface, away from inflammable items such as wooden fences or overhanging tree branches.Never use your gas grill indoors!
Once lit do not move your gas grill or leave it unattended.
Keep children and pets at a safe distance from the gas grill.
Keep a fire extinguisher handy.
The gas grill will become hot when in use, so handle lids etc. with the help of gloves. Ensure that the appliance has completely cooled down before storing.
GRILLING RECIPES
Direct Heat
| BEEF INTERNAL TEMPERATURE CHART | |||
| Degree of Doneness | Internal Core Temperature | Internal Description | Firmness |
| Rare | 125°F | Center is bright red, pinkish toward the exterior portion, and warm throughout | Soft to the touch |
| Medium Rare | 130-135°F | Center is very pink, slightl brown toward the yexteriorportion, and slightly hot | vields only slightly to the touch |
| Medium | 140-145°F | Center is light pink, outer portion is brown and hot throughout | Beginning to firm to the touch |
| Medium Well | 150-155°F | Mostly gray-brown throughout with a hint of pink in the center | Firm to the touch |
| Well Done | 155°F and above | Steak is brown-gray throughout | Firm or hard to the touch |
| POULTRY INTERNAL TEMPERATURE CHART | |||
| Whole Chicken | 165°F | Cook until the juices run clear | Firm to the touch |
| Dark Meat | 165°F | Cook until white throughout b‘tstill moist | Firm to the touch |
| Breast Meat | 165°F | Cook until white throughout b‘t still moist | Firm to the touch |
| Thigh, Wings and Legs | 165°F | Mostly gray-brown throughout with a hint of pink in the center | Firm to the touch |
| PORK INTERNAL TEMPERATURE CHART | |||
| Medium | 150°F | Pink in the center | |
| Well Done | 160°F and above | Pork is uniformly white/brown throughout | |
| Pork Ribs | 180-200°F | Pale white to tan. Cook mediumto well done | |
| SausageRaw Sausage | 160°F | No longer pink | |
| Sausage (Pre-cooked) | 140°F | No longer pink | |
STEAK (& ALL MEATS):
- Cook food on the charcoal side of the unit, directly above coals/heat.
- To grill meats, raise fire grate to high position (hot) and sear for one minute on each side with the lid open to seal in flavor and juices.Then lower fire grate to medium position with lid closed and cook to desired doneness.
- Control heat with dual dampers and adjustable fire grate.
Tip: Place grilled meat back in the marinade for several minutes before serving – it will become tastier and juicier.
CAUTION: Boil extra marinade first to kill bacteria remaining from the raw meat.
MARINATED FLANK STEAK:
- Mix marinade ingredients in nonmetal dish.
- Let steak stand in marinade for no less than 4 hours in refrigerator.
- Brown each side for 5 minutes, but center should remain rare.
- Cut steak diagonally across the grain into thin slices before serving.
- Grill with fire grate in high (hot) position with lid open or closed.
Meat Marinade
- 1/2 cup vegetable or olive oil
- 1/3 cup soy sauce
- 1/4 cup red wine vinegar
- 2 tbsp lemon juice
- 1 tsp dry mustard
- 1 minced clove garlic
- 1 small minced onion
- 1/4 tsp pepper
QUAIL OR DOVES:
- Cover birds with good seasons and marinate overnight.
- Pour remaining dressing and cover with Texas Pete Hot Sauce for 6 hours.
- Wrap birds in thick bacon secured by a toothpick.
- Place on grill. Keep turning until bacon is black.
- Grill for 20 minutes. Sear with lid open and fire grate in high (hot) position for 1 minute on each side before lowering grate and closing lid.
- To smoke and place brids in center of grates with fire in both ends of fire box.
HOT DOGS:
- Grill with lid up and cooking grates in high(hot) position for approximately 6 minutes.
- Turn every few minutes.
SWEET CORN IN HUSKS:
- Trim excess silk from end and soak in cold salted water 1 hour before grilling.
- Grill 25 minutes – turning several times.
KABOBS
- Alternating on skewers any combination of meat, onions, tomatoes, green peppers, mushrooms,zucchini, circular slice of corn-on-the-cob, or pineapple. Meat could consist of shrimp, scallops, lobster, chicken, sausage, pork, beef, etc.
- Marinate the meat in refrigerator for several hours.
- Grill each side approximately 7 minutes turning occasionally while basting with marinade.
- Leave a small amount of room between pieces in order to cook faster.
- Grill with lid up and the cooking grates in the lowest position.
Kabob Marinade:
- ½ cup brown sugar
- ½ cup vinegar
- ½ cup pineapple juice
- 2 tsp salt
- ½ tsp garlic powder
- Mix all ingredients in a saucepan and bring to boil.
- Allow marinade to cool before marinating your meat in it.
- Marinate beef in mixture a minimum of 4 hours.
HAMBURGERS:
See meat marinade on prior pages. You may also marinate by allowing to stand in marinade for 1 or 2 hours at room temperture before cooking or let stand in covered dish in refrigerator up to 24 hours.
- Bring to room temperature before cooking.
- Mix in chopped onions, green peppers, salt, sear 3/4 inch patties on each side with cooking grates in high position for a few minutes.
- Lower fi re grate to medium position and grill with lid down to avoid flare-ups.
- Cook each side 3 to 7 minutes according to desired doneness.
- Cook ground meat to 150 internally or until juice runs clear (free of blood) for prevention of E-coli.
- Burgers can be basted with marinade when turning and/or other ingredients can be mixed in with the ground beef such as chili sauce or powder.
SHRIMP (Peeled) & CRAYFISH:
- Place on skewers.
- Coat with melted butter and garlic salt.
- Grill 4 minutes on each side or until pink. Cocktail sauce optional.
BAKED POTATOES:
- Rub with butter and wrap in foil and cook on grill with lid down for 50 minutes.
- Turn after 25 minutes (no need to turn if smoked).
- Squeeze to check for doneness.
Warrnty and Customer Service
Thanks for purchasing this Royal Gourmet Combo Grill. We are here to help you maximize your enjoyment and appreciation of your new grill. We provide a warranty for your product within the framework warranty condition under normal use of one year from the date purchase for all components covering defects and manufacturing errors.
Royal Gourmet ’s obligations are limited to the following:
- This warranty does not cover grills that have been altered or damaged due to normal wear, rust, abuse, improper maintenance, improper use, or modifications to the product. Repair labor is not covered.
- This warranty does not cover surface scratches or heat damage to the finish which is considered normal wear.
- All warranty claims apply only to the original purchaser and require a proof of purchase verifying date of purchase.
- All parts that meet the warranty requirements will be shipped at no-charge via the discretion of the customer service department.
- Do not return parts without prior to obtain obtaining return authorization from our customer service department.
Except as stated above, Royal Gourmet Corp makes no other express warranty.
This warranty may give you specific legal rights that vary by state.
Please do not hesitate to contact our customer service when you have any questions regrading assembly, warranty, or accessories. We will be happy to offer any replacement parts you need during the time of warranty period.
1-800-618-6798
[email protected]
Mon – Fri, 8:30 AM- 5:30 PM, EST








































