
BGFS5000 Professional Carpet Shampooer
Owner’s Manual
BGFS5000 Professional Carpet Shampooer

Electrical rating : 120 V 4,2 A 60 Hz
Please read this manual carefully before operating your new floor polisher.
¡Congratulations!
YOU HAVE PURCHASED A SHAMPOOER / HARDFLOOR CLEANER/BUFFER TO CLEAN AND MAINTAIN VIRTUALLY EVERY TYPE OF FLOOR, INCLUDING WOOD, PLEASE READ THIS MANUAL CAREFULLY BEFORE OPERATING YOUR NEW FLOOR POLISHER. KEEP THIS MANUAL FOR FUTURE REFERENCE.
IMPORTANT SAFETY INSTRUCTIONS
This Carpet Shampooer/ Hardfloor Cleaner/Polisher is for household use only.
When using an electrical Carpet Shampooer/ Hardfloor cleaner/Polisher, basic precautions should be followed.
READ ALL INSTRUCTIONS BEFORE USING THIS APPLIANCE.
WARNING
To reduce the risk of fire, electric shock, or injury:
- DO NOT USE WITH FLAMMABLE OR COMBUSTIBLE LIQUIDS, SUCH AS GASOLINE, OR USE IN AREAS WHERE THEY MAY BE PRESENT.
- Do not leave this appliance when it is plugged in. To reduce the risk of electric shock-Use indoors only.
- This appliance is double insulated. Use only identical replacement parts. See instructions for servicing a double-insulated appliance.
- Do not immerse. To reduce the risk of electric shock use only carpets moistened by the cleaning process.
- To reduce the risk of fire, use only commercially available floor cleaners and waxes intended for machine application.
- Unplug from the outlet when not in use and before servicing.
- Do not allow it to be used as a toy. Close attention is necessary when used by or near children.
- Use only as described in this manual. Use the manufacturer’s recommended attachments.
- Do not use with damaged cord or plug. If this appliance is not working as it should, has been dropped, damaged, left outdoors or dropped into water, return it to a service
center before use. - Do not pull or carry by the cord, use the cord as a handle or close a door on the cord. Do not pull the cord around sharp edges or corners.
- Do not run the appliance over the cord, keep the cord away from heated surfaces.
- Do not unplug by pulling on the cord. To unplug, grasp the
- plug, not the cord.
- Do not handle the plug with wet hands. Do not put any objects into openings. Do not use with
- blocked openings. Keep free of dust, lint, hair, and anything that may reduce airflow.
- Keep hair, loose clothing, fingers, and parts of the body away from openings and moving parts.
- Do not attach or remove brushes with an electric cord plugged in.
- Turn it off before unplugging.
- Use extra care when cleaning stairs. Never fill the dispenser without removing it from the appliance.
- Never turn the appliance on with the handle in the upright
- position. Make sure the handle is in the operating position.
- Disassembly of this unit can be hazardous.
- Do not leave the appliance turned on when it is not in use.
- Seek professional servicing.
SAVE THESE INSTRUCTIONS
SERVICING OF DOUBLE-INSULATED APPLIANCES.
A double-insulated appliance is marked with one or more of the following: The words “DOUBLE INSULATION” or “DOUBLE INSULATED” or the double insulation symbol (square within a square).
In a double-insulated appliance, two systems of insulation are provided instead of grounding.
No grounding means is provided on a double-insulated appliance, nor should a means for grounding be added to the appliance. Service of a double-insulated appliance requires extreme care and knowledge of the system and should be done only by qualified service personnel. Replacement parts of a double-insulated appliance must be identical to the parts they replace.
Polarization Instructions
To reduce the risk of electric shock, this appliance has a polarized plug (one blade is wider than the other). This plug will fit in a polarized outlet only one way. If the plug does not fit fully in the outlet, reverse the plug. If still does not fit, contact a qualified electrician to install the proper outlet. Do not change the plug in any way.
Warning: The power cord on this product contains lead, a chemical known to the state of California to cause birth defects or other reproductive harm. Wash hands after handling.
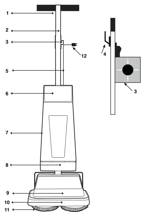
DIAGRAM

PARTS LIST
| 1 | HANDLE |
| 2 | UPPER HANDLE TUBE |
| 3 | SWITCH BOX |
| 4 | TRIGGER |
| 5 | ELECTRIC CORD |
| 6 | UPPER TANK HOLDER |
| 7 | TANK |
| 8 | LOWER TANK HOLDER |
| 9 | MOTOR COVER |
| 10 | FURNITURE GUARD |
| 11 | BRUSHES & PADS |
| 12 | LINE CORD |
HOW TO ASSEMBLE YOUR SHAMPOOER
Place the lower tube into the socket above the motor cover. Fasten using a bolt and internally threaded nut (larger screws provided). Make sure that the screws are aligned with the tube openings.
- a) Place the upper handle tube in the lower tube. b) Secure with screws.

- Snap the switch box into a rectangular hole in the upper handle tube. Secure with a mall screw provided with the owner’s manual.

- Snap in the tank as shown, and make sure that the metal dispensing button at the top of the tank fits into the metal dispensing mechanism.
- Connect the small dispensing hose to the hole provided at the rear of the motor cover.
ACCESSORIES
NOT ALL MODELS CONTAIN ALL ACCESSORIES
BRUSHES
![]() | (White polyethylene) Cleans carpets with shampoo foam without soaking. Use only on carpets. |
![]() | (Dark brown) Removes embedded dirt and grime on all hard floors, except wood. DO NOT USE ON CARPETS. THIS BRUSH ALSO WORKS AS A BASE FOR PADS. |
![]() | (Light brown) Ideal for polishing hardwood floors or irregular surfaces. Improves the luster of most waxes by making a smoother, more durable coat. CAN ALSO BE USED AS A BASE FOR PADS. |
For more information on the use of accessories see The Floor Care Accessory Guide on the last page.
PLEASE SEE THE INVENTORY ON THE OUTSIDE OF THE BOX
PADS
![]() | (Green fiber) For use on ceramic tile floors, vinyl, or linoleum. Removes embedded dirt and grime. Good for very heavy-duty cleaning. Ideal for smooth surfaces. MOUNT DIRECTLY ON SCRUBBING BRUSHES OR POLISHING RUSHES USING SNAPS. |
![]() | (Tan fiber) Removes and redistributes wax layers. Improves the luster to create a more durable coat. Removes scuff marks. MOUNT DIRECTLY ON SCRUBBING BRUSHES OR POLISHING BRUSHES. |
![]() | (Grey felt) Brings out the shine on any waxed or unwaxed surfaces. Quickly removes brush swirls caused by polishing. MOUNT DIRECTLY ON SCRUBBING BRUSHES OR POLISHING BRUSHES. |
![]() | (White) Improves luster on wood and other hard floor surfaces. MOUNT DIRECTLY ON SCRUBBING BRUSHES OR POLISHING BRUSHES. |
FLOOR CARE CLEANING SOLUTIONS AND FINISHES
AVAILABLE
| Dry Foam Rug Shampoo | Cleans and brightens carpeting bringing back the original color. Dry foam deep cleans without soaking. |
| Carpet Spotter | Pretreats tough stains on carpeting before shampooing. |
| Deodorizer | Shampoo additive which eliminates pet odors and strong smells. Clean fresh scent. |
| All Purpose Neutral Cleaner | Ph-balanced formula safely cleans delicate surfaces. Use The Cleaning Machine to deep clean wood, marble, terrazzo, and linoleum floors. |
| Heavy Duty Cleaner | Excellent for deep cleaning kitchen and bathroom floors. Removes grease and deeply embedded dirt. |
| High Gloss Protective Floor Finish | Seals and protects floor finish leaving a smooth shiny surface. |
| Wax Stripper | When used with the cleaning machine removes old wax films from floor surfaces. |
HOW TO INSTALL BRUSHES AND PADS
- Unplug your unit, and remove the tank.
- Turn the motor cover-up by placing the polisher in front of you, and incline the machine toward you pressing the motor cover down.
- Place the brush on the spindle and press down until it locks into position (Fig. C)

- Pads should be placed on top of scrubbing or polishing brushes only. Place pad retainer in the hole on pad and press down to snap into position (Fig. D)

- To remove the pads, pull the pad retainers firmly out of place.
- To remove brushes, pull them out firmly.
CAUTION: PLACE PADS ON SCRUBBING BRUSHES OR POLISHING BRUSHES ONLY, NEVER ON CARPET BRUSHES.
HOW TO START YOUR RUG SHAMPOOER
- Pull the handle toward you (Fig. E) to the operating position.
- Using the switch box turn on the Shampooer/Polisher, see the chart below.

SPEED:
LOW/MEDIUM: To scrub floors, shampoo carpets
HIGH: To polish to a high gloss.
NOT ALL MODELS ARE THREE (3) SPEEDS.
HOW TO CLEAN TANK AND ACCESSORIES
STORAGE: ALL ACCESSORIES AND TANKS SHOULD BE COMPLETELY DRY BEFORE STORING THEM. REMOVE BRUSHES AND PADS FROM THE MACHINE FOR STORAGE.
Cord Storage: After use, unplug and coil the power cord around the cord wrap placed on the back of the machine.
BRUSHES
After each use, wash with lukewarm soapy water. NEVER USE HOT WATER. Shake out excess water. Stand bristles on a paper towel to dry.
DO NOT FORCE DRY BY USING OVEN OR RADIATOR HEAT.
PADS
Pads should be washed with warm soapy water. Rinse thoroughly in cold water. Stretch out to shape and allow to dry on a flat surface.
TANK
Rinse thoroughly with warm water and allow to dry. (Fig. G)
NEVER STORE LIQUID IN THE TANK
Flush dispensing system by partially filling the tank with warm water and mounting it and dispensing the water into a receptacle placed under the unit.
CARPET CARE
- Vacuum the carpet to remove any loose dirt.
- Test the color fastness of your carpet by cleaning a small area with your shampooer/polisher by following steps 5,6 and 7. While damp, brush the carpet in one direction and let it dry. If your color holds, you can proceed to shampoo the rest of your carpet
- Pretreat spots and stains with a carpet spotter.
- Remove all furniture from the room, or protect as shown in figure (A).
- Attach the SHAMPOO BRUSHES.

- Fill the tank with water then add the desired cleaning solution. It is recommended to put the water first, to avoid foaming. Place tank on shampooer. DO NOT USE SOAP OR DETERGENT ON THE CARPET.
- Lower the handle to the operating position and turn the unit on. When the brushes start rotating, press the dispenser trigger to release the shampoo solution. DO NOT SOAK TO AVOID MILDEWING AND DISCOLORATION.
- Clean small areas of 3 x 3 feet at a time using slow forward, sideways, and backward strokes until a small uniform film of foam disappears. (Fig. B)
- Proceed to another area in the same manner. Make sure that the last movement in one area is in the same direction as the last area.
- Allow carpeting to dry completely, preferably overnight. Ventilating the room or using a fan may reduce drying time. If you need to walk over a wet carpet, protect it with a white cloth or towel.
- Once dry, vacuum the carpet to remove all crystalized debris.

HARDWOOD FLOOR CARE
| KEEP FLOORS CLEAN | Vacuum Hardwood floors daily. |
| BUFFING | Buff once or twice a week to remove scuff marks and improve the shine of the hardwood floor. Make sure that the floor is dry. Attach the lambswool or felt pads over the polishing or scrubbing brushes. Secure with the pad retainers. To remove stubborn scuff marks use the tan cleaning pads. Turn the unit on and glide the machine over the surface with forwarding and backward strokes, following the direction of the grain until the desired finish is achieved. |
| CLEANING | Hardwood floors may be damp mopped with a ph-balanced neutral cleaner if they have been previously sealed with a polyurethane finish. Always avoid excess water on wood floors. |
| POLISHING | To polish using paste wax, apply the wax by hand and let dry. Use the machine with polishing brushes or dry tan pads placed over the polishing brushes. Turn the unit on. Glide the machine over the floor with forwarding and backward strokes following the direction of the grain. If you apply two or more layers of wax, polish the first layer before applying the second layer. Never pour liquid wax into the tank. If a liquid wax finish is applied to the wood floor by hand, let it dry, then buff it with the lambswool pads if desired. |
| DEEP CLEANING | A sealed hardwood floor may be deep cleaned if excessively soiled. Dilute a neutral cleaner in the tank following the instructions on the product. Use the machine with the tan pads placed over the polishing or scrubbing brushes. Pull the trigger to dispense the cleaning solution on the floor. Do not place too much water on the floor and dry immediately after cleaning. |
IF YOU HAVE A PROBLEM
| PROBLEM | POSSIBLE CAUSE | SOLUTION |
| Shampooer does not turn on | Bad connection | Connect the plug firmly. |
| Does not clean properly | Wrong brushes or pads | Check if the brushes or pads are the correct ones. |
| Does not dispense shampoo | Tank clogged Tank loose Tank valve not opening | Remove the tank and clean it. Check that tank is installed correctly. Make sure the tank is inserted correctly with the valve stem above the valve hook. (see how to assemble the tank) |
| Shampoo leaks | Hose loose Broken tank Broken hose | Place the hose into position. Replace the tank with the original replacements. Replace hose. |
| Brushes fall off | Not attached correctly Spring not functioning | Push brushes completely down into the spindle. If this does not work, check the little spring-loaded ball or nib. Replace nib. See spindle cap insulator. |
| Pads fall off | Worn or Damaged Pads retainers not placed correctly Pad retainers broken | Kit part number 46-1610 Place pad retainers correctly. Replace with genuine parts. |
CASO
| PROBLEMA |
| No enciende |
| No limpia adecuadamente |
| No sale shampoo |
| Se gotea el shampoo |
| Se caen los cepillos |
| Se caen los cojinetes |
Total Floor Care System
EASY STEPS TO TOTAL FLOOR CARE
The Cleaning Machine
| Type of Floor | Step 1 CLEAN | Step 2 PROTECT | Step 3 BUFF | Step 4 TOUCH-UPS |
| WOOD | All Purpose Neutral Cleaner · Damp mop floors using ph. balanced neutral cleaner with your mop. For Deep Cleaning: · Dilute Neutral Cleaner in the tank as indicated on the bottle. · Use Cleaning Machine with Tan polishing pads. · Mop and dry (continue with step 2) | Polishing pads · Use Cleaning Machine with dry tan polishing pads over dry polishing or scrubbing brushes to the renewed luster. · If you apply a paste wax let it dry then use the machine with dry polishing brushes or tan pads. | Buff · Use The Cleaning Machine with Lambswool or felt pads to obtain high gloss on the floor finish. | Touch-ups · To remove scuff marks on the floor finish using The Cleaning Machine with dry lambswool or felt pads. For stubborn scuff marks use with tan cleaning pads. |
| CERAMIC TILE & VINYL | Heavy Duty Cleaner · Dilute in the tank as indicated on the bottle. · Use a Cleaning Machine with Green or Tan Pads or Scrubbing Brushes. · Mop and dry. · Continue with step 2. Note: Scrubbing Brushes are recommended for textured surfaces and Green scrubbing Pads for smooth surfaces. | Tan Polishing pads · Use a Cleaning Machine with dry tan polishing over dry scrub brushes to renew the luster | Buff · Use The Cleaning Machine with Felt pads to obtain high gloss on the floor finish. | Touch-ups · To remove superficial dirt on the floor finish the mop using a Neutral Cleaner. · Polish with The Cleaning Machine using dry Tan Polishing Pads to remove scuff marks. |
| MARBLE, TERRAZZO & LINOLEUM | All Purpose Neutral Cleaner · Dilute the Neutral Cleaner in the tank as indicated on the bottle. · Use a Cleaning Machine with tan cleaning Pads. · Mop and dry. · Continue with step 2. | Buff · Use The Cleaning Machine with Felt pads to obtain high gloss on the floor finish. | Touch-ups · To remove superficial dirt on the floor finish mop using a Neutral Cleaner. To remove scuff marks on the floor finish use The Cleaning Machine ith Tan Polishing Pads and Buff with Felt Pads once a week. | |
| RUGS & CARPETS | Dry Foam Rug Shampoo · Dilute Dry Foam Shampoo in the tank as indicated on the bottle. · Snap-on white bristle shampoo brushes. · Guide The Cleaning Machine with movements from side to side. Use dispensing trigger on the machine to release the correct amount of shampoo. Do not soak. · Pretreat tough stains on carpets with Carpet Spotter. After the carpet is dry vacuum to pick up crystallized dirt debris. | Touch-ups · The shampoo may be used for quick touch-ups on carpets or upholstery. |
WARRANTY
This warranty gives you specific legal rights, and you may also have other rights which vary from state to state.
This product is warranted against malfunctions and defects in material and workmanship for a period of one year for domestic use and ninety days for commercial use.
THIS WARRANTY SHALL NOT APPLY to any products or parts thereof which have been damaged by tampering, misuse or abuse or which have been altered or repaired by an unauthorized person at the service center.
THIS WARRANTY SHALL NOT APPLY to brushes, since the length of their life depends upon the amount of use.
FOR REPAIR, the inoperative machine must be delivered with shipping and delivery charges prepaid, together with satisfactory evidence of the purchase date to the dealer from whom it was purchased. The distributor will either repair or replace, at its selection, all detective machines during the warranty period.
THE FOREGOING OBLIGATIONS ARE IN LIEU OF ALL OTHER OBLIGATIONS AND LIABILITIES INCLUDING NEGLIGENCE AND STATE DISTRIBUTOR’S ENTIRE AND EXCLUSIVE LIABILITY AND THE PURCHASER’S EXCLUSIVE REMEDY. THE DISTRIBUTOR WILL IN NO EVENT BE LIABLE FOR ANY DIRECT, INDIRECT, SPECIAL, INCIDENTAL, OR CONSEQUENTIAL DAMAGES OR LOSSES WHATSOEVER, AND DISTRIBUTOR LIABILITY UNDER NO CIRCUMSTANCES WILL EXCEED THE CONTRACT PRICE FOR GOODS OR PARTS FOR WHICH LIABILITY IS CLAIMED.
Some states do not allow the exclusion or limitation of incidental o consequential damages, so the above limitation or exclusion may not apply to you.
100 ARMSTRONG ROAD, STE 101
PLYMOUTH, MA 02360
PHONE: 800-242-1378
LR 85271
Model: P-400
Made in Mexico
19-1079-00-3
Place the lower tube into the socket above the motor cover. Fasten using a bolt and internally threaded nut (larger screws provided). Make sure that the screws are aligned with the tube openings.


























