
USER MANUAL
Filterballs System 100W
(ART. 1087)
1087 Filterballs System 100W

HEAT PUMPS PLUG & PLAY
- Zero cost of installation
- High energy efficiency
- Quiet
- Easy to operate

The Swim & Fun Xpress heat pump collects energy from the air and transfers it to the pool water. For each used kW the heat pump produces 5 kW to the pool. It is a very
energy efficient and environmentally friendly solution, because more than 80% of the energy produced by the Xpress heat pump, is collected from the air.
You can enjoy the bathing experience in the comfortably heated pool water, even though the pump is operating, as the pump is also very quiet.
COVERS
There are pool covers for various purposes. A standard pool cover that prevents dirt in the water. A summer cover with thermo function will help maintain the temperature
of the bath water during the season, and is a must if you have solar heaters or heat pumps connected to your pool. A winter cover, or all-season cover, with wire lock provides security and protects against evaporation. At the same time it prevents sunlight to enter the pool, which can cause increased algae development. And last but not least, a ground cover under the pool protects the liner from sharp elements.

FILTERBALLS GIVES YOU CRYSTAL-CLEAR POOL WATER
Filterballs have a superior filtering effect compared to normal filter sand or loose cartridge filters. Filterballs form an effective filter layer that adapts to the shape of any filter and catches suspended particles in the water down to 10 micrometres. (Filter sand catches suspended particles down to 40-50 micrometres.)
Filterballs are also much easier to handle – 700 grammes of Filterballs replace 25 kg of filter sand. Read more at swim-fun.com and find your nearest distributor.
SOLAR SHOWERS
If you jump in the pool without rinsing yourself under a shower first, you add 200 times more bacteria to the poolwater. A garden shower near the pool makes it easy for everybody to take a quick rinse before dipping in.
And why settle for cold water when you can choose a solar shower where the water is heated by the sun’s rays completely for free.
Our solar showers are easy to install as you simply connect it to a garden hose.

AVOID FROST DAMAGES TO THE POOL, LINER AND SKIMMER
When pools are left with water during the winter, frost may expand the water, thus causing damage to the liner and walls. Winterfloaters and skimmer iceprotectors equalizes pressure to avoid damage.
The winterfloaters can be joined and fitted with a cord across the pool. If your pool is large, you may want to connect several together.
10. Reservedeler
| 1 | 2310 |
| 2 | 2311 |
| 3 | 2312 |
| 4 | 2315 |
| 5 | 2313 |
| 6/7 | 2317 |
| 8 | 2316 |
| 9 | 2316 |
| 10 | 2316 |
| 11 | 2314 |
| 12 | 2318 |
| 13 | 2319 |
| 14 | 1127 |
| 15 | 2320 |

General
Thank you for purchasing a Swim & Fun product. We develop and improve our products on an ongoing basis. Should this product not meet expectations and have a fault or be missing anything, then we are sorry for the inconvenience and ask that you please contact your dealer or our customer service at swim-fun.com
This product is designed for private use and is not suitable for commercial use.
You have purchased a technical product. The management is easy and simple, but requires compliance with certain precautions.
Therefore, we ask that you read the following instructions carefully!
Filterballs in the tank ensure that dirt and other floating particles are efficiently removed from the bathing water.
The dirty water is fed from the pool through a hose to the filter pump, which further pumps the water to the filter tank. When the water is fed through the filter tank, the dirt is captured by the filter balls, and the clean water flows back through the return hose to the pool.
It is necessary to use a skimmer (surface skimmer), in order to use the filter system. It must either be an integrated skimmer (built into the pool wall – photo 1) or a suspended skimmer (hangs over the pool wall – photo 2).
The required quantity of Filterballs is included. For subsequent refilling, use approx 320g of filterballs.
This sand filter system has been developed and manufactured to our high standards of durability, safety and handling. If the advice and instructions in the manual are followed, the product will operate flawlessly for many years to come.
NOTE!
If you do not use a pool surface skimmer, there is a risk that the pump can get blocked by leaves and other larger debris. A blockage will cause a gradual reduction of pump
pressure and water circulation. A blocked pump is not covered under the guarantee.
WARNING
The filter system should be placed on a hard surface, such as a concrete slab or similar.
The filter system must NEVER in any circumstances be placed in a low place or directly on the grass, where there is a risk of the motor flooding or overheating. NEVER place or lower the filter and/or pump into the water.
1.1 Warnings and safety instructions
Read all the warnings below. Failure to heed the warnings may result in serious personal injury.
- This appliance is not intended for use by persons (including children) with reduced physical, sensory or mental capabilities, or lack of experience and knowledge, unless they have been given supervision or instructions regarding the use of the appliance by a person responsible for their safety.
- Do not block the inlet at the pump or in the pool. This can cause serious injury.
- Avoid electric shock. Do not use extension leads or multiple-plug adapters. Do not use the filter system if the power cord is damaged.
- The power cord must not be buried. Make sure that it is placed, so as not to fall over it, or that there is a risk of it being run over, for example by a lawn mower. Do not kink the power cord or place/pull it over sharp edges.
- Warning! The product must only be connected to a power source that is earthed and is connected to a residual-current device. Please observe the technical specifications in this manual in order to avoid danger, and ensure that the power supply can be quickly disconnected. Consult with a qualified, professional electrician, to ensure that the product is properly and safely connected.
- Leave any repairs to experts in order to avoid danger. Contact a specialist workshop. Liability and the warranty become void if repairs are carried out by persons other than our service representative.
- Incorrectly installed equipment can cause parts to break, cause damage or destroy the entire filter system. In such a case, the warranty is void.
- NEVER use the connection hose as a handle when the filter needs to be moved.
- It should be placed a minimum of 3.5 m away from the pool, in order to avoid children being able to climb into the pool via the filter system.
- The filter system must not be operated without water, because the water cools the system. Insufficient water in the system will cause damage to the motor. The warranty does not cover damage caused by operation without water.
- NEVER turn the filter on or off while you are standing in water or have wet hands.
- NEVER handle the product when the power is connected.
- Never pull the cord to remove the plug from the power supply. Always pull the plug.
- Keep the product away from open flames and hot surfaces.
- Never use petroleum-based liquids/solvents, as these will destroy the plastic.
- Keep children away from all electrical equipment.
1.2 Warranty
The warranty period applies from the date of purchase on your purchase receipt. Proof of purchase must be provided when claiming for service under the warranty. It is therefore important to keep your purchase receipt. The warranty does not cover normal use, scratches, wear and tear or cosmetic damage. Spare parts that are fitted at a later date do not extend the warranty period for the entire product.
More specifically, the warranty does not cover damage caused as a result of:
- Improper use and handling.
- Falling or impact
- Repairs, changes or similar carried out by a party other than a Swim & Fun service centre.
- Improper storage, for example extremely high or low temperatures, including frost damage.
In case of a complaint, please contact Swim & Fun customer service. When returning a defective item it must be packaged so that the product is protected against transport damage. It is your responsibility that the product arrives safely. Please include your name, address and e-mail – to enable us to return the product to you. Remember to let us know what is wrong with the product.
Limited warranty statement
The filter system is installed and used in accordance with the user manual instructions. ONLY use original spare parts. Replaceable wear parts, where the warranty does not apply:
- All O-rings
- Mechanical seal, complete
- Filter hose between the pump and filter
Specifications
Filter pump FT100 ECM / GS, filter tank with Filterballs, hose connection Ø 32/38 mm and platform for pump.
| Model | 1087 |
| Max pool volume | 14,000 litres |
| Cleaning capacity at 0.4 bar | >3,800 litres/hour. |
| Pump capacity | >4,000 litres/hour. |
| Hmax | 5 m |
| Qmax | 67 litres/min. |
| Noise level dB(A) | 70 |
| Effect | 100 W / 0.10 kW |
| Connection | 230 V, 50 Hz |
| Quantity of filterballs: | 320 g |
| Pool size: | Max 19 m³ |
| Pump operating speed | 2,900 min |
| Filter pump: | Not self-priming |
| Safety classification | Class B, IPx8 |
Connection to electricity – safety rules
The pump must be connected to a 230V power source with 30 mA, and be earthed and connected to a residual-current device. ALWAYS remove the plug from the socket when working on the pump and filter.
NOTE!
Before the product is put into service, it is extremely important to read and follow the warnings and precautions contained in this manual. Failure to follow the instructions
may lead to the product being damaged or cause serious personal injury.
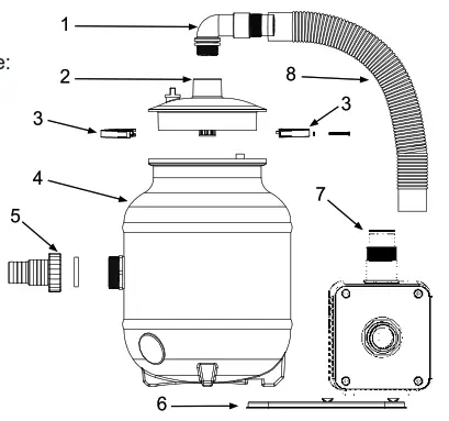
Parts list
The following items can be found in the package:
| 1 | 90° Allen key |
| 2 | Transparent cover |
| 3 | Locking ring |
| 4 | Filter tank |
| 5 | Threaded connection Ø32/38 |
| 6 | Base for the filter pump |
| 7 | Filter pump |
| 8 | Connection hose Ø 32 mm |

Setting up the sand filter system
Assemble the system at the final location. The distance from the pool to the filter system must be at least 3.5 m. The water temperature must not exceed + 35 o C or drop below 0 o c. Always remove the plug before carrying out any installation work.
NOTE!
The filter system must ALWAYS be placed at the same level as the bottom of the pool, so that the water will flow naturally by itself towards the pump. If the pool is below
ground, the sand filter system must be correspondingly placed in a filter shaft so that the water flows by itself to the pump. Remember that the shaft must remain dry. It must
therefore have a drain so any water is diverted away from the shaft.
5.1 Assembling the filter system



5.2 Connection to the pool (figure 10)
- Skimmer: Connection from the skimmer to the pump. The suction hose that takes the uncleaned water from the pool (pool skimmer)to the pump must be fitted to the pump’s inlet nozzle with hose clamps.
- Return: The hose that takes the cleaned water back to the pool must be fitted to the return nozzle on the filter tank.
All hoses should be properly fixed with hoseclamps. Any leakage can be remedied by using tape on the thread.
Fill the pool with water – ensure that the water line reaches the middle of the pool skimmer opening.
Now the system can be started up.

Using for the first time
The filter system must not be run without water, since the water cools the system. The warranty does not cover damage caused by the filter system being run without water.
- Before you start the filter system, ensure that the system is located beside the pool at the same level as the bottom of the pool and that all the connections are firmly clamped.
- Let the water flow from the pool to the filter system. Make sure that the water is naturally flowing to the pump through the suction hose from the pool.
The pump is not self-priming!
Therefore, both the pool hose and the pump must be completely filled with water (primed) before first use.
TIP!
Priming: Attach a hose to the base of the skimmer and switch on the water. Now the water runs to the pump and completely fills the pump with water. Now start the pump
and as soon as the pump starts to pull water through the system, a negative pressure will be formed in the hoses.
If there is air in the system you can remove it by slightly opening the ventilation valve on the lid.
There is no need to re-prime unless for some reason the hoses have been disconnected.
Operation, water care and accessories
2 x 5 hour filter cycles per day, and cleaning the pool bottom and water line, are all necessary measures for maintaining clean pool water.
What the filter system does not eliminate is algae, bacteria and other microorganisms that cloud and colour the water and affect the water purity and hygiene.
Specific products exist to prevent their appearance and eliminate them. With a correct dose, these products do not cause harm or any problems to the filter system, pool or bathers, but they guarantee that the pool water is perfectly disinfected.
Water care products
For specific water care products see page 2 and visit swim-fun.com for product specifications, guides, tips and useful information on how you maintain crystal clear pool water.
NOTE!
Filterballs needs to be replaced once a year. Alternatively, you can wash them, for example in a washing machine without the use of soap at a max temperature of 30°.
Beware! Cleaning the bottom of the pool
This filter system cannot be used for the vacuuming of the pool floor. For this you will need a pump with a motor power of at least 250W.
W can instead recommend the CleanRunner pool robot (art. 1046)
Trouble shooting
| Problem | Reason | Trouble shooting |
| At startup. The pump runs but pumps no water | There is air in the system. The pump is not located at the same level as the pool bottom. | The pump must be lower so the water always flows naturally towards the pump. The hoses are primed (see the procedure in paragraph 6) |
| The pressure is too low | The pump or hoses may be blocked with leaves and the like. | Clear the inside of the top valve of dirt and check for impurities, such as leaves etc the hoses. |
| Leaking filter assembly (be- tween lid and tank) | Worn or dirty gasket | The gasket needs to be replaced with a new gasket, or cleaned and acid-free Vaseline applied. |
| The pump is not running | The plug is not plugged into the socket The residual-current device switches off Faulty pump motor | Plug in Turn the residual-current device on again Turn it off immediately, either the pump or the residual-current device is defective. Replace the entire pump. |
| The pump sucks air (bubbles at the inlet) | Defective hoses Loose hose damps | Replace the hoses Tighten the hose clamps |
| Insufficient water supply to the skimmer or pump | The water level is too low | Top up the water in the pool, so the water line comes up to the pool edge |
NOTE!
Repairs to the sand filter and pump may only be carried out by qualified, professional firms, otherwise the warranty will lapse.
Winter storage
When the summer season is over, disconnect all hoses. The water MUST be drained completely from the filter. Remember also that the water must be drained from the pump through the inlet or outlet before placing it in a dry, frost-free place. The pump and filter tank are not frost-proof. Frost damage is not covered under the warranty.
Spare parts
| 1 | 2310 |
| 2 | 2311 |
| 3 | 2312 |
| 4 | 2315 |
| 5 | 2313 |
| 6/7 | 2317 |
| 8 | 2316 |
| 9 | 2316 |
| 10 | 2316 |
| 11 | 2314 |
| 12 | 2318 |
| 13 | 2319 |
| 14 | 1127 |
| 15 | 2320 |
Customer service:
Denmark +45 7022 6856
Sweden +46 771 188819
© All rights reserved Swim & Fun A/S 2022 Swim & Fun A/S
Ledreborg Allé 128 K, DK-4000 Roskilde
[email protected]
www.swim-fun.com
Swim & Fun A/S
[email protected]
Web: swim-fun.com
MV-1087-03-2022 DK-SE-FI-NO-UK-DE-NL-PL



















