Paul Neuhaus 728-95 Q Tower LED Floor Lamp
TOOLS REQUIRED

2x LED-Board 24V DC/13W/Not Rechargeable
LED
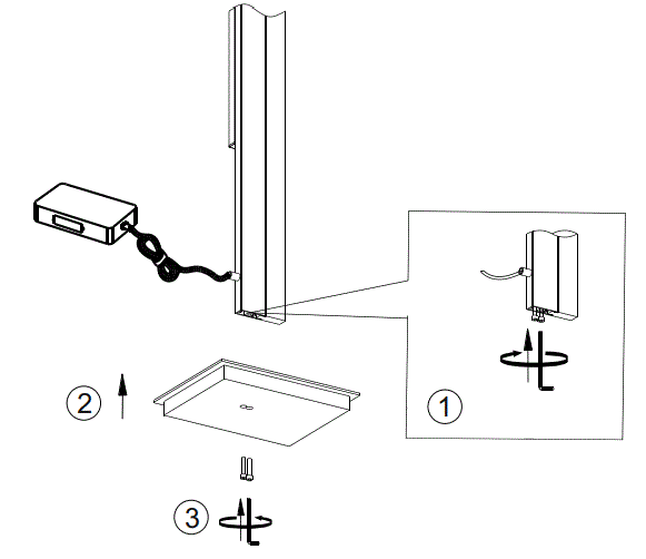
Montage /Fitting
Electrical Connection
230 voltage/50 Hz connection
Teach remote control
See Q-remote control manual
RESET
Reset the lamp, factory new
























