FLOOR CLOCK

VIDEO AVAILABLE ON ONLINE!
“How to Set Up a Floor Clock”
go to www.howardmiller.com
INSTRUCTION MANUAL

![]()
BASIC OPERATION OF A FLOOR CLOCK
At the heart of every floor clock is the movement. The movement controls the hour strike, time keeping, and chime. The pendulum and weights are critical components to operation of the clock movement.
The pendulum provides the ability to regulate and adjust the time keeping. As described within these instructions, adjustments to the pendulum to achieve accurate time keeping is easily accomplished.
The three weights provide power to the hour strike (left weight), time (center weight), and chime melody (right weight). Without these weights, the clock would not operate. Each weight is different and must be properly hung from the movement (left, center, right) to ensure proper operation. Weights are hung from the movement by a cable or chain. The weights must be raised at least every 7 days or the clock will stop. Raising cable driven weights is accomplished through use of a crank. Raising chain driven weights is accomplished by pulling down on the loose end of the chain.
The strike and chime sounds are made by a series of hammers hitting various length rods. Each rod makes a different sound when hit by a hammer. Specific chime melodies are achieved by controlling the sequence that each hammer hits a corresponding rod.
IMPORTANT INFORMATION
- Please take a moment to record the clock model number and serial number in the space provided in the Service Information section on page 12.
- The product information label lists the clock model number and serial number. The clock model number and serial number are essential for obtaining parts or service. The product information label may be located in several locations: outside the shipping carton, back of door, back of the clock, top of the clock, inside the top back corner of the clock, or inside the clock above the back of the dial. Refer to this label when contacting us or your dealer.
- Attach your sales receipt to this manual for future reference, and record the information from the Product Information Label, as indicated on page 7.
- Please keep any original packing that came with your floor clock.
FOLLOW THESE SIX STEPS TO SET UP CLOCKS THAT REQUIRE WEIGHTS SUSPENDED FROM A PULLEY AND CABLE
STEP 1
SETTING UP YOUR CLOCK
Located in the bottom of the shipping carton will be a box. This box contains: a) a key to fit your clock door, b) a crank which will be used to wind your clock and, c) weights which operate the clock movement. Also, within the shipping carton will be the clock pendulum packaged in a separate box.
WARNING: KEEP PLASTIC BAGS AND SMALL PARTS AWAY FROM CHILDREN.
Move the clock close to its final location.
WARNING: ENSURE CLOCK IS POSITIONED SQUARE AND FIRM ON THE FLOOR SO THAT IT WILL NOT FALL OVER. ADJUST LEVELERS FOR MAXIMUM STABILITY AND PROPER ALIGNMENT.
Access to the clock movement, chimes and cables is made in three possible ways; through the front door(s), through the top side panels (or side doors on some clocks), or through the back access panel. The top side panels are held from the inside by tape or a plastic clip. The plastic clip may be turned or tape may be removed permanently. Refer to the General Information section on page 7 for proper instructions to remove and install top side panels.
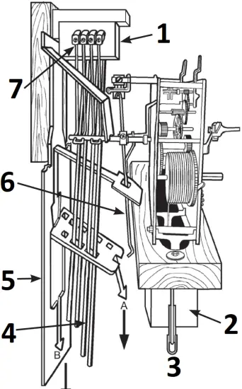
Remove the cardboard sleeve, from around the chime rods and pendulum guide, by holding the cardboard sleeve at points ‘A’ and ‘B’ and pulling straight down. Pull straight down and off the ends of the chime rods and pendulum guide. (See figure 1). Remove the foam pads from between the chime hammers and chime rods. Care should be taken to avoid bending the chime hammers. The chime hammers will be free to move after the cardboard sleeve has been removed, thereby allowing easy removal of the foam pads.

FIGURE 1
- FOAM PADS
- STYRO-FOAM BLOCKS
- CABLE PULLEYS
- CHIME RODS
- CARDBOARD SLEEVE
- PENDULUM GUIDE
- CHIME HAMMERS
DO NOT REMOVE THE STYROFOAM BLOCKS from above the cable pulleys. This is one of the most critical points in the entire set-up operation.
Removing the styrofoam blocks at this time could cause the cables to overlap and bind the movement. You can remove the styrofoam blocks AFTER they become loose through normal operation, which typically occurs after eight (8) hours of run time.
Position the clock into its final location. Once in place, your clock cabinet must be leveled, as the clock may not operate if it is not level. There are four (4) levelers under the cabinet on each corner that can be screwed in (up) or out (down) to make adjustments. Place a level alongside the clock cabinet from front to back and side to side, adjusting the levelers until level. It may be necessary to periodically check your cabinet after initial set-up, (especially if the clock is on carpet), as it might settle after original leveling. (see figure 2). Ensure clock is positioned square and firm on the floor so that it will not fall over.

FIGURE 2
- LEVELER
Illuminated cases: Some clocks have lights illuminating the inside of the clock case. Check that all packaging materials have been removed from the light bulb before operating the light.
NOTE: To perform the following steps we suggest wearing cotton gloves or using a soft cloth when handling parts.
STEP 2
HANGING PENDULUM
Some pendulums have a colored protective plastic film covering the pendulum disk. Carefully remove this film before hanging the pendulum. To hang the pendulum, locate the pendulum guide through the front door, or any of the side or back access panel locations. While holding the pendulum guide with one hand, slip the pendulum in through the front door with your other hand. Place the pendulum hook through the slot on the pendulum guide, and lower the pendulum until it is hanging securely on the pendulum guide. (See figure 3).

FIGURE 3
- STYRO-FOAM BLOCKS
- CABLE PULLEYS
- PENDULUM
- PENDULUM HOOK
- PENDULUM GUIDE
STEP 3
HANGING WEIGHTS
DO NOT REMOVE THE STYROFOAM BLOCKS until after your clock has been operating. You can remove the styrofoam blocks AFTER they become loose through normal operation, which typically occurs after eight (8) hours of run time.
Most clocks use three weights. The bottom of each weight is labeled as to its proper hanging position as you view your clock from the front. The total weight of each weight is slightly different and each WEIGHT MUST BE INSTALLED IN ITS CORRECT LOCATION FOR THE CLOCK TO OPERATE PROPERLY. Check the weights to ensure that they are tightly assembled.
Check to make sure that the cable is in the cable pulley. Hang the weights on the pulleys. (See figure 4).

FIGURE 4
- STYROFOAM BLOCK
- CABLE
- CABLE PULLEY
- WEIGHT
STEP 4
SETTING MOON DIAL (available on some models)
With your fingertips, apply slight pressure to the front of the moon dial and rotate the moon dial clockwise until the moon is directly below the #15 lunar day mark (each mark represents a lunar day) on the lunar arch (See figure 5).

FIGURE 5
- #15 LUNAR DAY MARK
If the moon dial will not rotate, see the Trouble Shooting Section.
Refer to an almanac or calendar and determine the date of the last full moon.
Count the number of days past the last full moon.
Rotate the moon dial clockwise 1 lunar day for every day past the full moon.
Example: If the last full moon was 3 days ago, rotate the moon dial clockwise 3 lunar days so that the moon is centered at lunar day 18 on the lunar arch.
The moon dial is now set and will indicate the proper moon phases as long as the clock operates continuously. If the clock stops the moon dial will also stop and can be reset when the clock is started again.
STEP 5
SETTING TIME (moving the hands)
CAUTION ON MOVEMENTS WITH AUTOMATIC CHIME SEQUENCING:
The chime selection lever should not be in the “Auto” position when moving the hands. Moving the hands in either the clockwise or counterclockwise direction while the automatic chime sequencing is in operation could damage the chime mechanism.
CAUTION ON MOVEMENTS WITH DAY/NIGHT SHUT-OFF FEATURES:
The Day/Night lever must be in the strike position (all the way up) when moving the hands.
To set the time, slowly move ONLY THE MINUTE HAND counterclockwise (backwards) until hour and minute hand are at the correct time. (See figure 6). DO NOT MOVE THE HOUR HAND WHEN SETTING THE TIME. The hour hand will move automatically when the minute hand is moved. If the clock begins to chime while setting the time, stop moving the hands until chiming is complete (See figure 6). The movement has a self correcting feature which synchronizes the chimes with the time. If after setting the clock on time, it does not chime properly, permit it to operate 2 hours to correct itself.

FIGURE 6
STEP 6
STARTING CLOCK
Reach through the front door of the clock and place your hand on the side of the pendulum disk.
Move the pendulum to the far left of center and release. Let the clock operate a few minutes until the pendulum settles into an even swinging motion. (See figure 7).

FIGURE 7
If your clock gains or loses time after twenty-four (24) hours, see General Information Section to regulate the timekeeping of your clock.
AFTER the styrofoam blocks become loose through normal operation, which typically occurs after eight (8) hours of run time, you can remove the styrofoam blocks. Remove the styrofoam blocks by lifting the blocks straight up until they clear the cable pulley. Then gently push them back, through the cables. Do not use tools to remove the blocks. Do not permit the cable to overlap on the drum.
FOLLOW THESE SIX STEPS TO SET UP CLOCKS THAT REQUIRE WEIGHTS SUSPENDED FROM A CHAIN
STEP 1
SETTING UP YOUR CLOCK
Located in the bottom of the shipping carton will be a box. This box contains: a) a key to fit your clock door and, b) weights which operate the clock movement. Also, within the shipping carton will be the clock pendulum packaged in a separate cardboard box.
WARNING: KEEP PLASTIC BAGS AND SMALL PARTS AWAY FROM CHILDREN.
Move the clock close to its final location.
WARNING: ENSURE CLOCK IS POSITIONED SQUARE AND FIRM ON THE FLOOR SO THAT IT WILL NOT FALL OVER. ADJUST LEVELERS FOR MAXIMUM STABILITY AND PROPER ALIGNMENT.
Access to the clock movement, chimes and chains is made in three possible ways; through the front door(s) through the side or back access panel. The rear access panel is held in place with plastic clips. Turn the top clips to remove the rear access panel. The side access panels are held from the inside by tape or a plastic clip. The clip may be turned or tape may be removed permanently. Refer to the General Information section on how to properly remove and install side access panels.
Remove the plastic retainer from the chime rods by carefully tilting and sliding the retainer down off the ends of the chime rods. Remove the foam pads from between the hammers and chime rods. Care should be taken to avoid bending the chime hammers and chime rods.
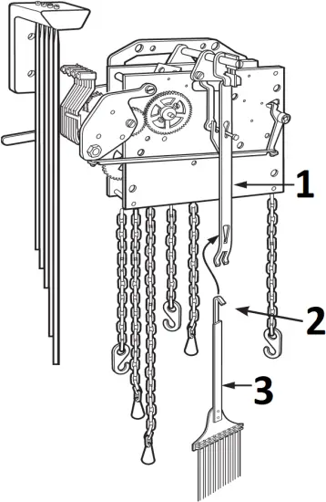
The chains have been packed for shipment in a bag and are located near the clock movement. Pull the bag free and cut the string with scissors. Allow the chains to hang.
CAUTION: Take great care not to pull the chains through the movement or off the sprockets while removing the plastic retainer from the chains.
Carefully remove the plastic retainer by sliding the retainer down off the chains.
Remove the spring clip from the back side of the movement by first pulling one end free. (See figure 8).
REAR VIEW

FIGURE 8
- CHIME HAMMERS
- FOAM PAD
- CHAIN BAG
- PENDULUM GUIDE
- SPRING CLIP
- PLASTIC RETAINER (chains)
- PLASTIC RETAINER (chime rods)
- CHIME RODS
Position the clock into its final location. Once in place, your clock cabinet must be leveled, as the clock may not operate if it is not level. There are four (4) levelers under the cabinet on each corner that can be screwed in (up) or out (down) to make adjustments. Place a level alongside the clock cabinet from front to back and side to side, adjusting the levelers until level. It may be necessary to periodically check your cabinet after initial set-up, (especially if the clock is on carpet), as it might settle after original leveling. (See figure 9). Ensure clock is positioned square and firm on the floor so that it will not fall over.

FIGURE 9
- LEVELER
Illuminated cases: Some clocks have lights illuminating the inside of the clock case.
Carefully remove the paper sleeve from the light bulb before operating the light.
NOTE: To perform the following steps we suggest wearing cotton gloves or using a soft cloth when handling parts.
STEP 2
HANGING PENDULUM
Some pendulums have a colored protective plastic film covering the pendulum disc. Carefully remove this film before hanging the pendulum.
To hang the pendulum, locate the pendulum guide through the front door, or any of the side or back access panel locations. While holding the pendulum guide with one hand, slip the pendulum in through the front door with your other hand. Place the pendulum hook through the slot on the pendulum guide, and lower the pendulum until it is hanging securely on the pendulum guide. (See figure 10).

FIGURE 10
- PENDULUM GUIDE
- PENDULUM HOOK
- PENDULUM
STEP 3
HANGING WEIGHTS
Most clocks use three weights. The bottom of each weight is labeled as to its proper hanging position as you view your clock from the front. The total weight of each weight is slightly different and each WEIGHT MUST BE INSTALLED IN ITS CORRECT LOCATION FOR THE CLOCK TO OPERATE PROPERLY. Check the weights to ensure that they are tightly assembled.
CAUTION: Ensure that each link of each chain is properly positioned on the teeth of the sprocket. Hang each weight on the solid hook at the end of the chain, never on the chain links. (See figure 11).

FIGURE 11
- CHAIN LINKS
- SOLID HOOK
- WEIGHT
STEP 4
SETTING MOON DIAL (available on some models)
With your fingertips, apply slight pressure to the front of the moon dial and rotate the moon dial clockwise until the moon is directly below the #15 lunar day mark (each mark represents a lunar day) on the lunar arch (See figure 12).

FIGURE 12
- #15 LUNAR DAY MARK
If the moon dial will not rotate, see the Trouble Shooting Section.
Refer to an almanac or calendar and determine the date of the last full moon.
Count the number of days past the last full moon.
Rotate the moon dial clockwise 1 lunar day for every day past the full moon.
Example: If the last full moon was 3 days ago, rotate the moon dial clockwise 3 lunar days so that the moon is centered at lunar day 18 on the lunar arch.
The moon dial is now set and will indicate the proper moon phases as long as the clock operates continuously. If the clock stops the moon dial will also stop and can be reset when the clock is started again.
STEP 5
SETTING TIME (moving the hands)
To set the time, slowly move ONLY THE MINUTE HAND counterclockwise (backwards) until hour and minute hand are at the correct time. (See figure 13).

FIGURE 13
DO NOT MOVE THE HOUR HAND WHEN SETTING THE TIME. This hand will move automatically when the minute hand is moved. If the clock begins to chime while setting the time, stop moving the hands until chiming is complete. The movement has a self correcting feature which synchronizes the chimes with the time. If after setting the clock on time, it does not chime properly, permit it to operate 2 hours to correct itself.
STEP 6
STARTING CLOCK
Reach through the front door of the clock and place your hand on the side of the pendulum disk.
Move the pendulum to the far left of center and release. Let the clock run a few minutes until the pendulum settles into an even swinging motion. (See figure 14).

FIGURE 14
If your clock gains or loses time after 24 hours, see General Information Section to regulate the timekeeping of your clock.
GENERAL INFORMATION
PRODUCT INFORMATION LABEL
The product information label identifies the clock model number and serial number. The clock model number and serial number are essential for obtaining parts or service. The product information label is located in several locations: outside the shipping carton, back of door, back of the clock, top of the clock, inside the top back corner of the clock, or inside the clock above the back of the dial. Refer to this label when contacting us or your dealer. For easy reference in the future, take a moment to record these numbers in the space provided in the Service Information Section (page 12.) Attach your sales receipt to this manual for future reference.
PRODUCT INFORMATION LABEL

MOVING YOUR CLOCK
Care should be taken whenever you move your clock to insure that all accessory parts such as the pendulum and weights, are removed and packed properly to prevent damage. NEVER wind a cable drive movement without weights installed.
HOW TO REMOVE/INSTALL THE TOP SIDE PANELS FROM THE CLOCK
Your clock may have wood or glass top side panels. When removed, you have access to the clock movement and chime area. The panels may be held in place during shipment by tape or a plastic clip. In order to remove the panel, reach in through the front door and turn the plastic clip or remove the tape. Then follow these steps:
- Grasp the wood slats or knob with the tips of your fingers. Be careful not to push on the grill cloth or glass as you might separate it from the wood top side panel.
- Lift the top side panel up. It rests in a groove on the bottom edge.
- Push the bottom edge of the top side panel toward the center of the case while at the same time, pull the top edge down and out of the groove in the top of the opening.
- Tilt the top edge of the top side panel toward the case center.
- Remove the top side panel from frame opening, bottom end first.
When installing wooden or glass top side panels reverse steps 1 thru 5.

STEP 1 STEP 2 STEP 3

STEP 4 STEP 5
GLASS FEATURES
Note that minor character marks are created by the glass making processes such as heat bending, cutting, or polishing. These character marks are visible to the eye. They are natural and are not considered as flaws.
When cleaning glass, use a non-ammonia glass cleaner. Never spray the cleaner directly on the clock.
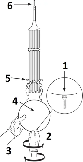
RAISING WEIGHTS
The weights must be raised every seven (7) days or the clock will stop.
FLOOR CLOCK: Cables with pulleys
Weights that are suspended by cables with pulleys should be raised by using the crank provided. DO NOT lift the weights by hand while cranking. Insert the crank into the crank holes located in the dial face (See figure 15), and turn the crank counterclockwise. This will raise the weights.

FIGURE 15
- CRANK HOLE
- CRANK
FLOOR CLOCK: Chains
IMPORTANT: PULL STRAIGHT DOWN ON THE CHAIN.
DO NOT lift up on the weights as this could cause the weights to come unhooked from the chains. Pull down on the loose end of the chain until the weight is approximately 2″ from the bottom of the wood movement mounting board. (See figure 16).

FIGURE 16
REGULATING TIMEKEEPING
Changing the speed of time keeping is accomplished by moving the pendulum disk up or down. The pendulum disk is moved up or down by turning the adjustment nut. To slow the clock down, move the pendulum disk down by turning the adjustment nut to the left.
To speed the clock up, move the pendulum disk up by turning the adjustment nut to the right. (See figure 17).

FIGURE 17
- ADJUSTMENT NUT
- SPEED UP
- SLOW DOWN
- PENDULUM DISK
- LYRE
- HOOK
Day One
- Select a time of day that will allow you to check your clock at the same time for at least six days.
- Record time selected ________________.
- Check correct time.
- Re-set the minute hand to the exact, correct time.
Day Two, Three, Four, Five, Six (If Necessary)
- Check correct time.
- Compare time shown on your clock with correct time. Is your clock fast or slow?
- Turn the adjustment nut on the pendulum. One complete revolution equals approximately one half (1/2) minute fast or slow per day. (24 hours). Accurate time adjustment varies for every pendulum.
- Check correct time.
- Re-set the minute hand to exact, correct time.
AUTOMATIC NIGHTTIME SHUT OFF (available on some models)
Some clock models feature an option which will automatically silence the chime and hour strike during the nighttime hours. This feature (available on some models) is activated either by a lever on the left hand side of the dial, or by pushing up on a rod located under the dial. The model of your clock will determine if it has the lever or rod.
If your clock remains silent during the daytime hours, you need to re-set the clock hands back 12 hours. First, take the movement out of nighttime shutoff, then move the hands backwards 12 hours, rotate the minute hand (only) counterclockwise to the correct time.
To allow the clock to chime and strike 24 hours, move the lever out of nighttime silence or pull down on the rod located under the dial.
ILLUMINATED CASES (available on some models)
Some clocks have lights illuminating the inside of the clock case. Carefully remove the paper sleeve from the light bulb before operating the light.
CHIME SELECTION
Selecting the chime melody is accomplished by a selection lever on the clock dial.
Some models play only the Westminster chime, while others give you a selection of three melodies. Some models also have an automatic chime sequencing feature. This feature allows the movement to automatically change the chime selection every hour. Selection of the chime sequencing feature or one of the three chime melodies is done with the selector lever.
If the dial states “Chime-Silent,” your clock has only the Westminster chime. If your clock has a triple chime movement, the chime lever identifies the melody choices.
All floor clock movements have the Big Ben hour gong which will count the hour, on the hour. DO NOT attempt to move the chime selection lever while the clock is chiming. Doing so could damage the chime mechanism. See figure 18 for when it is safe to move the chime selection lever without damaging the movement.

FIGURE 18
- MOVE CHIME SELECTION LEVER ONLY WHEN MINUTE HAND IS IN SAFE TIME AREA
CARE AND MAINTENANCE
Your clock requires little care and maintenance.
Listed below are steps you can take to maintain the exceptional quality of your clock.
- Wind your clock every seven (7) days.
- Keep the door locked.
- Wax and polish your clock cabinet as frequently as you do your other furniture. Use a non-silicone liquid or paste wax.
- Avoid exposing the clock to direct sunlight and protect from extreme temperatures and humidity changes. Prolonged exposure to direct sunlight may fade the finish while extreme temperature and humidity changes may cause the wood to split or crack.
- Check periodically to ensure that your clock rests firmly on all four levelers. This is especially important the first few months if the clock is on carpet. As the clock’s feet settle into the carpet, it could become unbalanced. Adjustment to any of the four levelers may be needed.
- Check the weights occasionally to ensure that they are still tightly assembled.
- It is recommended that your clock movement be oiled every two (2) years from the date of purchase and thoroughly cleaned every five (5) to ten (10) years depending on climatic conditions. Extremely dry, humid or salty air, heat or cold may necessitate more frequent servicing. We do not recommend that you service the clock movement yourself. Contact an Authorized Service Center. (See Service Information Section)
TROUBLE SHOOTING
Ensure that all instructions provided with your product have been carefully followed. These instructions will provide detailed information to answer most questions. Contact our web site for a list of frequently asked questions that may conveniently resolve your problem or answer your questions.
DIFFICULTY ROTATING THE MOON DIAL
If the moon dial will not rotate (as described in the set up operations STEP 4), this may indicate that the gears which automatically advance the moon dial are engaged. To correct this situation, rotate the minute hand backward 3-1/2 hours as described in STEP 5 of the set up operation, set the moon dial, and then set the time as described in STEP 6.
CLOCK DOES NOT CHIME AT PROPER TIME
If the clock chimes more than one minute before or after the proper time, the minute hand should be removed and adjusted.
CAUTION: When performing this operation be careful not to scratch the hand nut, hand or dial.
1. When the clock starts to chime, stop the pendulum and record the time.
2. Using pliers, carefully remove the small nut that holds the minute hand in place by turning the nut counterclockwise while at the same time hold the minute hand with your fingers near the small nut.
3. Remove the hand from the hand shaft by grasping it with your fingers at the point where it attaches to the shaft. Pull the hand straight off. This hand is not screwed on and should come off easily. The minute hand has a small raised area on the back side directly around the shaft hole, this is the hand bushing. Using pliers, grip the bushing firmly by its sides so that it cannot slip in the pliers. With your other hand, turn the clock hand forward or backward the distance necessary to chime at the correct time. (See figure 19).
Back Side Of Minute Hand

FIGURE 19
- Bushing
4. Re-attach the hand to the shaft and turn the hand nut finger tight. Make sure the hand points to the correct location that you recorded in Step 1 plus any corrections you made in step 3. If the hand does not point to the correct mark, repeat steps 2 and 3.
5. Snug up the hand nut with the pliers. Do not over tighten.
6. Start pendulum.
7. Re-set the time by moving ONLY THE MINUTE HAND counterclockwise (backwards) as described in Step 5 of the set-up operation.
EXAMPLE: Clock chimes at 1:10 but should chime at 1:15.
Step 1: When clock chimes at 1:10 stop the pendulum and record the time of 1:10.
Step 2: Carefully remove the small nut.
Step 3: Remove the minute hand. Grip the bushing by its sides and turn the hand forward 5 minutes.
Step 4: Reattach the hand so it points to 1:15. Attach the hand nut finger tight.
Step:5 Snug up the hand nut.
Step 6: Start pendulum.
Step 7: Reset clock to current time.
CLOCK DOES NOT STRIKE THE CORRECT HOUR
If after several hours of operation your clock does not strike the correct hour, grasp the HOUR HAND ONLY and move it forward or backward to line up with the correct hour on the dial indicated by the number of times the hour strikes. Rotating this hand independently will not damage the clock. If the minute hand needs to be reset (to correct time), move the minute hand counterclockwise (backwards) as described in Step 5: Setting Time.
CLOCK WILL NOT CHIME OR STRIKE
- Make sure that the selection lever is not in the “silent” position or halfway between two chime melody positions?
- Make sure that all the packing material is removed from the movement area.
- Make sure that the weights are hanging in the correct location Check the label on the bottom of each weight to ensure proper location.
- For models with nighttime silencing, make sure that the clock is not in the nighttime silence mode. (Reference: See AUTOMATIC NIGHTTIME SHUT OFF OPTION in General Information Section).
- Check hammer adjustment and correct chime tone as necessary.
- Move the chime selection lever to a different melody or to “silent”.
- It is possible that the styrofoam blocks located above the cable pulleys are binding the cable. Carefully remove the styrofoam blocks by lifting the blocks straight up until they clear the cable pulley. Then gently push them back through the cables. Do not use tools to remove the blocks. Do not permit the cable to overlap on the drum.
CHIMES HAVE THE INCORRECT TONE
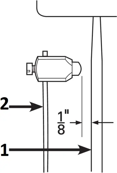
DO NOT ADJUST CHIME HAMMERS, unless the chime tone is incorrect. Chime tone may be affected by the hammers resting on the chime rods or striking the rods off center. Although the hammers were set at the factory, it is possible for them to get out of adjustment. For most clocks, it will not be necessary to adjust chime hammers. There are different types of chimes, (rods and tubes), please find yours below.
CHIME ROD hammer arms are made of brass and can be safely bent. If necessary, adjust hammers so that they do not interfere with each other while moving or striking the chime rods. This is accomplished by bending the hammer arms slightly in the middle so that each hammer rests approximately 1/8″ from each rod. (See figure 20). DO NOT bend the chime rods. Chime volume cannot be adjusted on a chime rod movement.

FIGURE 20
- CHIME ROD
- HAMMER ARM
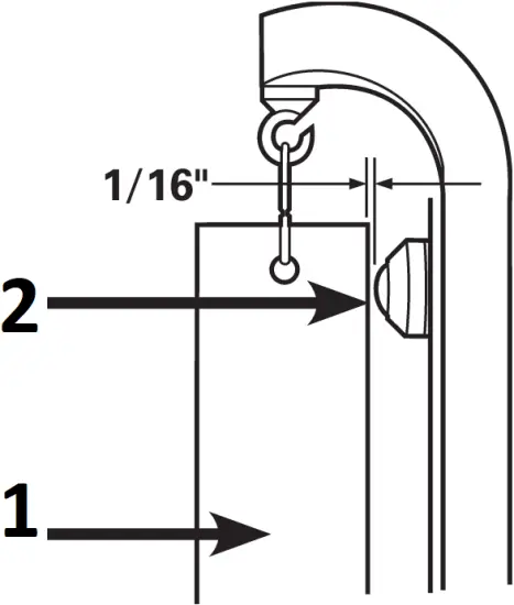
CHIME TUBE hammer arms are made of spring steel; DO NOT bend the hammer arms.
The clarity of sound is determined by the distance between the hammer and the chime tube. This is typically 1/16″. (See figure 21). However, this distance can be adjusted by loosening or tightening the thumb screw attached to the hammer string. (See figure 22). Important: If the tension is too strong or the string is too tight, it can cause the chime to stop during the chime process.

FIGURE 21
- CHIME TUBE
- CHIME HAMMER

FIGURE 22
- THUMB SCREW
- CHIME TUBE
- HAMMER TENSION SCREW
- HAMMER STRING
NOTE: The hammer tension screw is set at the factory, and is NOT adjustable.
WEIGHTS DO NOT DROP AT THE SAME LEVEL
When the automatic nighttime shutoff feature is selected, and on some models the “silent” feature, the center weight will drop at a faster rate than the other weights.
CLOCK WILL NOT RUN
Although it is not recommended that you repair your own clock, you should check these items before contacting us, your dealer, or an Authorized Service Center. (See Service Information Section.) Do not attempt any adjustment you do not feel confident in making.
1. Has all the packing material been removed from the movement area?
2. Has the pendulum guide spring clip been removed from the back of the movement?
3. Did you try re-starting your clock? Being “in beat” is necessary for your clock to keep running.
4. Are the weights hanging in the correct location? Check each weight bottom for proper location.
5. Is the pendulum hitting the weights or chime rods? If so, check the level and stability of the clock.
6. Is the clock level?
7. Has a pulley come off the cable or chain off the sprocket?
8. Do the hands operate without interference? Do not let the hour hand hit the second hand. If the second hand is rubbing the dial, pull it out slightly. If the hour hand is rubbing against the back of the minute hand, the hour hand should be pushed closer to the dial (put your thumb nails on the center portion of the hour hand and push).
9. Did you check the click spring on the back side of the moon dial?
10. Did you remove the styrofoam blocks before they became loose through normal operation? (typically occurs after eight (8) hours of run time)
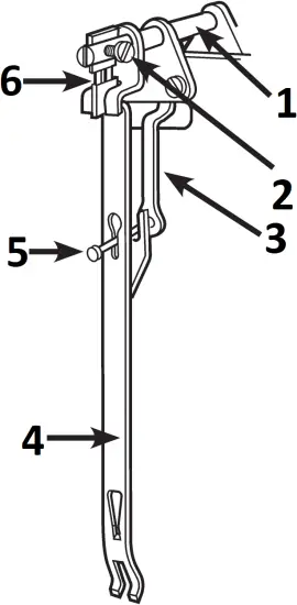
11. Did you check the suspension spring? If it is damaged, it must be replaced. (See figure 23).

FIGURE 23
- PENDULUM POST
- THUMB SCREW
- VERGE
- PENDULUM GUIDE
- VERGE PIN
- SUSPENSION SPRING
12. Is the verge pin properly located in the slots of the pendulum guide? If not, reposition the verge pin. (See figure 23).
13. It is possible that the styrofoam blocks located above the cable pulleys are binding the cable. Carefully remove the styrofoam blocks by lifting the blocks straight up until they clear the cable pulley. Then gently push them back through the cables. Do not use tools to remove the blocks. Do not permit the cable to overlap on the drum.
LIMITED WARRANTY
Warranty
This warranty is our promise and commitment that our products have been manufactured using the finest materials and have been thoroughly inspected prior to being shipped from our facilities.
Floor clocks are warranted to the original consumer or recipient to be free from manufacturing defects in materials and workmanship under normal use, conditions and service from the date of purchase for a period of 2 Years.
This warranty does not include: damage to product or components resulting from abuse, accident, alteration, or climatic/environmental conditions; damage resulting from normal wear and tear, misuse, or unauthorized repair; natural variations in wood grain or changes in surface finishes due to aging or exposure to light. The company’s obligation under this warranty shall be limited to repairing the product or component, or at its option, replacing it with a new product or component.
A copy of the sales receipt or other comparable proof of original purchase is required to obtain warranty service. Some states do not allow the exclusion or limitation of incidental or consequential damages or the limitation on how long an implied warranty lasts so the above limitations or exclusions may not apply to you. This warranty gives you specific legal rights and you may also have other rights which vary from state to state.
Freight Damage
By accepting our product for shipment, the carrier acknowledges that the product is in First Class condition. By signing (or someone else signing on your behalf) to accept the shipment, you acknowledge that the product has been received in the same First Class condition as shipped. If the carton is crushed or otherwise damaged, instruct the driver to note the damage on the freight bill and file a claim immediately with the carrier. For your protection, we suggest that you inspect all merchandise at the time of delivery, before signing the Bill-of-Lading. When you or your representative signs without noting any damage, shortages or exceptions, you accept and own the merchandise, as delivered.
Concealed Freight Damage
Report any damage directly to the carrier immediately. Some carriers require damage to be reported within as little as 2-3 days of the delivery. Should damage be discovered after delivery, you (the consignee) are responsible for filing a written Concealed Damage Claim with the carrier, requesting the carrier to make an inspection and create a damage report. Filing this claim is your responsibility, however, we will help you with the process and act as your advocate in reaching a satisfactory resolution with the carrier.
THE COMPANY DISCLAIMS ANY LIABILITY FOR INCIDENTAL OR CONSEQUENTIAL DAMAGES ARISING OUT OF BREACH OF THIS WARRANTY OR ANY IMPLIED WARRANTY. IMPLIED WARRANTIES ON THIS PRODUCT SHALL BE IN EFFECT ONLY FOR THE DURATION OF THE EXPRESS WARRANTY SET FORTH ABOVE AND THEREAFTER, THERE SHALL BE NO WARRANTIES, EXPRESS OR IMPLIED, (INCLUDING MERCHANTABILITY OR FITNESS FOR ANY PARTICULAR PURPOSE), ON THIS PRODUCT.
SERVICE INFORMATION
In the unlikely event that your product appears to be malfunctioning or requires repair within the warranty period, please contact your retailer or the company who provided the item if it was an award. They will be your first resource for information regarding your warranty and service options.
If your floor clock is more than two years old from the date of purchase or receipt as an award, your product is no longer under the manufacturer’s warranty. Support for products that are no longer under warranty is available through the “Help Center” at www.howardmiller.com.
We recommend that you carefully read and follow all instructions provided with your Howard Miller product before pursuing service. These instructions will provide detailed information to answer most questions.
To find additional information regarding your product, to order parts or to find a service center, please go to the “Help Center” located at www.howardmiller.com. The “Help Center” also has links to product manuals, instructions, videos and frequently asked questions.
Before contacting your retailer, award provider or a service center, please have the following information available. The model number and serial number can be found on the Product Information Label which is normally on the back or bottom of the product.
Model Number: ___________ Serial Number:____________
Date Purchased:____________ Where Purchased:_________
If your floor clock was shipped directly to you, it is your responsibility to report freight loss or damage to the carrier and your retailer or award provider. If the carton indicates signs of “visible damage”, instruct the driver to note the damage on the freight bill. If damage is found after the item has been delivered, notify your retailer or award provider and the carrier immediately. Many carriers require notification within 2 days. Failure to notify the carrier within their required time frame may waive your rights to a damage claim and you may be liable for the damage.
MINOR ADJUSTMENTS NOT COVERED UNDER WARRANTY
The following minor adjustments are not covered under this warranty. Repair service and/or parts to correct these adjustments are at the consumer’s expense.
- “Set-Up”. Set-Up instructions have been provided with your product.
- Mechanical Movement Oiling and Cleaning. The movement in your clock is a mechanical mechanism and, therefore, requires periodic oiling and cleaning depending on climatic and environmental conditions. Under normal conditions a movement requires oiling with high quality clock oil approximately every two years from the date of purchase. Please contact a qualified clock repair person or Authorized Service Center for this service.
- Replacement of Suspension Spring; Pendulum, Timing, and Chime/Strike Hammer Adjustments. Instructions for these adjustments have been provided in this publication.
IMPORTANT SAFETY INSTRUCTIONS
for Electrical Furnishings
Read all instructions before using this product.
WARNING – To reduce the risk of burns, fire, electric shock, or injury to persons, basic precautions should always be followed when using electrical furnishings, including the following:
a) Unplug from outlet before cleaning or pulling on parts or taking off parts.
b) Close supervision is required when this furnishings is used by or near children, handicapped or disabled persons.
c) Use this furnishing only for its intended use as described in its instructions. Do not use attachments not recommended by the manufacturer.
d) Never operate this furnishing if it has a damaged cord or plug, if it is not working properly, if it has been dropped or damaged, or dropped into water. Return the furnishing to a service center for examination and repair.
e) Keep cord away from heated surfaces.
f) Never operate the furnishing with the air openings blocked. Keep the air openings free of lint, hair, and the like.
g) Never drop or insert any object into any opening.
h) Do not use outdoors.
i) Do not operate where aerosol (spray) products are being used or where oxygen is being administered.
j) To disconnect, turn all controls to the off position, then remove plug from outlet.
k) For grounded products – connect this furnishing to a properly grounded outlet only.
l) For loading – always put heavier items at the bottom and not near the top in order to help prevent the possibility of the furnishing tipping over.
WARNING- Risk of injury to Persons – do not use this furnishing to support video equipment such as televisions or computer monitors.
SAVE THESE INSTRUCTIONS

| Thank you for selecting a Howard Miller clock. For nearly 100 years our family has taken pride in knowing that the heirlooms we make will be treasured in your family for generations. This legacy and dedication to quality is found in every Howard Miller clock — from the soothing melody of the chimes to the quality hardwood construction and hand-applied finishes. We are confident that you and your family will enjoy your clock for years to come. With our sincere thanks,
Buzz Miller President — Howard Miller Company |

497260


















