

Waterpik® Water Flosser Model WP-500 Series
IMPORTANT SAFEGUARDS
READ ALL INSTRUCTIONS BEFORE USING.
- This product is for household use.
When using electrical products, especially when children are present, basic safety precautions should always be followed, including the following:
DANGER
To reduce the risk of electrocution:
- Do not handle charger with wet hands.
- Do not place charger in or drop charger into water or other liquid.
- Check the charger cord for damage before the first use and during the life of the product.
WARNING:
To reduce the risk of burns, electrocution, fire, or injury to persons:
- Do not plug this device into a voltage system that is different from the voltage system specified on the device or charger.
- Do not charge this unit with any charging devices other than the one provided.
- Do not use this product if it has a damaged cord or plug, if it is not working properly, if it has been dropped or damaged, or dropped into water. Contact Water Pik, Inc. or visit www.waterpik.com
- Do not direct water under the tongue, into the ear, nose or other delicate areas. This product is capable of producing pressures that may cause serious damage in these areas.
- Do not direct water into the nose or ear. The potentially deadly amoeba, Naegleria fowleri, may be present in some tap water or unchlorinated well water and may be fatal if directed into these areas.
- Use this product only as indicated in these instructions or as recommended by your dental professional.
- Magnetic field: Pacemakers and similar implanted medical devices may be affected by magnet.
- Only use tips and accessories that are recommended by Water Pik, Inc.
- Do not drop or insert any foreign object into any opening on the product.
- Keep charging unit and cord away from heated surfaces.
- Do not use this product outdoors or operate where aerosol (spray) products are being used or where oxygen is being administered.
- Do not use iodine, saline (salt solution), or water insoluble concentrated essential oils in this product. Use of these can reduce product performance and will shorten the life of the product. Use of these products may void warranty.
- Remove any oral jewelry prior to use of this product.
- Do not use if you have an open wound on your tongue or in your mouth.
- If your physician advised you to receive antibiotic premedication before dental procedures, you should consult your dentist before using this instrument or any other oral hygiene aid.
- This appliance is not intended for use by persons (including children) with reduced physical, sensory or mental capabilities, or lack of experience and knowledge, unless they have been given supervision or instruction concerning use of the appliance by a person responsible for their safety
- Children should be supervised to ensure that they do not play with the appliance.
- If the supply cord is damaged, it must be replaced by a special cord or assembly available from the manufacturer or its service agent.
SAVE THESE INSTRUCTIONS
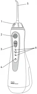
PRODUCT DESCRIPTION
1. Tip rotator
2. Power button
3. Mode/pressure button
4. Battery charge indicator
5. Tip
6. LED pressure indicators
7. Reservoir
8. Tip eject button
9. Reservoir fill door

Charger
Water Pik PN 20018701-1 (White)
Water Pik PN 20018701-4 (Black)
Water Pik PN 20018701-7 (Pink)
Water Pik PN 20018701-8 (Teal)
Water Pik PN 20018701-14 (Blue)
Water Pik PN 20018701-15 (Orchid)

NOT ALL TIPS INCLUDED IN ALL MODELS


*Replace Every 3 months
**Replace Every 6 months
TIPS
A. Orthodontic Tip*
– Braces/General use
B. Pik Pocket™ Tip*
– Periodontal pockets/Furcations
C. Plaque Seeker™ Tip*
– Implants/Crowns/Bridges/ Retainers/General use
D. Toothbrush Tip*
– General use
E. Classic Jet Tip**
– General use
F. Tongue Cleaner**
– Fresher breath
G. Travel Plug
– Keeps excess water from draining out while traveling
Replacement accessories may be purchased online at www.waterpik.com, or by phone from Water Pik, Inc. at 1-800-525-2774 (USA) or 1-888-226-3042 (Canada). To find detailed information about tips, other accessories, and product usage please visit our website at www.waterpik.com.
GETTING STARTED

Charging Unit Prior to First Use
Plug the power cord into the wall and place the magnetic charger on the front of the unit for approximately 4 hours (see image). The charge indicator on the handle will flash when charging and will turn of when the unit is fully charged. A full charge will last for approximately 1 week of typical use. When the batteries are in need of charging (approximately 30% charge left) the charge indicator light will blink 8 times quickly after use to indicate that you should recharge the unit. A complete recharge will take 3-4 hours. If you use your Water Flosser once a day or less, it is recommended you charge it once a week. If you use it twice a day or more, charge the unit more frequently.
Filling the Reservoir
Remove the magnetic charger from the unit prior to filling reservoir and product use. Lift flip top on reservoir and fill the reservoir with lukewarm water.
Inserting and Removing Tips
Insert tip into the center of the knob at the top of the Water Flosser handle. Press firmly until the tip clicks into place. To remove the tip from the handle, press the tip eject button and pull tip from the handle.
CAUTION: Do not press tip eject button while unit is running.
Adjusting the Pressure Setting
You can adjust the pressure setting on your Water Flosser by pressing the mode button on the handle. Start with the lowest setting and increase to your liking.


Recommended Technique
Lean low over sink and place tip in mouth. Aim the tip toward gumline, and turn the unit ON (I).
For best results, start with the back teeth and work toward the front teeth. Glide tip along gumline and pause briefly between teeth. Continue until you have cleaned the inside and outside of both the upper and lower teeth.
Direct the jet stream at a 90-degree angle to your gumline. Slightly close lips to avoid splashing but allow water to flow freely from mouth into the sink. Keep unit upright during use for best results.


When Finished
Turn the unit off. Empty any liquid left in the reservoir.
If desired, the reservoir may be removed from the power handle by sliding the reservoir release latch to the unlock position(1) and then sliding the reservoir down towards the base of the unit(2).
NOTE: NOT ALL TIPS INCLUDED WITH ALL MODELS.
TIP USAGE

Pik Pocket™ Tip
The Pik Pocket™ tip is specifically designed to deliver water or anti-bacterial solutions deep into periodontal pockets.
To use the Pik Pocket™ tip, set the unit to the lowest pressure setting. Place the soft tip against a tooth at a 45-degree angle and gently place the tip under the gumline, into the pocket.

Tongue Cleaner Tip
Set to lowest pressure setting, place tip in the center/middle of your tongue about half way back. Pull forward with light pressure.

Orthodontic Tip
To use the orthodontic tip, gently glide tip along gumline, pausing briefly to lightly brush area between teeth and all around orthodontic bracket, before proceeding to the next tooth.

Toothbrush Tip
Place the toothbrush tip in mouth with the brush head on the tooth at the gumline. The toothbrush tip can be used with or without toothpaste. Using a light pressure (bristles should not bend) massage the brush back and forth with very short strokes – much like you would with a manual toothbrush.

Plaque Seeker™ Tip
To use the Plaque Seeker™ tip, place the tip close to the teeth so that the bristles are gently touching the teeth. Gently glide tip along gumline, pausing briefly between teeth to gently brush and allow the water to flow between the teeth.

Travel Plug
When traveling, place travel plug in unit to keep excess water from draining out.
NOTE: Do NOT run unit while travel plug is in unit.
CLEANING AND TROUBLESHOOTING YOUR WATERPIK® WATER FLOSSER

Using Mouthwash and Other Solutions
Your Waterpik® Water Flosser can be used to deliver mouthwash and antibacterial solutions. For ease of adding other solutions remove the reservoir (see “When Finished” section) and add from top opening on reservoir. If you are adding additional water you may replace the reservoir and fill reservoir fully with the fill door. After using any special solution, rinse unit to prevent clogging by partially filling reservoir with warm water and running unit with tip pointed into sink until unit is empty.

Cleaning
Never immerse unit in water. Before cleaning, unplug from the electrical outlet. Clean the product when necessary by using a soft cloth and mild non-abrasive cleanser to wipe exterior.
The water reservoir is removable for easy cleaning and is top rack dishwasher safe. It is recommended that the reservoir is removed and cleaned weekly.
Removing Hard Water Deposits / General Cleaning
Hard water deposits may build up in your unit, depending on the mineral content of your water. If left unattended, it can hinder performance. Cleaning internal parts: add 1 tablespoon of white vinegar to a full reservoir of warm water. Point the handle and tip into sink. Turn unit ON and run until reservoir is empty. Rinse by repeating with a full reservoir of clean warm water.
This process should be done every 1 to 3 months to ensure optimal performance.
Battery Care and Disposal
If the Water Flosser is to be stored for an extended period of time (six months or more), be sure to fully charge it prior to storage. The unit contains a Nickel Metal Hydride battery. At the end of the battery life, please recycle the unit at your nearest recycle center per local or state requirements. The battery is not replaceable.
BATTERY REMOVAL
Battery Removal
The product contains battery and/or recyclable electronic waste. In order to protect the environment, please do not dispose along with household waste. When battery life ends, please dispose or recycle according to local administrative regulations.
Please contact local waste administrative department for any questions.
If you tend to dispose the battery on your own, please discharge battery fully before removal and follow below steps to remove battery:
1. Remove Reservoir
2. Remove Tip Rotator by prying it up with a small flat-head screwdriver
3. Remove 4 small Phillips head screws
4. Remove decorative trim piece and jet tip latch mechanism
5. Remove 4 Phillips head screws
6. Remove rear handle housing
7. Cut the plastic housing as shown
8. Pull out the batteries and cut connecting wires


The removed battery should be disposed safely by special recycling center
WARNING: The battery of this product is not replacable. Please do not disassemble the product unless you want to dispose it. Otherwise the warranty will be void.
LIMITED TWO YEAR WARRANTY
Service Maintenance
Waterpik® Water Flossers have no consumer-serviceable electrical items and do not require routine service maintenance. For all your service needs go to www.waterpik.com. You may also call our toll-free customer service number at 1-800-525-2774. Refer to the serial and model numbers in all correspondence.
These numbers are located on the bottom of your unit.
Still have questions? Go to www.waterpik.com.
For questions or problems please call the customer service center before returning the product. Please do not send your unit to the Water Pik, Inc. address as this can cause lengthy delays. Refer to the serial and model numbers in all correspondence. These numbers are on the bottom of the unit behind the reservoir. Water Pik, Inc. warrants to the original consumer of this new product that it is free from defects in materials and workmanship for 2 years from the date of purchase. Consumer will be required to submit the original purchase receipt as proof of purchase date and if requested, the entire product, to support a warranty claim. Water Pik, Inc. will replace the product provided the product has not been abused, misused, altered or damaged after purchase, was used according to instructions, and was used only with accessories or consumable parts approved by Water Pik, Inc. This limited warranty excludes accessories or consumable parts such as tips, batteries, etc.
WATER PIK, INC. DISCLAIMS ALL OTHER EXPRESS OR IMPLIED WARRANTIES TO THE EXTENT PERMITTED BY LAW INCLUDING, BUT NOT LIMITED TO, ALL WARRANTIES OF MERCHANTABILITY AND FITNESS FOR A PARTICULAR PURPOSE. ALL IMPLIED WARRANTIES ARE LIMITED TO THE DURATION OF THIS LIMITED WARRANTY. SOME STATES OR PROVINCES MAY NOT ALLOW LIMITATIONS ON HOW LONG AN IMPLIED WARRANTY LASTS, SO THE ABOVE MAY NOT APPLY TO YOU.
FOR USA ONLY
Limitation of Liability
This warranty gives you specific legal rights. You may also have other rights that vary, depending on the law in your place of residence. This limited warranty is your sole remedy against Water Pik, Inc. and it shall not be liable for any damages, whether direct, indirect, incidental, special, consequential, exemplary or otherwise, including but not limited to property damage, arising out of any theory of recovery, including statutory, contract or tort.
Arbitration
BINDING ARBITRATION AND WAIVER OF RIGHT TO ASSERT MATTERS IN COURT AND RIGHT TO JURY TRIAL
By purchasing, installing, or using this product you agree that any controversy or claim arising out of or relating to your purchase, use, modification, installation, or removal of this product shall be settled by binding arbitration. The arbitrator’s decision will be final and binding. Judgment on the award rendered by the arbitrator may be entered in any court having jurisdiction over the matter.
Further, you agree that you will not have the right to litigate any claim arising out of or in relation to your purchase, use, modification, installation, or removal of this product in any court or to have a jury trial on that claim.
Arbitration of any matters shall be administered by the American Arbitration Association and conducted by one arbitrator in accordance with the consumer arbitration rules of the American Arbitration Association in effect at the time of fling of the demand. The venue for all such arbitrations shall be Colorado and any such arbitration shall be subject to the Federal Arbitration Act and Colorado law.
WAIVER OF RIGHT TO PARTICIPATE IN CLASS ACTIONS OR PURSUE CLAIMS IN A REPRESENTATIVE CAPACITY.
Further, by purchasing, installing, or using this product you agree that arbitration must be on an individual basis. This means neither you, nor we, may join or consolidate claims in arbitration by or against other purchasers or users of Water Pik, Inc. products or the general public. Additionally, you may not litigate in court or arbitrate any claims as a representative or member of a class or in a purported representative capacity on behalf of the general public, other purchasers or users of this product, other persons or entities similarly situated, or in a private attorney general capacity.
For Canada Only
This device complies with Industry Canada’s license-exempt RSSs. Operation is subject to the following two conditions: (1) This device may not cause interference; and (2) This device must accept any interference, including interference that may cause undesired operation of the device.


Water Pik, Inc., a subsidiary of /
est une filliale Church & Dwight Co., Inc.
1730 East Prospect Road
Fort Collins, CO 80553-0001 USA/É.-U.
1-800-525-2774
1-888-226-3042 (Canada)
www.waterpik.com
www.waterpik.ca
Designed in USA. Made in China.
Form No. 20026432-F AB
©2021 Water Pik, Inc.





















