GU10 Plafoniera Form S 1X Gu10 33w Max
User Manual
MADE IN ITALY
LUMICOM ® via Albere, 29/A
37138 Verona (VR) ItalyPLAFONIERA
FORM S 1x GU10 33W max
GU10 Plafoniera Form S 1X Gu10 33w Max
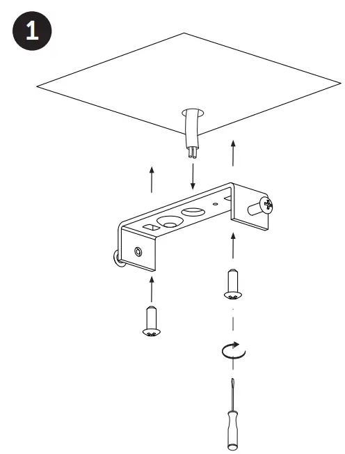
Fix the mounting bracket on the wall using the two screws supplied in the package, taking care to route the power cable through the central hole of the staffa.
Proceed to wire the lamp with the power cord through the special integrated clamp in the slot on the back of the body lamp. Pay attention to the correct positioning of Line, Earth and Neutral (as indicated in the image).
Complete the assembly by fixing the lamp at the sta a through two o’clock lives provided. At this point you can insert your GU10 bulb in the appropriate housing.
Safety instructions
Please read this instruction manual carefully and conserve it for reference for as long as you use this product.
This light is guaranteed to be safe provided that the instructions below are followed.
The manufacturer shall not be liable for any damage from incorrect assembly or use.
Power must be disconnected before assembly, maintenance, changing the bulb or cleaning.
Check that the electrical specifications of this light are compatible with your installation.
This light is designed solely for interior use, except damp rooms.
Care should be taken not to damage the cables during assembly. If the flexible external cable or the cord of this light are damaged, they must be replaced by the manufacturer, the manufacturer’s maintenance service or by equivalent qualified personnel, to avoid any risks.
Wait until the lamp has become completely cool before changing the bulb.
Do not exceed the maximum wattage for the light bulb as shown on the label.
| Indoor use only. | |
![]() | Grounding obligation |
![]() | Electrical and electronic equipment must be collected through a specific supply chain and must not be disposed of with household waste. Recycle the packaging at the appropriate collection points. |






















