MONESSEN AVFL48NIP 48 Artisan Vent Free Linear Fireplace

Parts Overview

| IMPORTANT: THIS IS DATED INFORMATION. Parts must be ordered from a dealer or distributor. Hearth and Home Technologies does not sell directly to consumers. Provide model number and serial number when requesting service parts from your dealer or distributor. | Stocked at Depot | |||
| ITEM | DESCRIPTION | COMMENTS | PART NUMBER | |
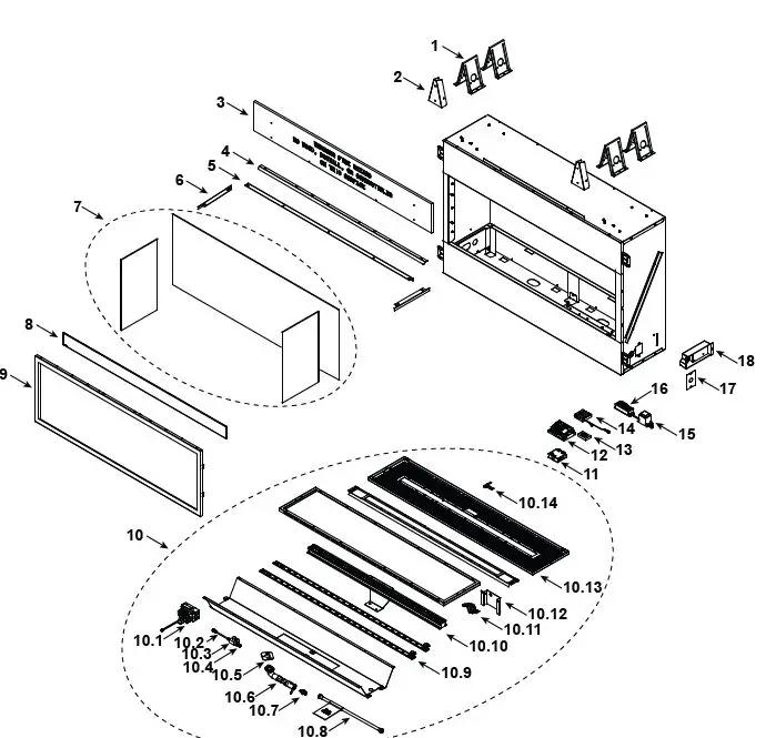
| 1 | Top Standoff | Qty 4 req | 11864I | |
| 2 | Bracket | Qty 2 req | SRV4099-198 | |
| 3 | Non-combustibe Board | SRV4099-325 | ||
| 4 | Hood | SRV4099-135 | ||
| 5 | Black Glass Bracket Back | SRV4099-195 | ||
| 6 | Black Glass Bracket Sides | Qty 2 req | SRV4099-196 | |
| 7 | Black Glass Assembly (Includes Back & 2 Sides | SRV4099-025 | Y | |
| 8 | Deflection Glass | SRV4111-301 | Y | |
| 9 | Frame & Screen Assembly | SRV4099-029 | Y | |
| Flex Line w/Shutoff | SRV69D0030 | Y | ||
| 10 | Complete Service Engine | NG | SRV4099-015 | |
| Propane | SRV4099-016 | |||
| 10.1 | Valve Assembly | NG | SRV4604-300 | Y |
| Propane | SRV4604-301 | Y | ||
| 10.2 | Tube, 3/16 Pilot | SRV20304115 | Y | |
| 10.3 | Pilot Regulator | SRV14D0469 | Y | |
| 10.4 | Fitting, 3/16 Tube x 1/8 NPT | Qty 2 req | SRV20H0109 | Y |
| 10.5 | Venturi Gasket | SRV45D0032 | Y | |
| 10.6 | Venturi Assembly | NG | SRV4099-034 | Y |
| Propane | SRV4099-033 | Y | ||
| 10.7 | Orifice Flare .120 (#31) NG | NG | SRV4018-345 | Y |
| Orifice Flare .076 (#48) Propane | Propane | SRV4018-349 | Y | |
| 10.8 | Flex Gas Line, 16 | SRV4121-006 | ||
| 10.9 | LED Light Strip | Qty 2 req | SRV4099-321 | Y |
| 10.10 | Burner Assembly | SRV4099-021 | Y | |
| 10.11 | Pilot Assembly | NG | SRV26D2529 | Y |
| Propane | SRV14D0476 | Y | ||
| 10.12 | Pilot Shield | SRV4099-141 | ||
| 10.13 | Screen Cover | SRV4099-109 | ||
| 10.14 | Pilot Carry Over | SRV4099-143 | ||
| 11 | Thermocouple Module | SRV4018-064 | Y | |
| Wiring Harness, Thermocouple Module | SRV20301890 | Y | ||
| 12 | Module, IPI 30 Black | 2166-338 | Y | |
| 13 | ODS Adapter Box | SRV4604-302 | Y | |
| Wiring Harness, ODS Box to Adapter Box | SRV4604-304 | Y | ||
| Wiring Harness, 8K-1 Adapter Box | SRV4604-305 | Y | ||
| Rocker Switch | SRV2206-299 | Y | ||
| Reset Switch Wire | SRV2326-135 | Y | ||
| IMPORTANT: THIS IS DATED INFORMATION. Parts must be ordered from a dealer or distributor. Hearth and Home Technologies does not sell directly to consumers. Provide model number and serial number when requesting service parts from your dealer or distributor. | Stocked at Depot | |||
| ITEM | DESCRIPTION | COMMENTS | PART NUMBER | |
| 14 | Battery Pack | SRV2166-323 | Y | |
| Transformer, 6 Volt Wall | SRV2326-131 | Y | ||
| Harness, IFT 6 Pin Wiring | SRV2326-132 | Y | ||
| 15 | LED Transformer | 20308559K | ||
| 16 | LED Control Module | SRV4121-160 | Y | |
| LED Adapter | Qty 2 req | SRV4018-114 | ||
| 17 | Cover Plate | SRV4604-103 | Y | |
| 18 | Junction Box | SRV4021-013 | Y | |
| Remote RC300-MON-VFL | SRV4018-149 | |||
19 IPI Wall Kit![]() | ||||
| 19 | IPI Wall Kit | SRV4099-023 | ||
| 19.1 | Thermostat Wire | SRV2118-170 | Y | |
| 19.2 | Outlet Box | SRV4021-117 | Y | |
| 19.3 | LED Panel Switch | Qty 2 req | 20308586K | |
| 19.4 | Wall Switch | 20304686K | ||
| 19.5 | Input Cable | 20308587K | ||
| 19.6 | Jumper Wire | SRV2187-198 | Y | |












![Solas Wall Mount Vent Free Gas Fireplaces User Manual [vf-16ng, Vf-16lp, Vf-26ng, Vf-26lp, Vf-46ng, Vf-46lp] Solas Wall Mount Vent Free Gas Fireplaces User Manual [vf-16ng, Vf-16lp, Vf-26ng, Vf-26lp, Vf-46ng, Vf-46lp]](https://static-data1.manualsee.com/1/img/101/67757/2021/02/Solas-Wall-Mount-Vent-Free-Gas-Fireplaces-User-Manual-VF-16NG-VF-16LP-VF-26NG-VF-26LP-VF-46NG-VF-46LP.jpg)






