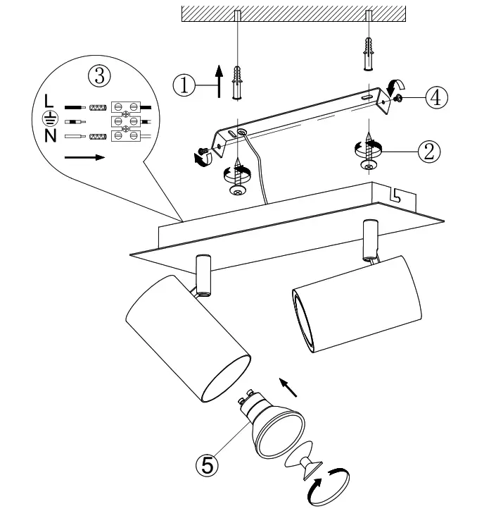
Beam Light Fitting
Installation Guide

GU10 802400301 Beam Light Fitting
WARNING!
Before assembling, please read carefully the safety instructions!

230V ~ 50Hz, 2x GU10/max. 35W

trio-Iighting.com
802400201
![]() | ![]() |
TRIO Leuchten Gmbh
Gut Nierhof 17
D-59757 Arnsberg
trio-Iighting.com
TRIO Leuchten GmbH
TRIO International GmbH/Gut Nierhof 17
D-59757 Arnsberg
www.trio-lighting.com
WEEE-Reg. Nr: DE78273666
TRIO Lighting Ibérica s.l: RAEE 4544
TRIO Lighting Italia s.r.l: RAEE IT13020000007829
TRIO Lighting Scandinavia Oy: WEEE PIR2005Y354114/2114![]()


















