EVTT1025 Refrigerator
User Manual
Safety and warning information
For your safety and correct usage before installing and first using the appliance, read this user manual carefully, including its hints and warnings. To avoid unnecessary mistakes and accidents, it is important to make sure that all people using the appliance are thoroughly familiar with its operation and safety features. Save these instructions and be sure that they remain with the appliance if it is moved or sold, so that anyone using it throughout its life, will be properly informed on its usage and safety notices.
For the safety of life and property, keep the precautions of these users’ instructions as the manufacturer is not, responsible for damages caused by omission.
Safety for children and others who are vulnerable people
- According to EN standard
This appliance can be used by children aged 8 years and above and persons with reduced physical, sensory or mental capabilities or lack of experience and knowledge if they have been given supervision or instruction concerning the use of the appliance in a safe way and understand the hazards involved. Children shall not play with the appliance.
Cleaning and user maintenance shall not be made by children without supervision. - According to IEC standard
This appliance is not intended for use by persons (including children) with reduced physical, sensory or mental capabilities, or lack of experience and knowledge unless they have been given supervision or instruction concerning the use of the appliance by a person responsible for their safety. - Keep all packaging away from children as there is a risk of suffocation.
- If you are discarding the appliance, pull the plug out of the socket, cut the connection cable (as close to the appliance as you can), and remove the door to prevent children playing from suffering an electric shock or from closing themselves inside it.
- If this appliance, featuring magnetic door seals, is to replace an older appliance having a spring lock (latch) on the door or lid, be sure to make the spring lock unusable before you discard the old appliance. This will prevent it from becoming a death trap for a child.
General safety

- WARNING —This appliance is intended to be used in households and similar applications such as
-staff kitchen areas in shops, offices, and other working environments;
-farmhouses and by clients in hotels, motels, and other residential type environments;
-bed and breakfast type environments;
-catering and similar non-retail applications. - WARNING — Do not store explosive substances such as aerosol cans with a flammable propellant in this appliance.
- WARNING — If the supply cord is damaged, it must be replaced by the manufacturer, its service agent or similarly qualified persons in order to avoid a hazard.
- WARNING — Keep ventilation openings, in the appliance enclosure or in the built-in structure, clear of obstruction.
- WARNING — Do not use mechanical devices or other means to accelerate the defrosting process, other than those recommended by the manufacturer.
- WARNING — Do not damage the refrigerant circuit.
- WARNING — Do not use electrical appliances inside the food storage compartments of the appliance, unless they are of the type recommended by the manufacturer.
- WARNING — The refrigerant and insulation blowing gas are flammable. When disposing of the appliance, do so only at an authorized waste disposal center. Do not expose to flame.
- WARNING —When positioning the appliance, ensure the supply cord is not trapped or damaged.
- WARNING —Do not locate multiple portable socket outlets or portable power supplies at the rear of the appliance.
Replacing the illuminating lamps
WARNING—The illuminating lamps must not be replaced by the user! If the illuminating lamps is damaged, contact the customer helpline for assistance.
This warning is only for refrigerators that contain illuminating lamps.
Refrigerant
The refrigerant isobutene (R600a) is contained within the refrigerant circuit of the appliance, a natural gas with a high level of environmental compatibility, which is nevertheless flammable. During transportation and installation of the appliance, ensure that none of the components of the refrigerant circuit becomes damaged.
The refrigerant (R600a) is flammable.
WARNING — Refrigerators contain refrigerant and gases in the insulation. Refrigerant and gases must be disposed of professionally as they may cause eye injuries or ignition. Ensure that tubing of the refrigerant circuit is no damaged prior to proper disposal.
WARNING Risk of fire / flammable materials:
If the refrigerant circuit should be damaged:
- Avoid opening flames and sources of ignition.
- Thoroughly ventilate the room in which the appliance is situated.
It is dangerous to alter the specifications or modify this product in any way.
Any damage to the cord may cause a short circuit, fire, and/or electric shock.
Electrical safety
- The power cord must not be lengthened.
- Make sure that the power plug is not crushed or damaged.
A crushed or damaged power plug may overheat and cause a fire. - Make sure that you can access the main plug of the appliance.
- Do not pull the main cable.
- If the power plug socket is loose, do not insert the power plug. There is a risk of electric shock or fire.
- You must not operate the appliance without the interior lighting lamp cover.
- The fridge is only applied with a power supply of a single-phase alternating current of 220~240V/50Hz. If fluctuation of voltage in the district of the user is so large that the voltage exceeds the above scope, for safety sake, be sure to apply an A.C. Automatic voltage regulator of more than 350W to the fridge. The fridge must employ a special power socket instead of a common one with other electric appliances. Its plug must match the socket with ground wire.
Daily use
- Do not store flammable gases or liquids in the appliance, there is a risk of an explosion.
- Do not operate any electrical appliances in the appliance (e.g.electric ice cream makers, mixers, etc.).
- When unplugging always pull the plug from the mains socket, do not pull on the cable.
- Do not place hot items near the plastic components of this appliance.
- Do not place food products directly against the air outlet on the rear wall.
- Store pre-packed frozen food in accordance with the frozen food manufacturer’s instructions.
- The appliances manufacturer storage recommendations should be strictly adhered to. Refer to relevant instructions for storage.
- Do not place carbonated or fizzy drinks in the freezer compartment as it creates pressure on the container,which may cause it to explode, resulting in damage to the appliance.
- Frozen food can cause frost burns if consumed straight from the freezer compartment.
- Do not place the appliance in direct sunlight.
- Keep burning candles, lamps, and other items with naked flames away from the appliance so that do not set the appliance on fire.
- The appliance is intended for keeping foodstuff and/or beverages in normal households as explained in this instruction booklet The appliance is heavy. Care should be taken when moving it.
- Do not remove nor touch items from the freezer compartment if your hands are damp/wet, as this could cause skin abrasions or frost/freezer burns.
- Never use the base, drawers, doors, etc. to stand on or as supports.
- Frozen food must not be refrozen once it has been thawed out.
- Do not consume ice popsicles or ice cubes straight from the freezer as this can cause freezer burn to the mouth and lips.
- To avoid items falling and causing injury or damage to the appliance, do not overload the door racks or put too much food in the crisper drawers.
caution!
Care and cleaning
- Before maintenance, switch off the appliance and disconnect the mains plug from the mains socket.
- Do not clean the appliance with metal objects, steam cleaner, ethereal oils, organic solvents or abrasive cleansers.
- Do not use sharp objects to remove frost from the appliance. Use a plastic scraper.
Installation Important!
- For electrical connection carefully, follow the instructions given in this manual.
- Unpack the appliance and check if there is damage to it.
- Do not connect the appliance if it is damaged. Report possible damages immediately to the place you bought it. In this case retain packing.
- It is advisable to wait at least four hours before connecting the appliance to allow the oil to flow back in the compressor.
- Adequate air circulation should be around the appliance, lacking this leads to overheating. To achieve sufficient ventilation, follow the instructions relevant to installation.
- Wherever possible the back of the product should not be too close to a wall to avoid touching or catching warm parts (compressor, condenser) to prevent the risk of a fire, follow the instructions relevant to installation.
- The appliance must not be located close to radiators or cookers.
- Make sure that the mains plug is accessible after the installation of the appliance.
Service
- Any electrical work required to do the servicing of the appliance should be carried out by a qualified electrician or competent person.
- This product must be serviced by an Authorized Service Center, and only genuine spare parts must be used.
1. If the appliance is Frost Free.
2. If the appliance contains a freezer compartment.
Note: Children aged from 3 to 8 years are allowed to load and unload refrigerating appliances.(This clause applies only to the EU region.)
Description of the appliance

View of the appliance
| 1. Freezer chamber | 7. Lower door rack |
| 2. Ice tray(in Freezer chamber ) | 8. Adjustable feet |
| 3. Egg tray | 9. Bulb & temperature regulator |
| 4. Storage shelf | 10. Upper door rack |
| 5. Crisper cover | 11. Door |
| 6. Crisper | 12. Door handle(some models have ) |
Note: Due to continual modification of our products, your refrigerator may be slightly different from this instruction Manual, but its functions and usage methods remain the same.
Note: To get the best energy efficiency of this product, please place all shelves, drawers in their original position as in the illustration above.
Control panel
Starting up and temperature regulation Insert the plug of the connection lead into the plug socket with a protective grounding contact. When the refrigerator compartment door is opened, the internal lighting is switched on.
The temperature selector knob is located on the left side of the refrigerator compartment. Setting “0” means off.
Turning in a clockwise direction the refrigeration unit turns on, it will then operate automatically.
Setting “1” means Highest temperature, warmest setting. Setting “7” (end-stop) means the Lowest temperature, the coldest setting.
Important! For optimum food preservation, we advise you to select a setting of 3 or 4; if you want the temperature higher or lower, please turn the knob to a warmer or colder setting accordingly. When you turn the knob to a colder setting, this can lead to more energy efficiency.
Otherwise, it would result in the consumption of energy.
Important! High ambient temperatures (e.g. on hot summer days) and a cold setting (position 6 to 7) may cause the compressor to run continuously or even non-stop!
Reason: When the ambient temperature is high, the compressor must run continuously to maintain the low temperature in the appliance.
NOTE: High-temperature setting will accelerate food waste.
Changing the light bulb
Warning!
Before changing the light bulb, switch off the appliance and unplug it, or pull the fuse or the circuit breaker.
If the light bulb can’t work, please contact your specialist dealer or your local Customer Service Center to change it.
First use an installation
Cleaning before use
- Before using the appliance for the first time, wash the interior and all internal accessories with lukewarm water and neutral soap in order to remove the typical smell of a brand new product, then dry thoroughly.
Installation Positioning
Warning! Before installing, read the instruction carefully for your safety and the correct operation of the appliance.
Position the appliance away from sources of heat such as stoves, radiators, direct sunlight, etc.
Maximum performance and safety are guaranteed by maintaining the correct indoor temperature for the class of unit concerned, as specified on the rating plate.
This appliance performs well from N to ST.
The appliance may not work properly if it is left for a longer period at a temperature above or below the indicated range.
| Climate class | Ambient temperature |
| SN | +10°C to +32°C |
| N | +16°C to +32°C |
| ST | +16°C to +38°C |
| T | +16°C to +43°C |
Important! It is necessary to have good ventilation around the fridge to allow for the dissipation of heat, high efficiency and low sufficiently cleared space should be available around the fridge. It is advisable for there to be 50-70mm separating the back of the fridge to the wall at least 100mm of space on its two sides, a height of over 100mm from its top, and clear space in front to allow the doors to open 160°.

- Appliances must not be exposed to rain.
Sufficient air must be allowed to circulate in the low rear section of the appliance, as poor air circulation can affect performance.
Built-in appliances should be positioned away from heat sources such as heaters and direct sunlight.
Installing the rubber supporting
screw provided in a plastic bag with your appliance, you can install these accessories according to the following procedure.
Note:
There is no need to install these accessories under normal usage.
Only under the extreme circumstances, cabinet empty while loading on the door with a total mass of 15 kg and opening the door about 90 degrees, this refrigerator may take risk of tipping. Then rubber supporting pad should be fastened to the lower base cover to steady this appliance.
- Tilt appliance to find screw hole on the left of the lower base cover.

- Put a screw into the hole of the rubber supporting pad.

- Make screw in alignment with the hole on the lower base cover. Fasten rubber supporting pad to the base cover firmly by a cross screw driver (self-provided).

Leveling
- The appliance should be level in order to eliminate vibration. To make the appliance level, it should be upright and both adjusters should be in stable contact with the floor. You can also adjust the level by unscrewing the appropriate level adjustment in the front (use your fingers or a suitable spanner).
Electrical connection
Caution! Any electrical work required to install this appliance should be carried out by qualified or authorized personnel.
Warning! This appliance must be grounded.
The manufacturer declines any liability should these safety measures not be observed.
- This refrigerating appliance is not intended to be used as a built-in appliance.
Daily use
Accessories 1)
Movable shelves/trays
- Various glass, plastic storage shelves, or wire trays are included with your appliance different models have different combinations and different models have different features.
The walls of the refrigerator are equipped with a series of runners so that the shelves can be positioned as desired.
Remove door rack
Hold the left side of the door rack, inward press the other side, and lift this side until it separated from the liner.
Then you can take out the door rack from the liner.
Installation door rack
First, install the left of the door rack.
Second, inward-press the other side and downward-press this side until installation it.
Crisper
For storing fruit and vegetables.
Ice tray
For making ice and storing ice-cubes.
Refrigerator compartment 2)
For storing the food that does not need to be frozen and different sections suitable for different kinds of food.
Freezer food compartment 2)
For freezing fresh food and storing frozen and deep-frozen food for a long time.
Thawing food 2)
- In the refrigerator compartment.
At room temperature.
In a microwave oven.
In a conventional or convection oven.
Food once thawed should be refrozen with the exception of special cases.
1) If the appliance contains related accessories and functions.
2) If the appliance contains a freezer compartment.
Helpful hints and tips
Noises during operation
Clicks – Whenever the compressor switches on or off, a click can be heard.
Humming – As soon as the compressor is in operation, you can hear it humming.
Bubbling – When refrigerant flows into thin tubes, you can hear bubbling or splashing noises.
Splashing – Even after the compressor has been switched off, this noise can be heard for a short time.
Energy-saving tips
- Do not install the appliance near stoves, radiators, or other sources of warmth.
- Keep the time the appliance is open to a minimum.
- Do not set the temperature colder than necessary.
- Make sure the side plates and backplate of the appliance are at some distance from the wall, and follow the instructions relevant to installation.
- If the diagram shows the correct combination for the drawers, crisper, and shelves, do not adjust the combination as it would produce an effect on energy consumption.
Hints for fresh food refrigeration
- Do not store warm foods or evaporating liquids in the appliance.
- Do cover or wrap the food, particularly if it has a strong flavor or odor.
- Position food so that air can circulate freely around it.
Hints for refrigeration
- Meat (all types): wrap in polyethylene (plastic) bags and place on the glass shelf above in this way only on or two days at the most.
- Cooked foods, cold dishes, etc…: these should be covered and may be placed on any shelf.
- Fruit and vegetables: these should be thoroughly cleaned and placed in the special drawer provided.
- Butter and cheese: these should be placed in aluminum foil or polyethylene (plastic) bags while removing as much air as possible.
- Milk bottles: these should have a cap and should be stored in the bottle rack on the door.b
Hints for freezing
- When first starting up or after a period out of use. Before putting the food in the compartment, let the appliance run for at least 2 hours on the higher settings.
- Prepare food in small portions to enable it to be rapidly and completely frozen and to make it possible to subsequently thaw only the quantity required.
- ‘Wrap up the food in aluminum foil or polyethylene (plastic) and make sure that the packages are airtight.
- Do not allow fresh, unfrozen food to touch food that is already frozen, thus avoiding a rise in the temperature of the latter.
- Iced products, if consumed immediately after removal from the freezer compartment can possibly cause the skin to become freezer burnt.
- It is recommended to label and date each frozen package in order to keep track of the storage time.
Hints for the storage of frozen food
- Make sure that commercially frozen food was stored by the retailer.
- Once defrosted, foods deteriorate rapidly and can not be re-frozen.
- Do not exceed the storage period indicated by the food manufacturer.
Note: If the appliance contains related accessories and functions.
Cleaning and care
Cleaning and care
For hygienic reasons, the appliance interior, including interior accessories, should be cleaned regularly.
The appliance should be cleaned and maintained at least every two months.
Warning! The danger of electrical shock!
- The appliance should not be connected to the main power supply during cleaning. Before cleaning, switch the appliance off and remove the plug from the main power supply, switch off, or shut off the circuit breaker of fuse.
Notice!
- Remove the food from the appliance before cleaning. Store them in a cool place and keep well covered.
- Never clean the appliance with a steam cleaner. Moisture could accumulate in electrical components.
- Hot vapors can lead to the damage of plastic parts.
- Ethereal oils and organic solvents can attack plastic parts, e.g. lemon juice or the juice from an orange peel, butyric acid, or cleansers that contain acetic acid.
- Do not use any abrasive cleansers.
- Clean the appliance and the interior accessories with a cloth and lukewarm water.
- Commercially available dishwashing detergents may also be used.
- After cleaning, wipe with fresh water and a clean dishcloth.
- Accumulation of dust at the condenser increases energy consumption; clean the condenser at the back of the appliance once a year with a soft brush or a vacuum cleaner.(Only for the outside-condenser product)
- Check the water drain hole on the rear wall of the refrigerator compartment.
- Clear a blocked drain hole with the aid of something like a soft green peg, and be careful not to create any damage to the cabinet by sharp objects.
- After everything is dry, the appliance is back into service.
Defrosting
Defrosting in the fresh food storage compartment
- Water from the defrosting option will automatically be drained into a drip tray through a drain pipe at the back of the appliance.
- Defrosting in the frozen food storage compartment
- Defrosting in the freezer chamber is operated manually. Before defrosting, take the foot out.
- Tale the ice tray and drawers out or put them into the fresh food compartment temporarily.
- Set the knob of the temperature regulator to the “0” (where the compressor will stop working) and leave the door of the refrigerator open until ice and frost dissolve thoroughly and accumulate at the bottom of the freezer chamber. Wipe out the water with soft cloth.
- In order to speed up the process of defrosting, you may put a bowl of warm water (about 50℃) into the freezer chamber and scrape away the ice and frost with a defrosting spatula. After doing so, be sure to set the knob of the temperature regulator to the original position.
- It is not advisable to heat the freezer chamber directly with hot water or hair dryer while defrosting to avoid deformation of the inner case.
- It is also not advisable to scrape off ice and frost or separate foods from the containers which have been congealed together with the food with sharp tools or wooden bars, so as not to damage the inner casing or the surface of the evaporator.
Notice! The appliance should be defrosted at least once a month. During its usage, if the door has been used in extreme humidity, we advise the user to defrost every two weeks.
Warning! To switch off the appliance before defrosting, turn the temperature regulator to the “0” position.
Taking the appliance out of service
- Empty the appliance
- Pull out the power plug
- Clean thoroughly (see section: Cleaning and Care).
- Leave the door open to prevent odors
What to do if…
Warning! Before troubleshooting,
disconnect the power supply. Only a qualified electrician or other personnel must carry out the troubleshooting that is not in the manual. performed by competent service engineers. Improper repairs can give rise to significant hazards for the user. If your appliance needs repairing, please contact your specialist dealer or your local Customer Service Center.
Important!
Repairs to the appliance may only be
| Problem | possible cause | Solution |
| The appliance does not work. | The appliance is not switched on. | Switch on the appliance. |
| The mains plug is not plugged in or is loose. | Plug the appliance into the electrical socket. | |
| The fuse has blown or is defective. | Check fuse, replace if necessary. | |
| The outlet is defective. | Defective parts need to be repaired by an electrician. | |
| Appliance cools too much. | The temperature is set too cold. | Turn the temperature regulator to a warmer setting temporarily. |
| The food is too warm. | Temperature is not properly adjusted. | Please refer to the “Starting up and temperature regulation” section. |
| The door was open for an extended period. | Open the door only as long as necessary. | |
| A large quantity of warm food was placed in the appliance within the last 24 hours. | Turn the temperature regulator to a warmer setting temporarily. | |
| The appliance is near a heat source. | Please refer to the “Installation positioning” section. | |
| Interior lighting does not work. | The light bulb is defective. | Please look in the “Changing the Light Bulb” section. |
| A heavy build-up of frost, possibly also on the door seal. | The door seal is not air-tight (possibly after reversing the door). | Carefully warm the leaking sections of the door seal with a hairdryer (on a cool setting). At the same time, shape the warmed door seal by hand so that it sits correctly. |
| Unusual noises. | The appliance is not level. | Readjust the feet. |
| The appliance is touching the wall or other objects. | Move the appliance slightly. | |
| A component, e.g. a pipe, on the rear of the appliance is touching another part of the appliance or the wall. | If necessary, carefully bend the component out of the way. | |
| The compressor dose does not start immediately after changing the temperature setting. | This is normal, no error has occurred. | The compressor starts after a period of time. |
| Water on the floor or storage shelves. | The water drain hole is blocked. | Refer to the “Cleaning and Care” section. |
Reversing the door
The side in which the door opens can be changed from the right side (as supplied) to the left side if the installation site allows for it. Tools you will need:
Before you begin, place the fridge on its back in order to gain access to the base, you should rest it on soft foam packaging or similar material to avoid damaging the cooling popes at the rear of the fridge.
Reverse the door
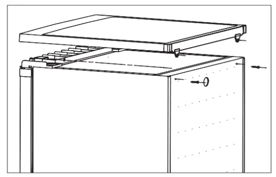
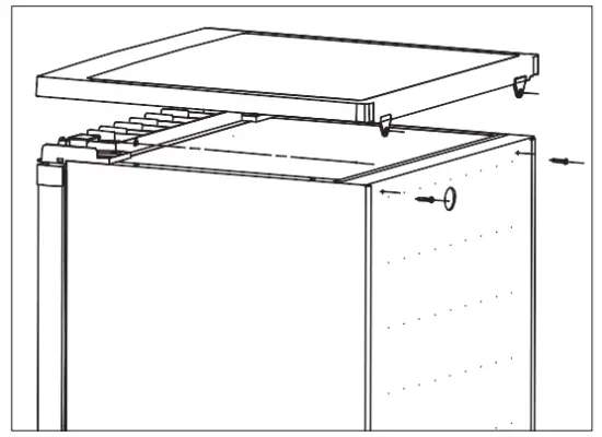
- stand the fridge, remove the two screws on the back of the top cover, then lift the top cover and place it on a padded surface to prevent scratching.

- Remove the four screws as following the diagram. Lift the upper hinge core, then put it in a safe place.

- Lift the door and place it on a padded surface to prevent scratching. Remove both adjustable feet and remove the bottom hinge bracket by unscrewing the bolts. Then transfer them to another side.
Note: 1. You need to move hinge axis from hole ① to ② before transfer.
2. You need to install the rubber supporting on the side which hasn’t a hinge.
- Set the door into its new place making sure the pin enters the bushing at the lower frame section. Replace the lid by fitting the upper hinge core into the upper door’s hole, securing it with the 2 screws. Replace another 2 screws to another side.

- Put the top cover in the freezer. Tighten the 2 screws on the back of the top cover.

Changing over the freezer compartment door
- Keep the freezer compartment door closed. Using a screwdriver, remove the mounting screw for the installation button, and take the installation button down.

- Open the freezer compartment door a little way. Pull down the freezer compartment door and the cap which covers the up door bearing(1).

- Using a screwdriver, take down the installation buckle, and then fix it in the opposite side.


- Turn the freezer compartment door through 180°, cover the cap on the up door bearing, then fit the door into the up door axle hole.

- Keep the freezer compartment door closed. Fix the installation button to the lower door bearing, Press the installation button to make it have no gap with the cavity, then fix the screw.

Warning!
- When changing the side at which the door opens, the appliance must not be connected to the mains. Remove plug from the mains beforehand.
- Please use the screw hole covers to decorate the screw holes in the original installation position. The screw hole covers can be found in the plastic packet.
Installing the door handle
If there is door handle separately provided in a plastic bag with your appliance, you can install it as follows.
- Remove the screw on the door. Keep or install the screw covers on the side which have hinges.

- Match the handle hole to the door , then fix the screw which you removed from the door to make the handle fixed firmly on the door.

Disposal of the appliance
It is prohibited to dispose of this appliance in domestic household waste.
Packaging materials
Packaging materials with the recycle symbol are recyclable. Dispose of the packaging in a
suitable waste collection container to recycle it.
Before disposal of the appliance.
- disconnect the main plug from the main socket.
- Cut off the main cable and discard it.
Correct Disposal of this product
This marking indicates that this product should not be disposed of with other household wastes throughout the EU. To prevent possible harm to the environment or human health from uncontrolled waste disposal, recycle it responsibly to promote the sustainable reuse of material resources. To return your used device, please use the return and collection systems or contact the retailer where the product was purchased. They can take this product for environmentally safe recycling.
To avoid contamination of food, please respect the following instructions
- Opening the door for long periods can cause a significant increase in the temperature in the compartments of the appliance.
- Clean regular surfaces that can come in contact with food and accessible drainage systems.
- Store raw meat and fish in suitable containers in the refrigerator, so that it is not in contact with or drip onto other food.
- Two-star frozen-food compartments are suitable for storing pre-frozen food, storing or making ice cream, and making ice cubes.
- One-, two- and three-star compartments are not suitable for the freezing of fresh food.
| Order | Compartments TYPE | large storage temp.(t) | Appropriate food |
| 1 | Fridge | +2-+8 | Eggs, cooked food, packaged food, fruits and vegetables, dairy products, cakes, Drinks and other foods which are not suitable for freezing. |
| 2 | (“T-Freezer | ≤-18 | Seafood (fish, shrimp, shellfish), freshwater aquatic products and meat products (recommended time is 3 months – nutrition values and taste decrease with time), suitable for frozen fresh food. |
| 3 | •”-Freezer | ≤-18 | Seafood (fish, shrimp, shellfish), freshwater aquatic products and meat products (recommended time is 3 months – nutrition values and taste decrease with time). Not suitable for freeing fresh food. |
| 4 | “-Freezer | ≤-12 | Seafood (fish, shrimp, shellfish), freshwater aquatic products and meat products (recommended time is 2 months – nutrition values and taste decrease with time). Not suitable for freeing fresh food. |
| 5 | ‘-Freezer | ≤-6 | Seafood (fish, shrimp, shellfish), freshwater aquatic products and meat products (recommended time is 1 month-nutrition values and taste decrease with time). Not suitable for freeing fresh food. |
| 6 | 0-star | -6 ~0 | Fresh pork, beef, fish, chicken, some packaged processed foods, etc. (Recommended to eat within the same day, preferably not later than 3 days) . Partially packed/wrapped up encapsulated processed foods (non-freezable foods) |
| 7 | Chill | -2-+3 | Fresh/frozen pork, beef, chicken, freshwater aquatic products, etc.(7 days below 0 t and above 0t is recommended for consumption within that day, preferably no more than 2 days) Seafood (less than 0°C for 15 days, it is not recommended to store above 0 t) |
| 8 | Fresh Food | 0~+4 | Fresh pork, beef, fish, chicken, cooked food, etc. (Recommended to eat within the same day, preferably no more than 3 days) |
| 9 | Wine | +5~+20 | red wine,white wine,sparkling wine etc. |
Note: please store different foods according to the compartments or target storage temperature of your purchased products.
- If the refrigerating appliance is left empty for long periods, switch off, defrost, clean, dry, and leave the door open to prevent mould developing within the appliance.
Water dispenser cleaning (special for water dispenser products):
- Clean water tanks if they have not been used for 48 h; flush the water system connected to a water supply if water has not been drawn for 5 days.
WARNING! Food needs to be packed in bags before putting into the refrigerator, and liquids need to be packed in bottles or capped containers to avoid the problem that the product design structure is not easy to clean.
Warranty Conditions
- The products of Everglades come with a 24-month full factory guarantee from the moment of purchase. This guarantee cannot be transferred under any circumstances.
- A guarantee is not offered on easy-to-break components like glass, plastic, rubbers, light bulbs, etc. A guarantee is also not offered if the device has been in contact with chemical and/or electro chemical or other unsuitable substances. It is also not possible to offer a guarantee if shortcomings in the device can be attributed to transport damage that is no fault of our own, improper installation and assembly, incorrect use, inappropriate use, substandard maintenance, failure to comply with operating and assembly instructions or normal wear and tear. Claims under the guarantee will expire if repairs or modifications to the device are carried out by people other than our service department, and also if the device is fitted with components or accessories that are not original, which subsequently result in a defect.
- The guarantee is offered under the condition that defect components will be repaired as we see fit or will be replaced by suitable components. Devices that can be transported normally (e.g. in a car) must be returned to the point of sale so that they can be serviced. Devices that cannot be transported normally will be repaired on-site. Valid proof of purchase must always be presented when repairs are carried out under the guarantee. Replaced components will become our property.
- If a complaint is deemed unfounded, all incurred costs will be charged to the consumer
- Repairs during the guarantee period will not result in the guarantee period being extended.
- Additional or other claims, particularly compensation claims for damage incurred outside the device, are excluded unless such liability has been prescribed by law.
- Furthermore, in accordance with legal provisions, we bear unlimited liability for damage that falls under product liability laws and for all damage caused by deliberate contractual breaches, gross negligence and malice on our part or the part of our legal representatives or persons we have appointed.
Service number for the Netherlands : 0900-0404040
Service number for Belgium: 0032-(0)38080919
www.everglades.nl


































