Smartphone Adapter DX Kit
#81037 ENGLISH
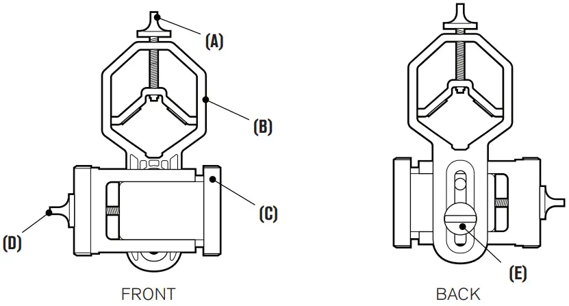
USING YOUR SMARTPHONE ADAPTER
Instruction Manual
81037 Smartphone Adapter DX Kit
- Before attaching the adapter, look through your optic (telescope, spotting scope, binocular, etc.) and make sure that the view is in sharp focus.
- Open the eyepiece clamp (B) by loosening the eyepiece clamp knob (A) at the top of the eyepiece clamp.
- Place the eyepiece clamp over the eyepiece of your optic. Tighten the eyepiece clamp knob to secure the eyepiece clamp tightly against the eyepiece.
NOTE: Make sure to mount the clamp on a section of the eyepiece barrel that does not rotate freely, such as an eye relief adjuster. - Loosen the holder clamp knob (D) until the holder clamp (C) is open wide enough to accommodate the width of your phone. Once the phone is in place, tighten the holder clamp knob until the phone is secured.
NOTE: This adapter can be used with most phone cases, but the case surface MUST be flat so it will fit in the holder correctly. Any grips, stands, rings, or raised surfaces on the case will impede the placement of the phone. All folio-style phone cases must be removed. - Launch the camera app on your phone. Loosen the holder alignment knob (E) and adjust the positioning of your phone camera so that it lines up with the eyepiece of your optic.
- Once the camera is over the eyepiece and your camera is capturing the view through the eyepiece, carefully tighten the holder alignment knob to secure your phone in position.
- If needed, adjust the focus on your optic again for the sharpest possible view.
- You are now ready to take images and videos using your smartphone camera!


- To insert or replace the battery, place your thumb in the center of the back cover, pressing inward and sliding downward remove the battery door. The CR2032 battery should be inserted with the positive (+) side facing upward. Replace the cover.
- Press and hold the button on the remote for 5 seconds. A blue light will turn on and, after a few seconds, start to blink. The remote is now in pairing mode.
- Using the Bluetooth settings on your phone, pair the device called “GBshutter”.
- Open your camera app. Press the button on the remote to trigger the shutter on your phone.
- If your camera is in video mode, you can press the button once to start recording and again to stop the recording.
BATTERY WARNING
KEEP OUT OF REACH OF CHILDREN Swallowing can lead to chemical burns, perforation of soft tissue, and death. Severe burns can occur within 2 hours of ingestion. Seek medical attention immediately.
SAFETY INSTRUCTIONS
- Risk of explosion if battery is replaced by an incorrect type.
- The included battery is not rechargeable.
- Please use the battery in its original purpose to avoid causing the battery to short circuit. When the conductive material is connected directly to the battery positive and negative will cause a short circuit.
- Do not use a damaged battery.
- Keeping the battery in an extremely cold or very hot location can result in shortened battery life.
- When replacing the battery, please refer to the instruction manual and pay attention to the positive and negative direction of battery.
- Do not put the battery in the fire. Dispose of the battery according to local regulations.
FCC IDENTIFIER: 2A2FG-93974
NOTE: FCC certification is for the Bluetooth Remote Control included with this product. Model # 93974
This device complies with Part 15 of the FCC Rules. Operation is subject to the following two conditions:
(1) This device may not cause harmful interference, and (2) this device must accept any interference received, including interference that may cause undesired operation.
CAUTION: Changes or modifications not expressly approved by the party responsible for compliance could void the user’s authority to operate the equipment.
NOTE: This equipment has been tested and found to comply with the limits for a Class B digital device, pursuant to part 15 of the FCC Rules. These limits are designed to provide reasonable protection against harmful interference in a residential installation.
This equipment generates, uses and can radiate radio frequency energy and, if not installed and used in accordance with the instructions, may cause harmful interference to radio communications. However, there is no guarantee that interference will not occur in a particular installation.
If this equipment does cause harmful interference to radio or television reception, which can be determined by turning the equipment off and on, the user is encouraged to try to correct the interference by one or more of the following measures:
- Reorient or relocate the receiving antenna.
- Increase the separation between the equipment and receiver.
- Connect the equipment into an outlet on a circuit different from that to which the receiver is connected.
- Consult the dealer or an experienced radio/TV technician for help.
Product design and specifications are subject to change without prior notification. This product is designed and intended for use by those 14 years of age and older.
©2022 Celestron. • Celestron and Symbol are trademarks of Celestron, LLC.
All rights reserved. • Celestron.com • 2835 Columbia Street, Torrance, CA 90503 USA
celestron.com/pages/technical-support
(Products or instructions may change without notice or obligation.)
Designed and intended for those 14 years of age and older.![]()





















