ITC Horizontal Phone Pocket

INSTALLATION INSTRUCTIONS
PARTS / TOOLS NEEDED

Safety/Installation Considerations
- Disconnect power before installing, adding or changing any component.
- To avoid a hazard to children, account for all parts and destroy all packing materials.
- Electrical Specs: Input voltage: 10-30V DC| Input current: 3.4A Charging Capacity: Wireless only: 10W | Wireless + USB-A: 10W + 12W | Wireless + USB-C: 10W + 18W
- Positive (+) outputs require a fuse if the attached wire leads are not rated to handle the max current.
- The charger has been designed to work with Qi compatible devices.
- The charger has been designed to charge and operate within the receiving device’s thermal parameters. Low or high temperatures might cause the receiving device to change their charging behavior to regulate its temperature and preserve battery life. Typical temperature ranges are 0ºC to 35ºC (32ºF to 95ºF). When exceeding these operating temperatures, the phone and/or the charging device may temporarily stop charging to protect from overheating.
- The wireless charging module has been designed to be optimized with no case installed. If a thick phone case is added to the distance between the charger surface and the phone, it may cause the device to not charge or to temporarily shut down to protect from over-heating.
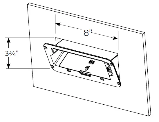
- Determine your installation location, ensuring there is at least 5” of space behind. Cut a 8” x 3¾” hole.

- Wire the phone pocket using the wiring diagram.

- Install the pocket by sliding the bottom in first, making sure to clear the charger on the bottom of the pocket. Screw in place using the screws provided. Do not over torque screws.

- Snap the bezel onto the housing.

3030 Corporate Grove Dr. Hudsonville, MI 49426
- Phone: 616.396.1355
- itc-us.com
warranty
For warranty information please visit www.itc-us.com/warranty-return-policy DOC #: 710-00209
- Rev A
- 01/26/22























