nke WATTECO 50-70-124 Toran’O Atex zone 1 Puls Counting Sensor

Recommendations for use
The use of accessories:
Installation, maintenance, and use must only be carried out by personnel who are competent in the use of electrical equipment in explosive atmospheres as defined in EN 60079-14. Any repair or modification is strictly prohibited without the written permission of Nke Watteco. Risk of electrostatic discharge: The user must implement any action to control the risks of electrostatic discharge, especially by cleaning the product only with a damp cloth.
USE ONLY SAFT-TYPE LS17500 BATTERIES.
Only the use of accessories in accordance with the intrinsic safety parameters is permitted.
Start

Provision the device on your LoRaWAN network with the keys available on the secure platform.
ON
OFF

https://www.watteco.fr/assistance/tutoriels-video/
Connectiques Connectors
| Connecteur A : 4 points Connector A: 4 points | Connecteur B : Rondelle rouge : 6 points Connector B: Red circle: 6 points | Connecteur C : 6 points Connector C: 6 points | ||||
| Connecteur Connector | Paramètres SI IS parameters | Connecteur Connector | Paramètres SI IS parameters | Connecteur Connector | Paramètres SI IS parameters | |
| 4-20 mA | 0-5V | S0 | ||||
| Uo = 6,33V | ||||||
|
Toran’O Atex Zone 1 IP55 : [50-70-124] |
P1 : OUT – V+ [~14Vdc@20mA]
P2 : GND | Uo = 18,9V Io = 91mA Po = 430 mW
Co = 1,6µF [IIB] | P1: OUT – V+ [~5,5Vdc@5mA] P2: GND P3: IN-Measure 1 | Uo = 6,51V Io = 67mA Po = 108 mW
Co = 500µF[IIB], | P1: INPUT 1 P2: GND P3: INPUT 2 | Io = 33µA Po = 23µW Co = 650µF[IIB], Co = 28µF[IIC] Lo = 1H [IIB], |
| IP68 : [50-70-150] | P3 : IN-Measure | Co = 262nF [IIC] | P4: GND | Co = 22µF[IIC] | P4 : GND
P6: INPUT 3 | Lo = 1H [IIC] Ui = 25V |
| P4 : NC | Lo = 17mH [IIB] Lo = 4mH [IIC] | P6: IN-Measure 2
P7: GND | Lo = 33mH [IIB], Lo = 8mH [IIC] | P7: GND | Ii = 450mA Ci = 3,3nF Li ~ 0 | |
| Uo = 6,33V | ||||||
| P1: INPUT 1 | Io = 33µA | |||||
| P2: GND | Po = 23µW Co = 650µF[IIB], | |||||
| Pulse Sens’O Atex zone 1 | P3: INPUT 2 | Co = 28µF[IIC] | ||||
| IP55 : [50-70-123] IP68 : [50-70-152] | P4: GND
P6: INPUT 3 | Lo = 1H [IIB], Lo = 1H [IIC] Ui = 25V | ||||
| P7: GND | Ii = 450mA | |||||
| Ci = 3,3nF | ||||||
| Li ~ 0 | ||||||
A, B, and C refer to the connectors in the table on the previous page

Output Signal:

Contact sec: Dry contact:

Sortie collecteur ouvert NPN Open collector output NPN

Compatible with a voltage of 3V and a current of 3uA.
NPN Open Collector:
Others, need to connect a compatible AtEx zone 1 external power supply with a resistor to limit the current. The below example is given with an external 12V power supply.

Marking
Pulse Sens’O sensors are certified according to the harmonized standards EN60079-0 ed. 6 and EN60079-11 ed.6 (EU Type Examination Certificate DEKRA20ATEX0017 X)
Pulse sens’O
- 0344 II 2 GD
- Ex ib IIB, IIC T4 Gb
- Ex ib IIIC T135°C Db -20 ≤ Tamb ≤ +50°C
- DEKRA 20ATEX0017 X
WARNING: DO NOT CHANGE THE BATTERY IN AN EXPLOSIVE ATMOSPHERE – ONLY USE TYPE OF BATTERY SAFT LS17500 – POTENTIAL ELECTROSTATIC CHARGING HAZARD – INTRINSIC SAFETY PARAMETERS FOR CONNECTORS – SEE INSTRUCTIONS NKE WATTECO – RUE GUTENBERG – 56700 HENNEBONT – FRANCE
WARNING: DO NOT CHANGE THE BATTERY IN EXPLOSIVE ATMOSPHERE – ONLY USE TYPE OF BATTERY SAFT LS17500 – POTENTIAL ELECTROSTATIC CHARGING HAZARD – INTRINSIC SAFETY PARAMETERS FOR CONNECTORS – SEE INSTRUCTIONS NKE WATTECO – RUE GUTENBERG – 56700 HENNEBONT – FRANCE
Installation Setting up
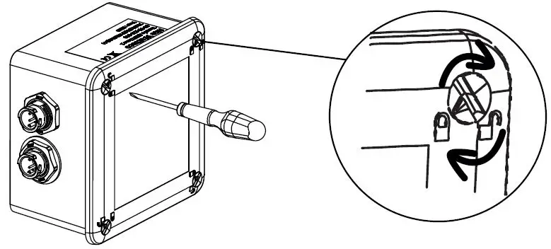
Opening / Closure

Unscrew the 4 screws by ¼ turn
Montage mural Wall mounting

Place the dowels and screw the housing to the wall
Radio propagation

Check the radio coverage with the Netw’O.

For the sensor communicates correctly, the number of obstacles should be limited to avoid excessive radio attenuation.
Characteristics
| Reference | 50-70-124 | 50-70-150 | 50-70-123 | 50-70-152 |
| Class | A | A | ||
| Power Level | +14 dBm | +14 dBm | ||
| Measures : | Input S0 4-20mA / 0-5V | Input S0 | ||
| Antenna | Internal | Internal | ||
| Casing materials | ASA / PC | ASA / PC | ||
| IP rating | IP55 | IP68 | IP55 | IP68 |
SITE SUPPORT



















