SuperFish 1000 Multi-Power Eco Multi-Purpose Pump

General instructions
Read this manual carefully before using this device. Keep this manual for future reference.
Meaning of symbols
The following warning symbols and/or signal words are used in this manual:
DANGER!
This means an imminent danger due to electric current. Failure to follow the safety instructions can result in serious or fatal injury and/or serious damage to the product or environment.
WARNING!
This means a dangerous situation. Failure to follow the safety instructions can result in moderate or minor personal injury and/or damage to the product or environment.
Meaning of the symbols on the device itself
- This device can be used underwater up to a 1.2 metre depth.
- This device is waterproof.
- This device complies with all applicable EU standards.
- This device may not be disposed of with normal household waste but must be collected separately for recycling.
Use
Only suitable for indoor use for aquarium purposes.
- The pump is not suitable for use in an aquarium with sand or fine gravel substrate. This may cause blockages resulting in seizure of the pump.
- The temperature of the aquarium water being pumped should not exceed 35°C.
- Do not use for pumping sewage water, flammable, corrosive and/or explosive liquids (e.g. petroleum, petrol, solvents), fats, oils or foodstuffs.
- The model Multi-Power 1000 is NOT suitable for salt water aquariums.
- Never let the device run dry. When active the pump should always be in a minimum water level of at least 1 cm.
- Only use the pump in an upright position.
- Do not use for swimming pools and do not connect to drinking water supplies.
Safety
Always follow the safety instructions below for safe use of the device. Failure to follow these instructions may endanger persons or the environment.
- This device must be supplied through a residual current device (RCD) having a rated residual operating current not exceeding 30 mA.
- Ensure the voltage shown on the label matches the mains supply voltage.
- This device must be connected to a socket which is earthed.
- Protect the socket and plug against moisture. Use a drip loop to ensure that water cannot reach the socket via the power cord.

- Don’t use the product if the device, cord or plug is damaged. Return the device to your dealer for repair or recycling. A damaged cord or plug cannot be replaced, the device should be recycled.
- Be careful with the combination of water and electricity. Do not operate with wet hands. Dry hands before carrying out maintenance
- Always switch off all devices in the aquarium before maintenance. Disconnect the plug(s) from the socket.
- Do not move or lift the device out of the water by the cord, only lift the device by the handle.
- This device can be used by children aged from 8 years and above, persons with reduced physical, sensory or mental capabilities or lack of experience and knowledge, if they have been given supervision or instructions concerning the use of the device in a safe way and understand the hazards involved. Children shall not play with the device.
Cleaning and maintenance of the device shall not be done by children without supervision. - Modifications to the device may affect the safety. The warranty will also expire.
Function
Multi-purpose pump for water changes, water circulation and draining aquariums, sumps and filters. The inlet is located at the bottom of the pump, which allows pumping until the water level is at 1 cm.
Installation
- For use as a circulation pump, install the pump when completely submersed under water. Fig.A To be able to start the pump, when changing the water or draining aquariums, sumps and filters, the water level must be at least 3 cm. Switch off the pump when the water level is only 1 cm.

- Connect a hose (not included) using the correct diameter to the hose connection. The Multi-Power 2500 has 3 interchangeable hose connections (ø 12/16/20 mm).
- Turn the pump on by plugging it into the mains.
Maintenance
- The pump should be cleaned regularly (minimum twice a year) to ensure trouble free operation. Scale deposits, in particular, can cause your pump to cease.
- There is no warranty on failures due to dirty pumps and scale build up inside the pump caused by improper or lack of maintenance.
- Remove the plug from the socket before carrying out maintenance!
- Disconnect the pump from the hose and rinse the housing under the tap.
- For proper cleaning and descaling, it is best to use SuperFish Pump & UVC Clean (Art. 07070500), which is available from your dealer.
Fig. B Remove the bottom of the pump by loosening the screws.
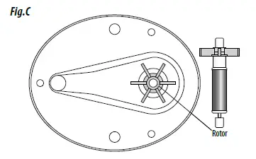
Fig. C Now you can pull the rotor out of the pump.
- Brush and clean the rotor, the bottom and the housing thoroughly. Rinse everything with clean tap water and reassemble.
- Depending on usage the rotor can get worn out and damaged, this is normal. A new rotor (MP 1000: Art. A7031097, MP2500: Art. A7031099) is available from your dealer.
Specifications
| Multi-Power | 1000 | 2500 | |
| Power | 15 Watt | 40 Watt | |
| Capacity | 1000 l/h | 2500 l/h | |
| H. Max. | 1.40 m | 2.30 m | |
| Outlet Ø | 12 mm | 12/16/20 mm | |
| Cable length | 1.80 m | 2.50 m | |
| Size | 107x84x123 mm | 135x105x152 mm | |
Recycling
This symbol indicates that this product (if it is discarded) may not be disposed of with normal household waste.
Instead it must be handed in at an official collection centre (e.g. HWRC). Or can be returned to the dealer when purchasing a similar new product. Follow the applicable rules in your country for the separate collection of electrical and electronic products.
Separate collection and recycling are better for the environment, public health and reduces waste.
Warranty
2 years manufacturer’s warranty on materials and construction defects. Devices must be returned complete with all components, accompanied by an official proof of purchase confirming a purchase date for any warranty claims. Incomplete devices of which parts are missing, and devices without proof of purchase are not eligible for warranty. After receiving and checking, we will determine whether the device will be repaired or replaced. For a device repaired or replaced under warranty, the remaining time of the original warranty period applies. Carefully read the instructions on installation, use, and maintenance.
Damage due to incorrect use, damage due to contamination or not cleaning the device, wear and damage to the rotor, and damage to the cord are not covered by the warranty.
Always keep the proof of purchase, without proof of purchase the warranty will be void!
Produced in China for:
www.aquadistri.com
Vlietweg 8, 4791 EZ Klundert, The Netherlands
























