HALO IL51870322 LED Dusk to Dawn Area Light

Packaging Contents

| Part | Description | Quantity |
| A | Light Fixture | 1 |
| B | NEMA Twist-lock 3-pin photocell | 1 |
| C | Wire cover plate | 1 |
Hardware Included

| Part | Description | Quantity |
| AA | Hex head lag bolt | 3 |
| BB | P3 Wire nut | 3 |
| CC | P2 Wire nut | 2 |
| DD | Mounting Bracket | 1 |
| EE | Photocell | 1 |
ITEMS REQUIRED
(Purchase separately)
- Philips Screwdriver
- Safety Goggles
- Silicone Sealant
- Wire Strippers / Cutter
- Circuit Tester
- Adjustable Wrench
- Work Gloves
- Ladder
- Power Drill

Before installing the light fixture, ensure that all parts are present. Compare parts with the hardware Included and Package contents sections. If any part is missing or damaged, do not attempt to assemble, install or operate this light fixture.
Estimated installation time: 20 minutes
IMPORTANT SAFETY INSTRUCTIONS
THIS PRODUCT MUST BE INSTALLED IN ACCORDANCE WITH THE APPLICABLE NATIONAL ELECTRICAL CODE AND LOCAL BUILDING CODES BY A PERSON FAMILIAR WITH THE CONSTRUCTION AND OPERATION OF THE PRODUCT AND THE HAZARDS INVOLVED.
- Please read and understand this entire manual before attempting to assemble, install or operate this light fixture.
- Save these instructions and warnings
- This light fixture requires a 120-277 Volt AC power source. Any other connection voids the warranty.
- Fixture should be installed by persons with experience in household wiring or by a qualified electrician.
- This light fixture must be properly grounded.
- Make sure connections are secure using wire nuts, crimp-on plugs or other UL approved connecting devices.
- This fixture should be installed outdoors to a wall or a pole.
- Disassembling your fixture will void the warranty.
- Always turn OFF the power before adjusting or servicing this light fixture, wear rubber soled shoes and use a wooden or insulated (non-grounded) ladder.
- This product may contain chemicals known to be hazardous. Thoroughly wash hands after installing, handling, cleaning or otherwise touching the product.
READ AND FOLLOW THESE INSTRUCTIONS
WARNING: Before installation or servicing, turn the power OFF at the circuit breaker or fuse. Place tape over the circuit breaker switch and verify power is OFF at the light fixture.
WARNING: RISK OF FIRE. Keep the lamp heads at least 3 in. (76 mm) from combustible materials.
CAUTION: BURN HAZARD. Allow the light fixture to cool before touching.
CAUTION: BURN HAZARD. Allow the light fixture to cool before touching.
NOTICE: FCC Regulations state that any unauthorized changes or modifications to this equipment not expressly approved by the manufacturer could void the user’s authorization to operate this equipment.
IMPORTANT: This device complies with part 15 Class A of the FCC Rules. Operation is subject to the following two conditions:
- This device may not cause harmful interference, and
- This device must accept any interference received, including interference that may cause undesired operation.
These limits are designed to provide reasonable protection against harmful interference in a residential installation. This equipment generates, uses, and can radiate radio frequency energy and, if not installed and used in accordance with the instructions, may cause harmful interference to radio communications. However, there is no guarantee that interference will not occur in a particular installation. If this equipment does cause harmful interference to radio or television reception, which can be determined by turning the equipment OFF and ON, the user is encouraged to try to correct the interference by one or more of the following measures:
- Reorient or relocate the receiving antenna.
- Increase the separation between the equipment and receiver.
- Connect the equipment into an outlet on a circuit different from that to which the receiver is connected.
- Consult the dealer or an experienced radio/TV technician for help.
PREPARING FOR INSTALLATION
CAUTION: Do not try to rotate the photocell receptacle on top of the fixture as it may twist the wiring.
NOTE: Make sure the photocell is locked on the receptor. Do not over rotate after it is locked
REVIEW THIS INFORMATION TO ENSURE A SUCCESSFUL INSTALLATION:
- Install the light 10 – 30 ft. above the ground.
- Place the photocell (provided separately in the box) on the receptor on top of the fixture and rotate in the direction of the arrow marked on the photocell.
- When mounting the fixture, ensure the photocell is in an area that receives daylight and is not too close to relective surfaces in order to ensure successfuk Dusk to Dawn operation.
- When installing two fixtures on one switch, make sure the switch is rated for at least a 1A inductive load.

INSTALLATION
TURNING OFF THE ELECTRICITY
- Verify the wall switch is in the OFF position.
- Turn off power at the circuit breaker that supplies power to the outlet box you are working on.
- For screw-in type fuses unscrew the fuse that supplies power to the outlet box you are working on.

WARNING: Risk of electric shock. Disconnect power at fuse or circuit breaker before installing or servicing.
ATTACHING THE PHOTOCELL ON THE FIXTURE
- Place the photocell (B) onto the receptacle on top of the fixture A
- Twist the photocell (B) in the direction of the arrow indicated on the photocell until it locks into place.
CAUTION: Do not try to rotate the photocell receptacle on top of the fixture as it may twist the wiring.
NOTE: The fixture comes with the twist-lock photocell (B) provided separately in the box.
NOTE: The light fixture will not work without the photocell inserted into the photocell receptacle as it completes the circuit.
NOTE: Make sure the photocell is locked on the receptor. Do not over rotate after it is locked.

PREPARING TO MOUNT THE FIXTURE
NOTE: The fixture comes with the wire guard protection plate (C) already installed on the fixture arm (D)
WALL MOUNT
- Remove the wire guard protection plate (C) from the arm (D) of the fixture by loosening the screws.
- Mark and pre-drill the three holes on the desired location of the mounting surface.
EXTENSION ARM MOUNT (SOLD SEPARATELY)
- Remove the wire guard protection plate (C) from the arm (D) of the fixture by loosening the screws.
- Refer to below table for help in using the correct hardware based on your mounting surface material.

| MOUNTING SURFACE | HARDWARE |
| Brick | 1/4 in. Hex head sleeve anchor (not supplied) |
| Wood pole | 1/4 in. Lag bolts (supplied) |
| Masonry block | 1/4 in. Toggle bolts (not supplied) |
| Metal wall panels | 1/4 in. bolts, nuts, washers and flat backing plate (not supplied) |
MOUNTING THE FIXTURE
- Feed supply wires through the arm (D)
WALL MOUNT
- Using the fixture (A) as a template, mark and pre-drill the three mounting holes.
- Partially screw the bottom hex bolts (AA) and place the fixture’s two bottom mounting groves onto the bottom bolts (AA)
- Then insert the top bolt (AA) and tighten all bolts to firmly secure the fixture to the surface
NOTE: Use other suitable bolts or fasteners as applicable to your mounting surface.

EXTENSION ARM MOUNT
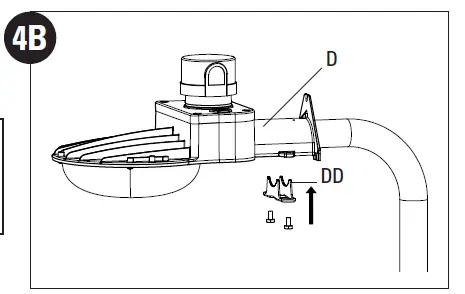
- Secure the extension arm (not included) to the light fixture arm (D) using the included arm mounting bracket (DD) and the screws removed earlier, until the bracket pushes firmly against the arm mount.
IMPORTANT: The extension arm is sold separately. If you need to purchase the extension arm please contact your retail store. Installation instructions for the extension arm are available in the instructions sheet provided in the extension arm package.
MAKING THE ELECTRICAL CONNECTIONS
WALL MOUNT
- Thread the wires through the hole in the wire cover plate (C).
WALL AND EXTENSION ARM MOUNT
- If necessary, strip 3/8 in. of insulation from the junction box or fixture (A) wires.
ON/OFF Wiring (Non Dimming) Method

- Connect the fixture black wire to the supply black wire [(+) line] and fixture white wire to the supply white wire [(-)common] by twisting the exposed wires together and using the wire nuts (BB). Ensure there are no loose wires
- Connect the supply ground wire to the green fixture ground wire by twisting the exposed wires together and using the wire nuts (BB).
0-10V Dimmable Wiring Method
- Connect the fixture black wire to the supply black wire [(+) line] and fixture white wire to the supply white wire [(-)common] by twisting the exposed wires together and using the wire nuts (BB). Ensure there are no loose wires.
- Connect the supply ground wire to the green fixture ground wire by twisting the exposed wires together and using the wire nuts (BB).
- Connect the purple wire to the (V+) DIM wire and the pink wire with (V-) DIM wire by twisting the exposed wire together and using the wire nuts (CC).
NOTE: Hold stripped ends near each other and align any frayed strands (do not twist wires). Push the wires into the frayed strands (do not twist wires). Push the wires into the wire nut (BB) and use your fingers to twist the wire nut clockwise until tight. Check for tightness by pulling wires.
SECURING THE FIXTURE AND WIRING
WALL MOUNT
- Once the fixture is wired, place the wire cover plate (C) on the arm (D) by tightening the two screws removed earlier.
EXTENSION ARM MOUNT
- After wiring is complete, secure the fixture on the extension arm using the arm mounting bracket (DD) by tightening the screws removed earlier, until the arm mounting bracket(DD) pushes firmly against the pole.

OPERATION
SELECTING DUSK-TO-DAWN
Dusk-to-dawn operation
Dusk to Dawn operation enables the light fixture to automatically turn ON when dark outside and turn OFF when the sun rises, thus saving you energy.
- To enable dusk-to-dawn operation make sure the photocell (B) is exposed to light and is unobstructed.
- Ensure the switch powering the outlet connected to the light fixture is turned to the ON position and leave it ON at all times to enable dusk to dawn functionality to operate automatically.

NOTE: If the photocell (B) is located in an area under heavy shade the photocell may not detect enough light and may turn the light fixture on.
NOTE: To test if the light fixture (A) and photocesll (B) works properly, run power to the fixture and cover the photocell to turn the fixture ON. shine light into the photocell to see if the fixture turns OFF.
SELECTING CCT AND ADJUSTING BRIGHTNESS
Remove the CCT and DIM cap by selecting the combination on the DIP switches, Wattages(DIM) and CCT can be set as required.

CARE AND CLEANING
- Shut off the main power supply before cleaning the product. To prolong the original appearance, clean the light fixture with clean water and a soft, damp cloth only.
- Do not use abrasive cleaners or cleaners that contain alcohol. Do not apply paints, solvents or any other chemicals on this light fixture. They could cause a premature deterioration of the finish and may void the warranty.
- Do not spray the light fixture with a hose or power washer.
TROUBLESHOOTING
| PROBLEM | POSSIBLE CAUSE | SOLUTION |
| The light does not turn ON. | There is no power to the fixture |
|
| The fixture senses daylight | Cover the photocell. wait a short time until the fixture turns ON. | |
| The light cycles ON and OFF continuously. | The photocell light sensor is sensing reflected light |
|
| The light flickers. | The light fixture wired through a dimmer switch | Do not use a dimmer switch to control the light fixture. Replace the dimmer with a standard ON/OFF switch. |
| The light stays ON. | The light sensor is in a shaded area. |
|
| The light sensor is faulty. | If the light does not turn OFF when a flashlight is shined on the light sensor for a minute, then the sensor may be faulty. Please contact customer service. |
NOTE: Photocell (B) has a short delay in order to reduce its sensitivity to sudden light changes. When testing, shine a light and cover the photocell for a short time to check if the fixture functions properly.
5-YEAR LIMITED WARRANTY
THE FOLLOWING WARRANTY IS EXCLUSIVE AND IN LIEU OF ALL OTHER WARRANTIES, WHETHER EXPRESS, IMPLIED OR STATUTORY INCLUDING, BUT NOT LIMITED TO, ANY WARRANTY OF MERCHANTABILITY OR FITNESS FOR ANY PARTICULAR PURPOSE.
Cooper Lighting Solutions warrants to customers that, for a period of five years from the date of purchase, Cooper Lighting Solutions products will be free from de-fects in materials and workmanship. The obligation of Cooper Lighting Solutions under this warranty is expressly limited to the provision of replacement products. This warranty is extended only to the original purchaser of the product. A purchaser’s receipt or other proof of date of original purchase acceptable to Cooper Lighting Solutions is required before warranty performance shall be rendered.This warranty does not apply to Cooper Lighting Solutions products that have been altered or repaired, that have been subjected to neglect, abuse, misuse or accident (including shipping damages). This warranty does not apply to products not manufactured by Cooper Lighting Solutions which have been supplied, installed, and/or used in conjunction with Cooper Lighting Solutions products. Damage to the product caused by replacement bulbs or corrosion or discoloration of brass components are not covered by this warranty.
LIMITATION OF LIABILITY: IN NO EVENT SHALL COOPER LIGHTING SOLUTIONS BE LIABLE FOR SPECIAL, INDIRECT, INCIDENTAL, OR CONSEQUENTIAL DAMAGES (REGARDLESS OF THE FORM OF ACTION, WHETHER IN CONTRACT, STRICT LIABILITY, OR IN TORT INCLUDING NEGLIGENCE), NOR FOR LOST PROFITS; NOR SHALL THE LIABILITY OF COOPER LIGHTING SOLUTIONS FOR ANY CLAIMS OR DAMAGE ARISING OUT OF OR CONNECTED WITH THESE TERMS OR THE MANUFACTURE, SALE, DELIVERY, USE, MAINTENANCE, REPAIR OR MODIFICATION OF COOPER LIGHTING PRODUCTS, OR SUPPLY OF ANY REPLACEMENT PARTS THEREFORE, EXCEED THE PURCHASE PRICE OF COOPER LIGHTING SOLUTIONS PRODUCTS GIVING RISE TO A CLAIM. NO LABOR CHARGES WILL BE ACCEPTED TO REMOVE OR INSTALL FIXTURES.
To obtain warranty service, please contact Cooper Lighting Solutions at 1-800-334-6871, press option 2 for Customer Service, or via e-mail [email protected] and include the following information:
- Name, address and telephone number
- Date and place of purchase
- Catalog and quantity purchase
- Detailed description of problem
All returned products must be accompanied by a Return Goods Authorization Number issued by the Company and must be returned freight prepaid. Any product received without a Return Goods Authorization Number from the Company will be refused. Cooper Lighting Solutions is not responsible for merchandise damaged in transit. Repaired or replaced products shall be subject to the terms of this warranty and are inspected when packed. Evident or concealed damage that is made in transit should be reported at once to the carrier making the delivery and a claim filed with them.
Reproductions of this document without prior written approval of Cooper Lighting Solutions are strictly prohibited.
For assistance, call 1-800-334-6871 or e-mail us at [email protected]
Printed in China
LED Dust-to-Dawn Area Light Instructions
www.cooperlighting.com
Cooper Lighting Solutions is a registered trademark.
All trademarks are property of their respective owners.
© 2020 Cooper Lighting Solutions
All Rights Reserved
Printed in USA
Imprimé aux États-Unis
Impreso en los EE. UU.
Publication No. IL51870322
August 2022
Cooper Lighting Solutions
1121 Highway 74 South
Peachtree City, GA 30269
P: 770-486-4800
www.cooperlighting.com




















