PROTOCOL Kaptur GPS II WiFi Drone with HD Camera
PRECAUTIONARY SAFETY WARNINGS
- Read and follow instructions on how to synchronize electronics before each flight.
- To prevent damage to people or property, always avoid contact with other objects while in flight.
- Focus on flight. Do not participate in other activities such as texting that would distract from flight.
- Do not fly under the influence of alcohol or drugs.
- Inspect aircraft prior to each flight and do not fly if damaged.
- Never expose the product or any of its electronic parts to moisture, water, or heat sources.
- Charge the device in a cool, dry place and under adult supervision. Never leave the device unattended while charging.
- To prevent overheating, allow the battery a cool-down period before recharging.
- To prolong engine life, allow a cool-down period between flights.
- Use only the charger and/or charging cable that is supplied with this item.
- Do not strike, cut, or pierce the internal battery or subject it to hard impacts.
- Do not mix old and new batteries or mix different types of batteries.
- Never attempt to modify the function of the vehicle or controller or attempt repairs using parts other than those supplied by Protocol. Spare parts are available at www.protocolny.com.
- Do not travel or bring on an airplane with the battery over 5% charged.
THIS DEVICE USES COMPONENTS THAT OPERATE AT HIGH SPEEDS. AS WITH ANY SUCH DEVICE, USE CAUTION TO OPERATE SAFELY. FAILURE TO FOLLOW ANY OF THESE GUIDELINES MAY RESULT IN BODILY INJURY OR DAMAGE TO PERSONAL OR PUBLIC PROPERTY.
WARNINGS
FAA FLIGHT REGULATIONS
- Observe local FAA rules and regulations for flight.
- Do not fly in unpermitted locations.
- Go to www.faa.gov/uas to learn more about FAA drone regulations.
- This drone weighs under .551bs and does not require registration.
PARTS

DRONE
- Canopy
- Blade
- Battery Compartment
- Camera
- ON/OFF Switch
- Memory Card Slot
ON/OFF SWITCH

BATTERY COMPARTMENT


REMOTE
- Power Switch
- Trim (press in)
- Return Home
- Forward/Backward
- Bank Left/Right
- Video
- Photo
- Throttle
- Auto Take Off/Land
- Phone Clamp (not installed)
- Turn Left/Right
- Speed Mode Selector (press in)
SPARE PARTS INCLUDED
- Replacement Blades
- Screwdriver
REMOTE BATTERY, BLADE GUARD & PHONE INSTALLATION

Unscrew and remove battery cover from controller. Insert 4 x ‘AA’ batteries according to indicated polarities. Replace and screw back in battery cover.
- Install batteries carefully.
- Do not mix old and new batteries.
- Do not mix different types of batteries.
INSTALLING THE BLADE GUARD
If not already installed, install the included blade guards by snapping them in. Make sure the blade guards are secure and snug.
NOTE:
Loose blade guards may interfere with propeller movement and cause a crash. If the drone crashes, double-check to make sure the blade guard is not loose. If it is, re-tighten before flying.
INSTALLING THE PHONE CLAMP
- Remove the clip cover from the remote control.
- Insert the phone clamp into the now empty slot on the remote.
- Open the clamp to fit the phone.

CHARGING THE DRONE BATTERY
- Make sure the drone is turned off.
- Press in on the two tabs and pull out the cartridge battery from the drone.
- Connect the USB charging cable to the battery.
- Plug the charger into a USB port. The USB light will flash green while charging and will turn steady once fully charged.
- Plug the battery back into the drone. Charging time: 140 minutes — Flying time: approximately 12 minutes.
- DO NOT CHARGE OVERNIGHT OR BEYOND THE CHARGING TIME STATED. DO NOT LEAVE BATTERY UNATTENDED. *Battery: Li-Po, 7.4V, 700mAh.

If you purchased extra batteries, allow the engines to cool between flights in order to prolong engine life.
CAUTION WHEN CHARGING
- When charging, place product on a dry, well-ventilated surface and keep away from heat sources.
- Always use adult supervision while charging.
- In order to increase battery longevity, avoid repeat charging and excessive discharging.
- As battery temperature is high immediately after flight, charge after cooling down for higher efficiency.
- Do not strike or subject battery to hard impacts or sharp surfaces.
- Do not use any other charger than that which is supplied with this item.
- Do not use or leave battery near a heat source such as fire or space heater; exposure to heat may result in reduced performance or in some cases dangerous conditions.
- If battery is left in charging state for an extended period of time after being fully charged, the battery may automatically discharge.
- Never leave the battery unattended during charging.
- Do not disassemble battery.
- Do not submerge battery in water.
START-UP PROCEDURE
Before flying, the drone and transmitter must be turned on in sequence and synchronized.
- Turn on the drone and place it on an even surface. The blue lights on the drone are at the front and the yellow are at the back.
- Turn on the remote control.
- Both indicators on the drone and the remote will flash while they are syncing.
- Push the throttle up and then down to sync. You will hear two beeps and the lights will go steady.

NOTE:
- While the drone is in process of synchronizing, the lights will flash quickly. When the process is completed, the lights will go steady.
This is your indication that the process is completed. - If after 30 seconds, it has not recognized the drone, turn off the controller and repeat the Start-Up procedure.
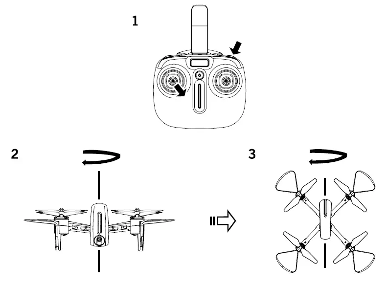
CALIBRATING THE COMPASS
Once the drone and remote have synced, you must calibrate the compass.
- Push the throttle to the lower right corner and hold. Press the Return Home button once (Fig.I).
- The indicator lights will begin to flash slowly. Release the throttle and pick up the drone, holding it horizontally and 1 meter from the ground.
- Slowly rotate 360° horizontally until the indicators begin to flash quickly (Fig. 2). You may have to rotate a few times.
- Hold the drone vertically and rotate 360° until the indicators are steady (Fig. 3). You may have to rotate a few times.
Never calibrate in areas with numerous and large metal objects such as parking lots. Do not have your phone on you while calibrating.
CONNECTING TO SATELLITE
Once you have calibrated, you may notice the battery’s backlight flashing. The drone is searching for satellite signals. Once it has found enough GPS points, the light will turn steady and the drone is ready to fly.
OPERATION: FLYING THE DRONE
STARTING THE ENGINE
After synchronizing the drone, move the throttle up and release to go into Idle mode. The blades will rotate but the drone will not lift. OR After synchronizing the drone, pull the throttle and direction stick to the center at the same time and release. The blades will rotate but the drone will not lift.
TAKE-OFF
Press the take off button. The remote will beep and the drone will hover a few feet off the ground. Then gently advance the throttle to a desired height and release. The drone will hover at that height. OR From Idle mode, gently advance the throttle up to a desired height and release. The drone will hover at that height.*
LANDING
Press the landing button to lower the drone to the ground. OR Push down on the throttle until the drone is on the ground.

NOTE:
- The engine will shut off if you choose to hold the throttle down for 3 seconds.
- Emergency Shut Off: When in flight, pull the throttle and direction stick to the center at the same time and the drone will shut off. Emergency Shut Off only works at altitudes under 10 feet.

* The drone may drift a bit, especially in the first 30 seconds until the altitude sensor gets a good fix on the position. Some drift is normal.
FIRST-TIME FLYERS!!! TAKE YOUR TIME! GO SLOW
Practice hovering until you are comfortable with flight before attempting any other maneuvers. Make small movements letting the stick return to the center. If you start to lose control, don’t panic. Just press land.
Pull the throttle left or right, the drone turns to the left or right.
Push the direction lever up or down, the drone flies forward or backward. 
Pull the direction lever to the left or right, the drone banks to the left or right.
RETURN HOME
When in the Return Home mode, the drone may not take a direct path back to the take off location due to satellite signals and other variants. You can make left and right banking adjustments but other directional controls will be disabled. To exit Return Home mode, press and hold the Return Home button for 2 seconds. The remote control will beep twice indicating that it has left Return Home. If you feel that you have lost control of the drone, exit Return Home and press land. If you wish to exit Return Home mode, press and hold the Return Home button for 2 seconds. If the GPS signal is weak, the return home function will not work and you will need to manually fly the drone back to you. Dependent on the GPS signal, the drone may not return to the precise location from where it took off from. Variation of a few feet is to be expected.
GEO-FENCING
The drone’s GPS will automatically create a virtual boundary to keep the drone within transmission range. The boundary will extend to 150 meters from take-off. When the drone reaches the boundary, it will stay there and not fly further away. *Wind can affect the Geo-Fencing function and push the drone out of the boundary. Always exercise caution when flying outdoors.
SPEED MODES
The Kaptur GPS II features two speed modes. Choose the speed based on flight experience and level of comfort. At high speed the drone will pitch more than at low speed. Kaptur GPS II is quite fast at its high speed and requires more piloting skills to fly competently. For safety take time to develop advanced skills by practicing at low speed first. The drone is preset to low speed. Press the direction stick in to change the speed mode. The remote will beep once for low speed and twice for high speed.
TRIM ADJUSTMENT

SIDEWAYS TRIM
When the drone drifts to the left or right side unintentionally, you can correct it by pressing in the throttle and holding while moving the direction stick in the opposite direction until it evens out.
FORWARD/BACKWARD TRIM
When the drone drifts forward/backward unintentionally, you can correct it by pressing in the throttle and holding while moving the direction stick in the opposite direction until it evens out.
LEFT/RIGHT TRIM
When the drone drifts left/right unintentionally, you can correct it by pressing in the throttle and holding while moving it in the opposite direction until it evens out.
NOTE: Trim adjustments are designed to counter drifts not caused by wind.
TROUBLESHOOTING
RE-CALIBRATING THE ALTITUDE SENSOR
If the drone crashes and after re-starting and trimming, it still is unstable, you have the option to re-calibrate the drone.
- Turn on the drone and then the remote and sync.
- Push and hold the both the throttle and direction stick to the lower right corners for 2-3 seconds.
- The lights will flash to indicate that the drone has re-calibrated.
Allow 15 minutes to pass between full flights as this will give the motors a chance to cool down. Failure to do so could wear out and shorten the life of the motors.
| Kaptur GPS II does not respond | 1. Communication between controller and aircraft was not synchronized durin g set up 2. Battery power depleted on aircraft, controller or both. | 1. To synch ronize, turn on aircraft first, place it on level ground, and then turn on controller. 2. Charge aircraft and /or replace batteries in controller. |
| Response to control inputs intermittent or erratic | 1. Cont roller battery power nearly depleted. | 1. Replace batteries in controller. |
| Kaptur GPS II will not hover or strafe correctly | 1. The aircraft was not on level ground during synchronization. 2. Trim settings are incorrect. | 1. Re-synchronize aircraft and controller. 2. Recalibr ate the Altitude Sensor. 3. Reset the trimmer by tu rning the drone off. Press in on the throttle and hold while turning the drone back on. |
HOW TO CHANGE THE BLADES
- All drones have two rotors that spin clockwise and two rotors that spin counter-clockwise.
- Make sure to place the blades on the correct axis or they will not spin correctly and the drone will not lift.
- Each blade is marked on its top with A or B. There may be a number after the letter but you can ignore the number.
- Make sure to follow the graphic below to see where to place the blades.

FLYING OUTDOORS
HOW TO PREVENT FLY AWAYS
To prevent “fly-away” situations (where drones seem to fly away out of control) it is important to first test and practice within close range before letting the drone fly too far away. Each drone is designed to turn off the engines if the radio signal is lost. It is important to know and test the range of your drone before flying. We recommend turning on and syncing the drone and walking away while testing the engines. Keep walking and testing until it is obvious when you reach the point where the signal is not controlling the drone. This will be the control limit for the conditions in which you are flying. Distance does vary somewhat based on environmental and weather conditions, so testing the limit is advised. Fly in a range that is good for easy visual operation of the drone.
IF YOU CAN’T SEE YOUR DRONE, THEN YOU CAN’T CONTROL YOUR DRONE
Fly-aways are not covered by warranty as they are overwhelmingly caused by pilot error.
SHOOTING PHOTO/VIDEO
Kaptur GPS II has the capability to record photo/video direct from the remote to a storage card (sold separately) inserted into the drone.
- If you have purchased a memory card, insert it into the slot on the drone until you hear a click.
- Set the camera in a desired position by pushing it up or down. Touch only the outer rim of the camera. Do not touch the lens.
SHOOTING PHOTOS AND VIDEO
- Turn on the drone and sync.
- Photo: Push the Photo button and the camera will take a photo. The lights on the drone will flash once as it’s taking the picture.
- Video: Push the Video and the camera will begin to record. The lights on the drone will flash continuously while recording. Push the Video button again and the camera will stop recording.
- Press the memory card to unlock and remove. Plug it into a USB card reader (not provided). Then plug the card reader into the USB port of your computer. If you are using Windows, the USB will come up on the removable drive. If you are using OS, then the USB will come up as “Untitled”.
- Open the drive and then open the Video or Photo folders to access the .AVI or JPEG files.
- AVI movies can be played in several different formats including Quicktime, Windows Media Player, and RealPlayer.
WARNING: Never remove the card from the video camera while the drone is turned on. Wifi frequency is one chanel of 2412Mhz
REPLACEMENT PARTS
Thank you for your purchase of Protocol’s Kaptur GPS II Wi-Fi Drone with HD Camera. We know that accidents can sometimes happen and that is why we offer spare parts kits on our website: www.ProtocolNY.com.
LIMITED WARRANTY
At Protocol, we’re dedicated to bringing you innovative and well-designed products that make living fun and easy. We stand behind all of our products and warrant this to be free from defects in workmanship and materials for 30 days from the date of purchase. The warranty does not cover transportation damage, misuse, accident, or similar events. Specific legal rights pertaining to this warranty may vary by state. For service claims or questions please consult our website www.ProtocolNY.com.
FCC Statement
This device complies with Part 15 of the FCC Rules. Operation is subject to the following two conditions: (1) This device may not cause harmful interference, and (2) this device must accept any interference received, including interference that may cause undesired operation.
NOTE:
This equipment has been tested and found to comply with the limits for a Class B digital device, pursuant to Part 15 of the FCC Rules. These limits are designed to provide reasonable protection against harmful interference in a residential installation. This equipment generates uses and can radiate radio frequency energy and, if not installed and used in accordance with the instructions, may cause harmful interference to radio communications. However, there is no guarantee that interference will not occur in a particular installation. If this equipment does cause harmful interference to radio or television reception, which can be determined by turning the equipment off and on, the user is encouraged to try to correct the interference by one of the following measures:
- Reorient or relocate the receiving antenna.
- Increase the separation between the equipment and receiver.
- Connect the equipment into an outlet on a circuit different from that to which the receiver is connected.
- Consult the dealer or an experienced radio/TV technician for help.
WARNING:
Any changes or modifications not expressly approved by the party responsible for compliance could void the user’s authority to operate this equipment. The device must not be co-located or operating in conjunction with any other antenna or transmitter. FCC RF Radiation Exposure Statement Caution: To maintain compliance with the FCC’s RF exposure guidelines, place the product at least 20cm from nearby persons. This device complies with FCC’ s radiation exposure limits set forth for an uncontrolled environment” This device complies with Part 15 of the FCC Rules. Operation is subject to the following two conditions : (1) this device may not cause harmful interference, and (2) this device must accept any interference received, including interference that may cause undesired operation.
























