D RR ORION 1000 Achromatic Refractor Telescope

THANK YOU very much for choosing a quality product from DÖRR.
Please read the instruction manual and the safety instructions carefully before using the device for the first time.
Keep this instruction manual together with the device for later use. If other people use this device, provide them with this instruction manual. If you sell the device, the instruction manual is part of the device and must be supplied with it.
DÖRR is not liable for damage caused by improper use or failure to observe the instruction manual and safety instructions.
In the event of damage caused by improper handling or by external influence, the guarantee or warranty becomes void. Manipulation, structural alteration of the product, as well as opening the housing by the user or unauthorised third parties, is considered improper handling.
SAFETY INSTRUCTIONS
ATTENTION! The following safety instructions must be observed before use:
- NEVER look directly at or near the sun through this telescope or through the viewfinder! There is a risk of blindness!
- The telescope is not a toy! Children must not use the telescope without adult supervision. Keep the tele- scope, accessories and packaging materials away from children and pets to prevent accidents and suffocation.
- People with physical or cognitive disabilities should operate the telescope under guidance and supervision.
- Please note that light shining through the eyepiece is highly focused and can generate a great deal of heat. Therefore, make sure that the telescope is not pointed at easily flammable materials. After use,please attach the protective eyepiece cap.
- Protect the telescope from rain, moisture, direct sunlight and extreme temperatures.
- Make sure that the telescope is placed on a solid surface so that it cannot tip over.
- Protect the telescope from impacts. Do not use the telescope if it has been dropped.
- If the telescope is defective or damaged, do not attempt to disassemble or repair the telescope yourself. Please contact your specialist dealer.
- Protect the telescope from dirt. Do not clean the telescope with petrol or harsh cleaning agents. We recommend using a lint-free, slightly damp microfibre cloth to clean the outer components of the telescope.
- Store the device in a dust-free, cool, dry place.
- This telescope is for private use only and is designed for observing nature and the sky.
- Respect the privacy of others: do not use this telescope to look into other people‘s homes.
DISPOSAL
Please dispose of old appliances and packaging in an environmentally friendly manner and according to type. Sorting waste for separate collection and sensible recycling of packaging waste helps to use natural resources more sparingly. Furthermore, recycling is a contribution to preserving our environment and thus also people‘s health. Further information on the current legal regulations, proper disposal, recycling and collection points can be obtained from local authorities, waste disposal companies and specialised retailers.
OVERVIEW
ORION 1000
- A Dust Cab/ Mask (Remove before Viewing)
- B Focus Tube
- C Finderscope
- D Finderscope Bracket
- E Finderscope Adjustment Screws
- F Eyepiece
- G Focus Knob
- H Piggyback Bracket
- I Telescope Main Body
- J Primary Mirror Position
- Mounting Plate (200 mm/1000 mm)
- R.A. Control Knob
- Polarscope Holder (not shown)
- Altitude Adjustment T-bolts
- Azimuth Adjustment Knob
- Counterweight
- Counterweight Thumb Screw
- Counterweight Rod
- R.A. Lock Knob
- DEC. Lock Knob
- DEC. Control Knob
- Tube Rings
- a Tripod Leg
- b Accessory Tray
ASSEMBLY INSTRUCTIONS ORION 1000 WITH EQ5 MOUNT
TRIPOD SET UP
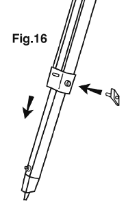
Adjusting the tripod legs (Fig.16)
- Slowly loosen the height adjustment clamp and gently pull out the lower section of each tripod leg. Tighten the clamps to hold the legs in place.
- Spread the tripod legs apart to stand the tripod upright.
- Adjust the height of each tripod leg until the tripod head is properly leveled. Note that the tripod legs may not be at same length when the equatorial mount is level.
Attaching the accessory tray (Fig.17)
Place the accessory tray on top of the bracket, and secure with the locking thumb screws from underneath.
Attaching mount to tripod (Fig.18)
Align metal dowel on the tripod head with the gap between the azimuthal adjustment knobs underneath the mount. Tigh-ten the knurled knob underneath the tripod head to secure mount to tripod.
Note: Loosen the azimuthal adjustment knobs if mount does not fit into tripod head completely.
Retighten knobs to secure.
TELESCOPE ASSEMBLY
Installing counterweight (Fig.19, 20)

- Locate counterweight rod.
- Screw counterweight rod into threaded hole on the end of the declination shaft. Tighten locknut on the counterweight rod until it is locked against the mount. Unscrew the threaded cap from the end of the counterweight rod.
- Locate the counterweights and slide them halfway along the counterweight rod. Tighten the counterweight thumb screws to secure.
- Replace the cap on the end of the counterweight rod.
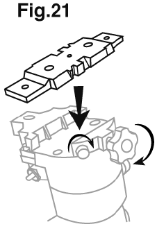
Attaching the mounting plate (Fig.21, 22)

Position the mounting plate on the mounting bracket, secure by tightening the two locking screws.
Note: The screws should align with the grooves in the side of the mounting bar.
Attaching the tube rings to the mount (Fig.23)
- Remove the telescope tube assembly from its plastic packaging.
- Remove the tube rings from the telescope by releasing their thumb nuts and opening their hinges.
- Using the bolts provided, fasten the tube rings to the mount with the 10mm wrench provided.
Attaching the telescope main body to the tube rings (Fig.24)
- Remove the telescope tube from the paper covering.
- Find the center of balance of the telescope tube. Place this in between the two tube rings. Close the hinges around the telescope and fasten securely by tightening the thumb nuts.
FINDERSCOPE/ RED DOT FINDER (OPTIONAL) ASSEMBLY
Attaching the finderscope bracket/ the red dot finder (optional) (Fig.25)
- Locate the finderscope optical assembly.
- Slide the finderscope bracket into the rectangular slot and tighten the screw to hold the mount in place.
EYEPIECE ASSEMBLY
Inserting the eyepiece (Fig.29, 30)

- Unscrew the thumbscrews on the end of the focus tube to remove the black plastic end-cap.
- Re-tighten thumb screws to hold the eyepiece in place.
CAUTION: Do not aim the sun with the finderscope. You eyes can be seriously damaged.
OPERATING YOUR TELESCOPE
ALIGNING THE FINDERSCOPE
These fixed magnification scopes mounted on the optical tube are very useful accessories. When they are correctly aligned with the telescope, objects can be quickly located and brought to the centre of the field. Alignment is best done outdoors in day light when it’s easier to locate objects. If it is necessary to refocus your finderscope, sight on an object that is at least 500 yards (metres) away. Loosen the locking ring by unscrewing it back towards the bracket. The front lens holder can now be turned in and out to focus. When focus is reached, lock it in position with the locking ring (Fig.a).
- Choose a distant object that is at least 500 yards away and point the main telescope at the object. Adjust the telescope so that the object is in the centre of the view in your eyepiece.
- Check the finderscope to see if the object centred in the main telescope view is centred on the crosshairs.
- Adjust the two small screws to centre the finderscope crosshairs on the object (Fig.a1).

USING THE RED DOT FINDER (OPTIONAL)
The Red Dot Finder is a zero magnification pointing tool that uses a coated glass window to superimpose the image of a small red dot onto the night sky. The Red Dot Finder is equipped with a variable brightness control, azimuth adjustment control, and altitude adjustment control (Fig.b). The Red Dot Finder is powered by a 3-volt lithium battery located under-neath at the front. To use the Finder, simply look through the sight tube and move your telescope until the red dot merges with the object. Make sure to keep both eyes open when sighting.
Aligning the red dot finder
Like all finderscopes, the Red Dot Finder must be properly aligned with the main telescope before use. This is a simple process using the azimuth and altitude control knobs.
- Open the battery cover by pulling it down (you can gently pry at the 2 small slots) and remove the plastic shipping cover over the battery (Fig.b1).

- Turn on the Red Dot Finder by rotating the variable brightness control clockwise until you hear a “click”. Continue rotating the control knob to increase the brightness level.
- Insert a low power eyepiece into the telescope’s focuser. Locate a bright object and position the telescope so that the object is in the centre of the field of view.
- With both eyes open, look through the sight tube at the object. If the red dot overlaps the object, your Red Dot Finder is perfectly aligned. If not, turn its azimuth and altitude adjustment controls until the red dot is merged with the object.
BALANCING THE TELESCOPE
A Telescope should be balanced before each observing session. Balancing reduces stress on the telescope mount and al-lows precise control of micro-adjustment. A balanced telescope is specially critical when using the optional clock drive for astrophotography. The telescope should be balanced after all accessories (eye-piece, camera, etc.) have been attached. Before balancing your telescope, make sure that your tripod is balanced and on a stable surface. For photography, point the telescope in the direction you will be taking photos before performing the balancing steps.
R.A. Balancing
- For best results, adjust the altitude of the mount to between 15º and 30º if possible, by using the altitude adjustment T- bolt.
- Slowly unlock the R.A. and DEC. lock knobs. Rotate the telescope until both the optical tube and the counterweight rod are horizontal to the ground, and the telescope tube is to the side of the mount (Fig.c).

- Tighten the DEC. lock knob.
- Move the counterweight(s) along the counterweight rod until the telescope is balanced and remains stationary when released.
- Tighten the counterweight thumb.
DEC. Balancing
All accessories should be attached to the telescope before balancing around the declination axis. The R.A. balancing should be done before proceeding with DEC. balancing.
- For best results, adjust the altitude of the mount to between 60° and 75° if possible.
- Release the R.A. lock knob and rotate around the R.A. axis so that the counterweight rod is in a horizontal position. Tighten the R.A. lock knob.
- Unlock the DEC. lock knob and rotate the telescope tube until it is parallel to the ground.
- Slowly release the telescope and determine in which direction it rotates. Loosen the telescope tube rings and slide the telescope tube forward or backward in the rings until it is balanced.
- Once the telescope no longer rotates from its parallel starting position, re-tighten the tube rings and the DEC. lock knob. Reset the altitude axis to your local latitude.
USING THE LEVELING BUBBLE
For best telescope performance, the equatorial mount should be properly leveled. A level tripod allows easier fine adjust-ment of controls and better weight distribution. This equatorial mount includes a small leveling bubble near its base (Fig.d). Adjust the height of each tripod leg until the bubble appears in the center of the circle. Note that the tripod legs may not be at same length when the equatorial mount is level.
OPERATING THE EQ5 MOUNT ORION 1000
The EQ5 mount has controls for both conventional altitude (up-down) and azimuth (left-right) directions of motion. These two adjustments are suggested for large direction changes and for terrestrial viewing. The two azimuth adjustment knobs located near the tripod head allow fine-adjustment of azimuth for polar alignment. Use the altitude adjustment T-bolts for altitude adjustments. These allow fine-adjustment for setting the mount to your local latitude (Fig.f). In addition, this mount has Right Ascension (hour angle) and declination direction controls for polaraligned astronomical observing. Loo-sen the lock knobs to make large direction changes. Use the control cables for fine adjustment after the lock knobs have both been locked (Fig.f1). An additional scale is included for the altitude axis. This allows polar alignment for your local latitude (Fig.e2). 


USING THE BARLOW LENS
A Barlow is a negative lens which increases the magnifying power of an eyepiece, while reducing the field of view. It ex-pands the cone of the focussed light before it reaches the focal point, so that the telescope’s focal length appears longer to the eyepiece. The Barlow is inserted between the focuser and the eyepiece in a reflector. With some telescopes, it can also be inserted between the focuser and the diagonal, and in this position it gives even greater magnification. For example, a 2x Barlow when inserted after the diagonal can become 3x when placed in front of the diagonal. In addition to increasing magnification, the benefits of using a Barlow lens include improved eye relief, and reduced spherical aberration in the eyepiece. For this reason, a Barlow plus a lens often outperform a single lens producing the same magnification. However, it is greatest value may be that a Barlow can potentially double the number of eyepieces in your collection.
CAUTION!
Observations of the sun are extremely dangerous. Do not use this telescope for sun observation. The optical ele-ments have the effects of a burning glass and will blind you! The ideal way to make safe sun observations is the usage of a special sun filter foil, which is fixed at the front end of the telescope. The foil absorbs 99.9% of the sunlight.
FOCUSING
Slowly turn the focus knobs under the focuser, one way or the other, until the image in the eyepiece is sharp (Fig.h). The image usually has to be finely refocused over time, due to small variations caused by temperature changes, flexures, etc. This often happens with short focal ratio telescopes, particularly when they haven’t reached outside temperature yet. Refocusing is almost always necessary when you change an eyepiece or add or remove a Barlow lens.
POLAR ALIGNMENT
In order for your telescope to track objects in the sky you have to align your mount. This means tilting the head over so that it points to the North (or South) celestial pole. For people in the Northern Hemisphere this is rather easy as the bright star Polaris is very near the North Celestial Pole. For casual observing, rough polar alignment is adequate. Make sure your equatorial mount is level and the red dot finder is aligned with the telescope before beginning.
Setting the latitude
Look up your latitude on a map, road maps are good for this purpose. Now look at the side of your mount head, there you will see a scale running from 0-90 degrees. At the base of the head, just above the legs, are two screws opposite each other under the hinge. All you have to do is loosen one side and tighten the other until your latitude is shown by the indicator pointer (Fig.i). Polaris, the “Pole Star” is less than one degree from the North Celestial Pole (NCP). Because it is not exactly at the NCP, Polaris appears to trace a small circle around it as the Earth rotates. Polaris is offset from the NCP, toward Cas-siopeia and away from the end of the handle of the Big Dipper (Fig.i1).

Aligning your telescope to Polaris
Unlock the DEC. lock knob and rotate the telescope tube until the pointer on the setting circle reads 90°. Retighten the DEC. lock knob. Move the tripod so that the “N” at the base of the equatorial mount faces north and the R.A. axis points roughly at Polaris. Use the two azimuth adjustment knobs above the “N” to make fine adjustments in azimuth if needed (Fig. i2). For more accurate allignment, look through the finderscope and centre the Polaris on the crosshairs. Along the R.A. axis shaft, the farther away from the back of the shaft that you are the more accurate you will be (Fig.i3). Even though the true celestial pole may be up to twice the moon’s diameter away (Polaris circles the pole once a day) you won’t find this a problem unless you are doing long exposure photography. After a while you will notice your target drifting slowly North or South depending on the direction of the pole relative to Polaris. To keep the target in the center of the view, turn only the R.A. slow-motion cable. After your telescope is polar aligned, no further adjustments in the azimuth and latitude of the mount should be made in the observing session, nor should you move the tripod. Only movements in R.A. and DEC. axis should be made in order to keep an object in the field.

Southern Hemisphere
In the Southern Hemisphere you must align the mount to the SCP by locating its position with star patterns, without the convenience of a nearby bright star. The closest star is the faint 5.5-mag. Sigma Octanis which is about one degree away. Two sets of pointers which help to locate the SCP are alpha and beta Crucis (in the Southern Cross) and a pointer running at a right angle to a line connecting alpha and beta Centauri (Fig.i4).
TRACKING CELESTIAL OBJECTS
When observing through a telescope,astronomical objects appear to move slowly through the telescope’s field of view. When the mount is correctly polar aligned, you only need to turn the R.A. slow-motion to follow or track objects as they move through the field. The DEC. slow-motion control is not needed for tracking. A R.A. motor drive can be added to auto-matically track celestial objects by counteracting the rotation of the Earth. The rotation speed of the R.A. drive matches the Earth’s rotation rate for stars to appear stationary in the telescope eyepiece. Different tracking speeds are also available in some models. A second drive can be added to give DEC. control which is very useful for doing astrophotography.
USING THE SETTING CIRCLES
The quickest way to find objects is to learn the Constellations and use the finderscope, but if the object is too faint you may want to use setting circles on an equatorial mount. Setting circles enable you to locate celestial objects whose celestial co-ordinates have been determined from star charts. Your telescope must be Polar aligned and the R.A. setting circle must be calibrated before using the setting circles.
Reading the R.A. setting circle
The telescope’s R.A. setting circle is scaled in hours, from 1 through 24, with small lines in between representing 10 minute increments. The upper set of numbers apply to viewing in the Northern Hemisphere, while the numbers below them apply to viewing in the Southern Hemisphere. The section next to the set crew is scaled in minutes, from 1 through 10, representing the exact minute within the 10 minute increments. In the case of Fig.j, the R.A. setting circle pointer indicates approximately 8 hours and 20 minutes. Now look for the number in the minute scale that aligns with any line on the main R.A. setting circle. In this case, it is 1. The reading on this R.A. setting circle, therefore, is 8 hours and 21 minutes.
Setting (calibrating) the R.A. setting circle
In order to set your Right Ascension circle you must first find a star in your field of view with known coordinates. A good one would be the 0.0 magnitude star Vega in the Constellation Lyra. From a star chart we know the R.A. coordinate of Vega is 18h 36m. Loosen the R.A. and DEC. lock knobs on the mount and adjust the telescope so that Vega is centred in the field of view of the eyepiece. Tighten the R.A. and DEC. lock knobs to lock the mount in place. Now rotate the R.A. setting circle until it reads 18h36m. You are now ready to use the setting circles to find objects in the sky.
Finding objects using the setting circles
Example: Finding the faint planetary nebula M57; “The Ring” From a star chart, we know the coordinates of the Ring are DEC. 33º and R.A. 18h52m. Unlock the DEC. lock knob and rotate your telescope in DEC. until the pointer on the DEC. setting circle reads 33º. Re-tighten the DEC. lock knob. Loosen the R.A. lock knob and rotate the telescope in R.A. until the pointer on the R.A. setting circle reads 18h52m (do not move the R.A. circle). Re-tighten the R.A. lock knob. Now look through the Red Dot Finder to see if you have found M57. Adjust the telescope with R.A. and DEC. flexible cables until M57 is centred in the Red Dot Finder. Now look through the telescope using a low power eyepiece. Centre M57 in the field of view of the eyepiece. If you are familiar with the night sky, it is so-metimes convenient to find an object using only the DEC. coordinate. Loosen the DEC. lock knob and rotate the telescope in DEC. until the pointer on the DEC. setting circle reads 33º. Re-tighten the DEC. lock knob. Now traverse through Lyra in R.A. axis until M57 appeares in the field of view. The setting circles will get you close to the object you wish to observe, but are not accurate enough to put it in the centre of your Red Dot Finder’s field of view. The accuracy of your setting circles also depends on how accurate your telescope is polar aligned.
USING THE POLARSCOPE (OPTIONAL)
The Polar Alignment Finderscope or ‘polarscope’ gives Northern Hemisphere users a convenient tool for pointing at the NCP. It has a large circle circumscribing the path of Polaris, with the NCP located at the crosshair, and it has a smaller circle to indicate the direction of Polaris. However, the Earth rotates and the orientation of the stars changes, so a method is needed to obtain the correct alignment of Polaris in the polarscope, for the date and time of your viewing session.
Aligning the polarscope to the mount´s polar axis
This is most easily done by pointing at a terrestrial target with the RA drive turned off. To allow full rotation around the RA axis, remove the telescope and the counterweight, including the rod. Unlock the DEC. clutch and rotate to Dec 0°, then lock the DEC. clutch. Remove the cap from the bottom of the RA axis shaft and the plug from the top (Fig.k, EQ5 shown here).
At the bottom of the polar shaft is a black, 24-hour clock dial. The top row of numbers is for Northern Hemisphere use, the lower for the Southern Hemisphere. Unlock the setscrew just above it and rotate the dial until zero is aligned with the indicator cast into the metal just below the screw. Tighten the setscrew to lock the dial (Fig.k1). The silver dial just below it is a calendar dial. The months are numbered 1-12. The longest lines separate the months, the middle-length lines are ten days apart, and the short lines between them are two days apart. The black collar holding this silver dial in place, has an indicator line inscribed on it. The numbers nearest this collar are marked “E 20 10 0 10 20 W”. These will be explained later, but for now rotate the silver dial until the middle zero is aligned with the indicator line on the black collar. At midnight on November 1, on the Central Meridian of your local time zone, Polaris is directly above the NCP. It is therefore directly below when viewed through the inverted view of the polarscope. This provides a good way to orient the polarscope in the mount.

Unlock the R.A. clutch and rotate the mount in R.A. until ‘November 1’ (long line between 10 and 11) on the calendar dial is lined up with ‘0’ (midnight) on the 24-hour clock dial, then lock the clutch again (Fig.k2). Loosen the three polarscope alignment screws. Look into the polarscope and you will see a crosshair with a circle surrounding it and a smaller circle off on one of the arms (Fig.k3). Turn the polarscope until the little offset circle is at the bottom and then slide it into the polar-scope holder, lined up with the zero on the clock dial. Insert the polarscope far enough so that later it will not interfere with the protective cap. Once you have it inserted you will have to centre it. The easiest way to do this is to lower the mount head in azimuth and sight on a distant object in daylight. This may involve taking out the latitude t-screw, shortening one leg, or both to get the head down low enough. After you have done this unlock the R.A. clutch again and rotate the mount back and forth in R.A. while keeping your target in view. The idea is to gently tweak the three alignment screws, while rotating the mount, until the target remains at the centre of rotation. This shouldn’t take long and after that keep the plastic cap on to protect it from getting bumped off alignment. Set the azimuth of the mount back to the correct latitude.
Using the polarscope
- Now about the numbers “E 20 10 0 10 20 W”. First, you need to find your present Longitude. You can do this by con-sulting a map, chart, GPS, etc. The idea is to find how far east or west your viewing site is from the reference meridian for your time zone. For example, the Longitude of Vancouver, BC is 123° and the reference meridian for the Pacific Time Zone is 120°, so the setting will be 3° W. The lines on the dial are 5° apart so rotate the silver dial until the indicator on the black collar points between the zero and 5° line. If you observe from a significantly different longitude, this setting will have to be changed.
- At your viewing site, set the mount (without weights and scope) facing North. Adjust it to a convenient height for viewing and carefully level it. Unlock the DEC. clutch and rotate to DEC. 0°, then lock the DEC. clutch. Remove the cap from the bottom of the RA axis shaft and the plug from the top.
- Set the black 24-hour clock dial so that the hour ‘0’ aligns with the top indicator, and lock it in place with the setscrew. Remember this dial is a clock face running from 0-23 hours. Northern hemisphere users use the top row of numbers and all times are in Standard Time. Do not use Daylight Saving Time for the following setting
- Unlock the R.A. clutch, and rotate the mount in R.A. until the current date on the silver calendar dial, is aligned with the current time using the black 24-hour clock dial (Standard Time), then lock the R.A. clutch.
- Using only the latitude adjustment t-screws for up and down, and the azimuth adjustment off-set screws on the north side of your mount for left-right, centre Polaris in the little offset circle. You may have to shine your red flashlight at an angle across the front to illuminate the crosshair or better yet have a friend hold the light while you do the adjustments.
- Lastly, loosen the top setscrew, unlock the R.A. clutch, put on the counterweights and then the scope and finally adjust the balance position of the counterweight.
POINTING YOUR TELESCOPE TO CELESTIAL OBJECTS
A German Equatorial mount has an adjustment, sometimes called a wedge, which tilts the mount’s polar axis so that it points at the appropriate Celestial Pole (NCP or SCP). Once the mount has been polar aligned, it needs to be rotated around only the polar axis to keep an object centred. Do not reposition the mount base or change the latitude setting. The mount has already been correctly aligned for your geographical location (ie. Latitude), and all remaining telescope pointing is done by rotating the optical tube around the polar (R.A.) and declination axes. A problem for many beginners is recognizing that a polar-aligned, equatorial mount acts like an alt-azimuth mount which has been aligned to a celestial pole. The wedge tilts the mount to an angle equal to the observer’s Latitude, and therefore it swivels around a plane which parallels the celestial (and Earth’s) equator (Fig.m). This is now its “horizon”; but remember that part of the new horizon is usually blocked by the Earth. This new “azimuth” motion is called Right Ascension (R.A). In addition, the mount swivels North(+) and South(-) from the Celestial Equator towards the celestial poles. This plus or minus “altitude” from the celestial equator is called Declination (Dec).
Pointing to the NCP
For the following examples, it is assumed that the observing site is in the Northern Hemisphere. In the first case (Fig.n2), the optical tube is pointing to the NCP. This is its probable position following the polar-alignment step. Since the telescope is pointing parallel to the polar axis, it still points to the NCP as it is rotated around that axis counter-clockwise, (Fig.n1) or clockwise (Fig.n3).

Pointing toward the western or eastern horizon
Now, consider pointing the telescope to the western (Fig.o1) or eastern (Fig.o2) horizon. If the counterweight is pointing North, the telescope can be swivelled from one horizon to the other around the Dec axis in an arc that passes through the NCP (any Dec arc will pass through the NCP if the mount is polar-aligned). It can be seen then that if the optical tube needs to be pointed at an object north or south of this arc, it has to be also rotated around the R.A axis.
Pointing to directions other than due North
Pointing in any direction other than due North requires a combination of R.A. and Dec positions (Fig.p). This can be visua-lized as a series of Dec arcs, each resulting from the position of rotation of the R.A. axis. In practice however, the telescope is usually pointed, with the aid of a finderscope, by loosening both the R.A. and Dec locks and swivelling the mount around both axes until the object is centred in the eyepiece field. The swivelling is best done by placing one hand on the optical tube and the other on the counter-weight bar, so that the movement around both axes is smooth, and no extra lateral force is applied to the axisbearings. When the object is centred, make sure the R.A and Dec locks are both retightened to hold the object in the field and allow tracking by adjusting only in R.A.
Pointing at an object
Pointing at an object, for example to the South (Fig.q), can often be achieved with the optical tube positioned on either side of the mount. When there is a choice of sides, particularly when there could be a long observing period, the East side (Fig. q2) should be chosen in the Northern Hemisphere because tracking in R.A. will move it away from the mount’s legs. This is particularly important when using an R.A motor, because if the optical tube jambs against the mount’s legs, it can result in damage to the motor and/or the gears.
Telescopes with long focal lengths often have a “blind spot” when pointing near the zenith, because the eye-piece-end of the optical tube bumps into the mount’s legs (Fig.r1). To adapt for this, the optical tube can be very carefully slipped up inside the tube rings (Fig.r2). This can be done safely because the tube is pointing almost vertically, and therefore moving it does not cause a Dec-balance problem. It is very important to move the tube back to the Dec-balanced position before observing other sky areas. Something which can be a problem is that the optical tube often rotates so that the eyepiece, finderscope and the focussing knobs are in less convenient positions. The diagonal can be rotated to adjust the eyepiece. However, to adjust the positions of the finderscope and focussing knobs, loosen the tube rings holding the optical tube and gently rotate it. Do this when you are going to view an area for while, but it is inconvenient to do every time you briefly go to a new area. Finally, there are a few things to consider to ensure that you are comfortable during the viewing session. First is setting the height of the mount above the ground by adjusting the tripod legs. You must consider the height that you want your eyepiece to be, and if possible plan on sitting on a comfortable chair or stool. Very long optical tubes need to be mounted higher or you will end up crouching or lying on the ground when looking at objects near the zenith. On the other hand, a short optical tube can be mounted lower so that there is less movement due to vibration sources, such as wind. This is something that should be decided before going through the effort of polar aligning the mount.

CHOOSING THE APPROPRIATE EYEPIECE
CALCULATING THE MAGNIFICATION (POWER)
The magnification produced by a telescope is determined by the focal length of the eyepiece that is used with it. To deter-mine a magnification for your telescope, divide its focal length by the focal length of the eyepieces you are going to use. For example, a 10mm focal length eyepiece will give 80X magnification with an 800mm focal length telescope.
When you are looking at astronomical objects, you are looking through a column of air that reaches to the edge of space and that column seldom stays still. Similarly, when viewing over land you are often looking through heat waves radiating from the ground, house, buildings, etc. Your telescope may be able to give very high magnification but what you end up magnifying is all the turbulence between the telescope and the subject. A good rule of thumb is that the usable magnifica-tion of a telescope is about 2x per mm of aperture under good conditions.
CALCULATING THE FIELD OF VIEW
The size of the view that you see through your telescope is called the true (or actual) field of view and it is determined by the design of the Eyepiece. Every eyepiece has a value, called the apparent field of view, which is supplied by the manufacturer. Field of view is usually measured in degrees and/or arc-minutes (there are 60 arc-minutes in a degree). The true field of view produced by your telescope is calculated by dividing the eyepiece’s apparent field of view by the magnification that you previously calculated for the combination. Using the figures in the previous magnification example, if your 10mm eyepiece has an apparent field of view of 52 degrees, then the true field of view is 0.65 degrees or 39 arc-minutes.
To put this in perspective, the moon is about 0.5° or 30 arc-minutes in diameter, so this combination would be fine for viewing the whole moon with a little room to spare. Remember, too much magnification and too small a field of view can make it very hard to find things. It is usually best to start at a lower magnification with its wider field and then increase the magnification when you have found what you are looking for. First find the moon then look at the shadows in the craters!
CALCULATING THE EXIT PUPIL
The Exit Pupil is the diameter (in mm) of the narrowest point of the cone of light leaving your telescope. Knowing this value for a telescope-eyepiece combination tells you whether your eye is receiving all of the light that your primary lens or mirror is providing. The average person has a fully dilated pupil diameter of about 7mm. This value varies a bit from person to person, is less until your eyes become fully dark adapted and decreases as you get older. To determine an exit pupil, you divide the diameter of the primary of your telescope (in mm) by the magnification.
For example, a 200mm f/5 telescope with a 40mm eyepiece produces a magnification of 25x and an exit pupil of 8mm. This combination can probably be used by a young person but would not be of much value to a senior citizen. The same telescope used with a 32mm eyepiece gives a magnification of about 31x and an exit pupil of 6.4mm which should be fine for most dark adapted eyes. In contrast, a 200mm f/10 telescope with the 40mm eyepiece gives a magnification of 50x and an exit pupil of 4mm, which is fine for everyone.
OBSERVING THE SKY
SKY CONDITIONS
Sky conditions are usually defined by two atmospheric characteristics, seeing, or the steadiness of the air, and transparen-cy, light scattering due to the amount of water vapour and particulate material in the air. When you observe the Moon and the planets, and they appear as though water is running over them, you probably have bad “seeing” because you are ob-serving through turbulent air. In conditions of good “seeing”, the stars appear steady, without twinkling, when you look at them with unassisted eyes (without a telescope). Ideal “transparency” is when the sky is inky black and the air is unpolluted.
SELECTING AN OBSERVING SITE
Travel to the best site that is reasonably accessible. It should be away from city lights, and upwind from any source of air pollution. Always choose as high an elevation as possible; this will get you above some of the lights and pollution and will ensure that you aren’t in any ground fog. Sometimes low fog banks help to block light pollution if you get above them. Try to have a dark, unobstructed view of the horizon, especially the southern horizon if you are in the Northern Hemisphere and vice versa. However, remember that the darkest sky is usually at the “Zenith”, directly above your head. It is the shortest path through the atmosphere. Do not try to observe any object when the light path passes near any protrusion on the ground. Even extremely light winds can cause major air turbulence as they flow over the top of a building or wall.
Observing through a window is not recommended because the window glass will distort images considerably. And an open window can be even worse, because warmer indoor air will escape out the window, causing turbulence which also affects images. Astronomy is an outdoor activity.
CHOOSING THE BEST TIME TO OBSERVE
The best conditions will have still air, and obviously, a clear view of the sky. It is not necessary that the sky be cloud-free. Often broken cloud conditions provide excellent seeing. Do not view immediately after sunset. After the sun goes down, the Earth is still cooling, causing air turbulence. As the night goes on, not only will seeing improve, but air pollution and ground lights will often diminish. Some of the best observing time is often in the early morning hours. Objects are best observed as they cross the meridian, which is an imaginary line that runs through the Zenith, due North-South. This is the point at which objects reach their highest points in the sky. Observing at this time reduces bad atmospheric effects. When observing near the horizon, you look through lots of atmosphere, complete with turbulence, dust particles and increased light pollution.
COOLING THE TELESCOPE & ADAPTING YOUR EYES
Telescopes require at least 10 to 30 minutes to cool down to outside air temperature. This may take longer if there is a big difference between the temperature of the telescope and the outside air. This minimizes heat wave distortion inside telescope tube (tube currents). Allow a longer cooling time for larger optics. If you are using an equatorial mount, use this time for polar alignment.
Do not expose your eyes to anything except red light for 30 minutes prior to observing. This allows your pupils to expand to their maximum diameter and build up the levels of optical pigments, which are rapidly lost if exposed to bright light. It is important to observe with both eyes open. This avoids fatigue at the eyepiece. If you find this too distracting, cover the non-used eye with your hand or an eye patch. Use averted vision on faint objects: The center of your eye is the least sensitive to low light levels. When viewing a faint object, don’t look directly at it. Instead, look slightly to the side, and the object will appear brighter.
CARE AND MAINTENANCE FOR YOUR TELSCOPE
COLLIMATING A NEWTONIAN REFLECTOR
Collimation is the process of aligning the mirrors of your telescope so that they work in concert with each other to deliver properly focused light to your eyepiece. By observing out-of-focus star images, you can test whether your telescope’s op-tics are aligned. Place a star in the centre of the field of view and move the focuser so that the image is slightly out of focus. If the seeing conditions are good, you will see a central circle of light (the Airy disc) surrounded by a number of diffraction rings. If the rings are symmetrical about the Airy disc, the telescope’s optics are correctly collimated (Fig.s).
If you do not have a collimating tool, we suggest that you make a “collimating cap” out of a plastic 35mm film canister (black with gray lid). Drill or punch a small pinhole in the exact center of the lid and cut off the bottom of the canister. This device will keep your eye centered of the focuser tube. Insert the collimating cap into the focuser in place of a regular eyepiece.
Collimation is a painless process and works like this: Pull off the lens cap which covers the front of the telescope and look down the optical tube. At the bottom you will see the primary mirror held in place by three clips 120º apart, and at the top the small oval secondary mirror held in a support and tilted 45º toward the focuser outside the tube wall (Fig.s1). The secondary mirror is aligned by adjusting the three smaller screws surrounding the central bolt. The primary mirror is adjusted by the three adjusting screws at the back of your scope. The three locking screws beside them serve to hold the mirror in place after collimation. (Fig.s2).


ALIGNING THE SECONDARY MIRROR
Point the telescope at a lit wall and insert the collimating cap into the focuser in place of a regular eyepiece. Look into the focuser through your collimating cap. You may have to twist the focus knob a few turns until the reflected image of the focuser is out of your view. Note: keep your eye against the back of the focus tube if collimating without a collimating cap. Ignore the reflected image of the collimating cap or your eye for now, instead look for the three clips holding the primary mirror in place. If you can’t see them (Fig.s3), it means that you will have to adjust the three bolts on the top of the secon-dary mirror holder, with possibly an Allen wrench or Phillip’s screwdriver. You will have to alternately loosen one and then compensate for the slack by tightening the other two. Stop when you see all three mirror clips (Fig.s4). Make sure that all three small alignment screws are tightened to secure the secondary mirror in place

ALIGNING THE PRIMARY MIRROR
- Find the three locking screws at the back of your telescope and loosen them by a few turns.
- If you see 3 large nuts protruding from the back of your telescope and 3 small Phillip’s-head screws besides them, the Phillip’s-head screws are the locking screws and the large nuts are the adjusting screws.
- If you see 6 Phillip’s-head screws but 3 protruding from the back of your telescope, the 3 protruding screws are locking screws and the ones next to them are adjusting screws.
- If you see 3 hex bolts and 3 Phillip’s head screws, the hex bolts are the locking screws and the Phillip’s-head screws are the adjusting screws. You will need an Allen wrench to adjust the locking screws.
Now run your hand around the front of your telescope keeping your eye to the focuser, you will see the reflected image of your hand. The idea here being to see which way the primary mirror is defected, you do this by stopping at the point where the reflected image of the secondary mirror is closest to the primary mirrors’ edge (Fig.s5). When you get to that point, stop and keep your hand there while looking at the back end of your telescope, is there an adjusting screw there? If there is you will want to loosen it (turn the screw to the left) to bring the mirror away from that point. If there isn’t an adjusting screw there, then go across to the other side and tighten the adjusting screw on the other side. This will gradually bring the mirror into line until it looks like Fig.s6. (It helps to have a friend to help for primary mirror collimation. Have your partner adjust the adjusting screws according to your directions while you look in the focuser.) After dark go out and point your telescope at Polaris, the North Star. With an eyepiece in the focuser, take the image out of focus. You will see the same image only now, it will be illuminated by starlight. If necessary, repeat the collimating process only keep the star centered while tweaking the mirror.


SPECIFICATIONS
| Lens diameter | 200 mm |
| Focal length | 1000 mm |
| Focal ratio | 1:5 |
| Accessory mount | 1 ¹/4“ |
| Magnifications eyepieces | PL6,3 = 159x (318x*) PL10 = 100x (400x*) PL25 = 40x (80x*) *with achromatic barlow lens 2-times |
| Tube length | approx. 96 cm |
| Weight | approx. 29 kg |
CLEANING YOUR TELESCOPE
Replace the dust cap over the end of the telescope whenever it is not in use. This prevents dust from settling on the mirror or lens surfaces. Do not clean the mirror or lens unless you are familiar with optical surfaces. Clean the finderscope and eyepieces with special lens paper only. Eyepieces should be handled with care, avoid touching optical surfaces.
























