
OWNER’S MANUAL
Model: GI492H 120 V., 60 Hz, 1700 Watt
EURO-PRO Operating LLC
4 Main Mill Street, Door 16
Plattsburgh, NY 12901
Tel.: 1 (800) 798-7398
IMPORTANT SAFETY INSTRUCTIONS
When using your iron, basic safety precautions should always be followed, including the following:
1. Read all instructions carefully.
2. Use iron only for its intended use.
3. To protect against risk of electrical shock, do not immerse the iron in water or other liquids.
4. Never yank cord to disconnect from outlet. Grasp plug and pull to disconnect.
5. Do not allow cord to touch hot surfaces. Let iron cool completely before putting away.
6. Always disconnect iron from electrical outlet when filling with water, emptying, or when not in use.
7. Do not operate iron with a damaged cord, or after the iron has been dropped or damaged in any manner. To avoid the risk of electric shock, do not disassemble the iron. Return the iron to EURO-PRO Operating LLC for examination and repair. Incorrect reassembly can cause the risk of electric shock when the iron is used.
8. Close supervision is necessary for any appliance being used by or near children. Do not leave iron unattended while connected or on an ironing board.
9. Burns can occur from touching hot metal parts, hot water or steam. Use caution when you turn a steam iron upside down; there may be hot water in the reservoir.
10. Never use or rest iron on an unstable surface.
11. While the iron is hot, never set iron on an unprotected surface – even if it is on its heel rest.
12. CAUTION! TO PREVENT ELECTRIC SHOCK OR OTHER INJURY, before filling the iron with water, make sure that the plug is removed from the outlet.
13. WARNING: Never fill the iron with fabric conditioner, starches or any other solution, as these will damage the steam mechanism. Do not use contaminated water.
14. CAUTION! TO AVOID FIRE, never leave iron unattended while it is plugged in.
15. CAUTION! TO PREVENT ELECTRIC SHOCK, never use the iron in a location where it can fall or be pulled into water or another liquid. If the iron falls into water or other liquid, unplug it immediately. DO NOT reach into the water or liquid.
16. WARNING: Never use scouring pads, abrasive or chemical cleaners, or solvents to clean the exterior or soleplate of your iron. Doing so will scratch and/or damage the surface.
17. CAUTION! DO NOT aim iron at face, towards yourself, or anyone else while using or adjusting steam. Burns or serious injury may occur.
18. Always store your iron standing upright, not on the soleplate. If stored face down, even the smallest amount of moisture will cause the soleplate to corrode and stain.
19. This appliance is for household use only.
SPECIAL INSTRUCTIONS
1. To avoid a circuit overload, do not operate another high-wattage appliance on the same circuit.
2. If an extension cord is absolutely necessary, use a 15-ampere cord. Cords rated for less amperage may overheat. Use care to arrange the cord so that it cannot be pulled or tripped over.
POLARIZED PLUG: This appliance has a polarized plug (one blade is wider than the other). As a safety feature, this plug will fit into a polarized outlet only one way. If the plug does not fit fully into the outlet, reverse the plug. If it still does not fit, contact a qualified electrician. Do not attempt to defeat this safety feature.
SAVE THESE INSTRUCTIONS
GETTING TO KNOW YOUR IRON
Before using your 1700 Watt Steam Iron, remove any labels, stickers or tags that may be attached to the body or soleplate of the iron.
When turned on for the first time, your new iron may emit an odor for up to 10 minutes. This is due to the initial heating of the materials used in making the iron. The odor is safe and should not reoccur after initial heating.
Also, before ironing with steam for the first time, allow iron to heat, hold in a horizontal position and hit the burst of steam button several times. The iron may emit some small particles from the steam holes. This is normal and will clear after pressing the burst of steam button several times.


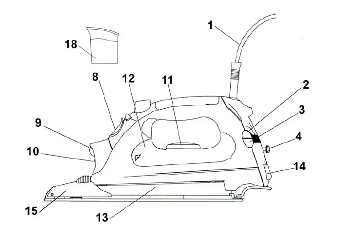
| 1. Power Supply Cord | 10. Spray Nozzle |
| 2. Auto Shut-Off Light | 11. Temperature Control Dial |
| 3. Temperature Ready Light | 12. Water Level Window |
| 4. Headlight Plunger Switch | 13. Stainless Steel Soleplate |
| 5. Variable Steam Control | 14. Iron Heel Rest |
| 6. Burst of Steam | 15. Supersize Soleplate |
| 7. Spray Button | 16. Soleplate Clip |
| 8. Water Filling Inlet Cover | 17. Soleplate Retaining Tabs |
| 9. Headlight | 18. Water Flask |
Technical Specifications
Voltage: 120V., 60Hz.
Power: 1700 Watts
FEATURES OF STEAM IRON WITH HEADLIGHT
1. BURST OF STEAM
The Burst of Steam provides extra, sudden blasts of steam which aid in removing stubborn wrinkles from fabrics such as denim, cotton or linen.
2. ATOMIZER SPRAY BUTTON
Pressing this Button provides a defined jet of spray which gently moistens fabric.
3.VARIABLE STEAM CONTROL
Minimum to maximum steaming for different materials. Self cleaning feature flushes internal sole plate with water.
4.TEMPERATURE CONTROL
Turn dial to select temperature. Main temperature settings are indicated by the 1, 2 and 3
dots. (See “Ironing Chart.”)
5. ANTI-DRIP FUNCTION
Built-in Anti-Drip feature helps reduce water spots by cutting of water flow when the iron temperature is too low to build sufficient steam.
6. WATER FILLING INLET
The cover prevents dust and foreign matter from entering the water tank. It also stops any water from spilling during ironing.
7. BUILT-IN ANTI-CALCIUM FILTER
Prevents calcium build-up and prolongs the life of the iron.
8. STAINLESS STEEL SOLEPLATE
Provides maximum glide-ability and heat retention.
9. PIVOT CORD
For left or right handed use. Pivots up and down; prevents dragging along the fabric. The flexible cord protector protects the cord from fraying.
10. SELF-CLEANING
Flushes internal soleplate with water.
11. HEADLIGHT
Shadow free ironing.
12. SUPERSIZE SOLEPLATE
Removable supersize soleplate requires fewer strokes when ironing large surfaces. 40%more coverage than regular size soleplates.
OPERATING INSTRUCTIONS
This appliance is for HOUSEHOLD USE ONLY and may be plugged into any 120V AC polarized electrical outlet. Do not use any other type of outlet.
BEFORE FIRST USE
Remove any labels, stickers or tags which may be attached to the body or the soleplate of the iron before using the iron.
Before you start using your iron, read all the instructions in the manual and do the following in order to eliminate any odor and small white residue particles and to ensure optimum steam performance.
1. Fill the iron with regular tap water. (See page6for filling instructions.)
2. Set the temperature control dial to its highest setting and the variable steam control to “0”.
3. When the temperature ready light goes off, the iron has reached the selected temperature. Set the variable steam control to the highest setting.
4. Keep the iron in a horizontal position and allow it to steam until the water runs out. Press the burst of steam button to eliminate white residue particles.
5. Repeat this procedure for two or three fillings of water.
DRY IRONING
All marked settings on the temperature dial can be used for dry ironing. Slide the variable steam control lever all the way down as shown in Figure 1. This will cut off the steam flow if water is in the tank.

1. Turn temperature dial to “MIN” and slide the variable steam control lever all the way down to “0”.
2. Plug the cord into a polarized, 120V AC electrical outlet. The power “ON” light will come on, indicating that the iron is receiving power.
3. Turn the temperature dial to the desired setting. (See “Ironing Guide” for a guide to temperature selection.)
4. Place iron on its heel (on a stable, protected surface) while iron is warming to desired temperature.
STEAM IRONING
CAUTION! DO NOT aim iron at face, towards yourself, or anyone else while using or adjusting steam. Burns or serious injury may occur.
WARNING! Before filling the iron with water, be sure the iron is not plugged into the electrical outlet. The iron may be filled with water while it is hot.
CAUTION! TO PREVENT THE RISK OF BURNS, use caution when filling iron with water. Burns can occur from touching hot metal parts, hot water, or steam.
NOTE: Because of the soleplate design, ordinary tap water may be used with this iron. However, in very hard water areas, we recommend using distilled or demineralized water.
WARNING: Never fill the iron with fabric conditioner, starches or any other liquid, as these will damage the steam mechanism. Do not use contaminated water.
1. Turn temperature dial to “••” or “•••” and slide the variable steam control to “0”.
2. Holding the iron at a slight angle, pour water slowly into the water filling inlet. See figure 2. Fill tank to desired level or to the “MAX” water level marking using the water filling flask. (When the iron is upright, see-through water tank allows you to gauge the amount of water.) DO NOT overfill the tank.

3. Plug the cord into a polarized, 120V AC electrical outlet.
4. Turn the temperature dial to any of the temperatures within the red steam band and allow the iron to heat for approximately 2 minutes before ironing. Place iron on its heel (on a stable, protected surface) while the iron is warming to desired temperature.
5. Slide the steam lever up to increase the amount of steam. (See figure 3) When using extra steam, the iron uses more water and it may be necessary to fill the tank more often. See page 6 for refilling the iron with water.

6. Steam is produced as soon as the iron is held in the horizontal position. Steam will stop coming out when the iron is put on its heel in a vertical position or by turning the steam control dial to “0”
BURST OF STEAM
WARNING! DO NOT aim iron at face, towards yourself, or anyone else while using or adjusting steam. Burns or serious injury may occur.
The burst-of-steam button is useful when ironing denim, cotton, and linens. It provides extra, sudden blasts of steam which aid in removing stubborn wrinkles.
The burst-of-steam feature can be used with Dry or Steam ironing as desired.
1. Make sure the water tank is at least 1/2 filled with water.
2. Set the temperature dial. Place the iron on its heel (on a stable, protected surface) and allow it to heat for approximately 2 minutes.
3. With the iron in a horizontal position, press the burst of steam button several times to prime the pump. See Figure 4.

NOTE: If the tank runs dry, remove the plug from wall outlet. Then, fill the iron with water and re-prime the pump. The iron may be filled with water while it is hot.
4. For vertical steam, press the burst of steam button while holding the iron in a vertical position. See figure 5. The vertical steam function is useful for steaming curtains and drapes while still hanging.

WATER SPRAY
The water spray is useful on fabrics with stubborn wrinkles. Press the spray button and a jet of water will spray onto the fabric being ironed.
See Figure 6. The water spray can be used with dry or steam ironing as desired.

SELECTING IRON TEMPERATURES
Always read garment labels and follow the manufacturer’s ironing instructions. Refer to the “Ironing Chart” on page 9 for temperature recommendations: See figures 7 & 8.
• Use low settings for synthetics.
•• Use moderate settings for wool, silks, and blends.
••• Use high settings for cottons and linens.

NOTE: Before starting to iron delicate fabrics, it is best to first test the temperature of the iron on a hem or an inside seam.
AUTOMATIC SHUT-OFF
The auto shut-off safety function of your Professional Iron is designed to engage after approx. 7 minutes of non-use. The auto shut-off indicator light will flash when the auto shut-off has activated. To reset your iron and continue ironing follow these steps. See figure 9.
1. Lift the iron.
2. Holding the iron horizontally in front of you, gently rock the iron back and forth several times. This motion will reset the safety switch inside the iron. Do Not Shake the Iron.
The red temperature ready light will illuminate when the auto shut-off system has been reset. Allow time for the iron to re-heat. The red temperature indicator light will go out when the iron is ready for use.

HEADLIGHT
The headlight is used for shadow free ironing.
To have the headlight on all the time, hold the headlight plunger switch, push it in a little and turn it clockwise. The headlight will turn off only when you place the iron on the heel rest. If you do not want the headlight on, hold the headlight plunger switch, push it in a little and turn if counter clockwise.
ATTACHING THE SUPER-SIZE SOLEPLATE
WARNING! Use caution when attaching the soleplate to the iron. Burns may occur from touching hot metal surfaces, hot water or steam.
1. Lift the soleplate clamp and place the iron on the soleplate making sure that the heel of the iron is fitted into the two retaining tabs on the back of the super-size soleplate.
2. Lower the nose of the iron and close the soleplate clamp to secure the iron in place. See figure 10.

3. To remove the super-size soleplate, lift the soleplate clamp and remove the iron.
IRONING HINTS
WARNING! To prevent fire, do not leave iron unattended while connected.
- Sort articles to be ironed according to the type of fabric. This will reduce the need to adjust the temperature for different types of garments.
- If you are not sure of the fiber content of a garment, test a small area such as a seam or inside hem section before ironing a visible area. Start with a low temperature setting and gradually increase to find the best setting.
- When reducing the temperature to iron sensitive fabrics, allow approximately 2 minutes for the iron to cool to the new temperature setting.
- Fabrics such as velour, wool, linen and silk are best ironed with an ironing cloth to prevent shine marks.
EMPTYING THE IRON
1. Always empty iron after each use.
2. When finished using the iron, turn the variable steam control to“0” and the temperature control dial to “MIN”.
3. Unplug the iron from the electrical outlet.
4. Set variable steam control to “MAX”.
5. Turn the iron upside down over the sink with the tip pointing downward and allow the water to flow from the opening. See figure 11.
6. Set variable steam control to “0”.
7. Allow iron to cool in an upright position before storing.
WARNING! Use caution when emptying the iron. Burns may occur from touching hot metal surfaces, hot water or steam.

SELF-CLEANING
In order to remove calcium and built-up particles, the self-cleaning system should be run at least once a month.
- Fill the water beaker provided halfway and then pour into the water reservoir.
- Set the variable steam control to the no steam position.
- Insert the main plug into the wall socket.
- Set the temperature control dial to the maximum temperature.
- Wait until the thermostat light goes off and steam iron has reached preset temperature.
- Remove the plug from the wall socket.
- Hold the steam iron horizontally over a sink.
- Turn the variable steam control to “Self-Clean ” position. Hot water and steam will be emitted from the soleplate. Swing the steam iron lightly back and forth gently to allow lime and dust particles to come out.
- When the water reservoir is empty, shift the variable steam control from “Self-Clean” position to “0”.
- Stand the iron upright and insert the plug into the wall socket to let the iron heat up again.
- Move the iron over a clean cotton cloth to clean the soleplate and let the remaining water on the soleplate evaporate.
ANTI-DRIP FEATURE
Built-in Anti-Drip feature helps reduce water spots by cutting of water flow when the iron temperature is too low to build sufficient steam. The anti drip function reduces water dripping and water stains. It does not prevent water dripping and water stains if you press the steam burst button too often or if the temperature is too low. The amount of water droplets will eventually decrease after the iron is used for 2 to 3 tankfuls of steaming and ironing.
STORAGE
1. Always turn the variable steam control to “0” after you have emptied the water tank.
2. Allow the iron to cool down.
3. Always store the iron in the upright position to protect the soleplate.
4. From time to time, clean the exterior of the iron with a damp cloth and wipe dry.
5. If you use spray starch, wipe the soleplate occasionally with a soft damp cloth to prevent the build-up of deposits.
6. If the iron has not been used for a few weeks, hold the iron horizontally and allow to steam for 2 minutes before ironing.
WARNING: The anti-drip function reduces water dripping and water stains. It does not prevent water dripping or water stains if you press the steam burst button too often or if temperature is too low. The amount of water droplets will eventually decrease after iron is used for 2 to 3 tankfuls of steaming and ironing.
IRONING CHART
NOTE: Before starting to iron delicate fabrics, it is best to first test the temperature of the iron on a hem or an inside seam.
To select iron temperature, align temperature selected on dial with the indicator on the water tank.

TROUBLESHOOTING
| PROBLEM | POSSIBLE REASONS & SOLUTIONS |
| Iron does not heat | • Iron should be plugged into a 120V AC electrical outlet only. Make sure that the plug is securely in the socket. • Temperature setting too low. Turn to higher setting. |
| Thermostat ready light goes On and Off | This is normal. The light goes On and Off as the thermostat is switching the heating element On and Off to maintain the selected temperature. |
| Some odor or small particles come out of steam vents of new iron | • This is normal. Follow instructions for first use and allow iron to steam through 2-3 fillings & press the steam burst button occasionally to eliminate small white particles. |
| Iron does not steam | • Water tank may be empty or water level is very low. Add water. • Make sure that the temperature control dial and the variable steam control are correctly set. Formaximum steam, (setting “Max” on steam control),temperature control dial should be set on “•••”. • Adjustable steam control is set on “0”.Always allow the iron to reach the selected temperature with the adjustable steam control setting at “0”. Make sure the temperature control dial is set in the correct steam area, e.g. “•”, and the steam control is noton “0”. For more steam, turn temperature dial to higher setting, e.g. “•••”, and the steam control to “Max”. • If temperature setting and steam control setting arecorrect and there is no steam, gentlytap the soleplate on the ironing board a few times. Movethe variable steam control from “0” to “Max” a fewtimes. |
| Water droplets coming from steam vents | • Iron may not be hot enough. Set thermostat to the”Max” position. Always allow iron sufficient time toheat up (thermostat light goes off) before activating the variable steam control. • Overuse of steam burst. Allow more time betweeneach burst. • Iron may have been overfilled. Turn iron off,emptywater and follow instructions for filling. • Steam performance may be low if iron requires seasoning. To season, use regular tap water for 1or 2 tanks until steam performance improves. |
LIMITED WARRANTY
ONE (1) YEAR LIMITED WARRANTY
EURO-PRO Operating LLC warrants this product to be free from defects in material and workmanship for a period of one (1) year from the date of the original purchase, when utilized for normal household use, subject to the following conditions, exclusions and exceptions.
If your appliance fails to operate properly while in use under normal household conditions within the warranty period, return the complete appliance and accessories, freight prepaid to
EURO-PRO Operating LLC, 94 Main Mill Street, Door 16, Plattsburgh, N.Y. 12901
If the appliance is found to be defective in material or workmanship, EURO-PRO Operating LLC will repair or replace it free of charge. Proof of purchase date and $ 9.95 to cover the cost of return shipping and handling must be included. *
The liability of EURO-PRO Operating LLC is limited solely to the cost of the repair or replacement of the unit at our option. This warranty does not cover normal wear of parts and does not apply to any unit that has been tampered with or used for commercial purposes. This limited warranty does not cover damage caused by misuse, abuse, negligent handling or damage due to faulty packaging or mishandling in transit. This warranty does not cover damage or defects caused by or resulting from damages from shipping or repairs, service or alterations to the product or any of its parts, which have been performed by a repair person not authorized by EURO-PRO Operating LLC.
This warranty is extended to the original purchaser of the unit and excludes all other legal and/or conventional warranties. The responsibility of EURO-PRO Operating LLC if any, is limited to the specific obligations expressly assumed by it under the terms of the limited warranty. In no event is EURO-PRO Operating LLC liable for incidental or consequential damages of any nature whatsoever. Some states do not permit the exclusion or limitation of incidental or consequential damages, so the above may not apply to you.
This warranty gives you specific legal rights, and you may also have other rights which vary from state to state.
*Important: Carefully pack item to avoid damage in shipping. Be sure to include proof of purchase date and to attach tag to item before packing with your name, complete address and phone number with a note giving purchase information, model number and what you believe is the problem with item. We recommend you insure the package (as damage in shipping is not covered by your warranty). Mark the outside of your package “ATTENTION CUSTOMER SERVICE”. We are constantly striving to improve our products, therefore the specifications contained herein are subject to change without notice.
PRODUCT REGISTRATION CARD
Please complete and return within ten (10) days of purchase. The registration will enable us to contact you in the event a product defect is discovered. By returning this card you acknowledge to have read and understood the instructions for use, and warnings set forth in the accompanying instructions.
RETURN TO: EURO-PRO Operating LLC, 94 Main Mill Street, Door 16, Plattsburgh, N.Y. 12901
PURCHASER: …………………………………
ADDRESS: ………………………………………
DATE OF PURCHASE: ……………….. MODEL: ………..………….
SERIAL NO: .…………….
NAME AND ADDRESS OF STORE: ……………………………………………
Download
Shark GI492 Series 1700 Watt Steam Iron User Manual – [Download PDF]



















