BAY 60BV35083 60 Inch Farmhouse Bath Vanity
User Guide
Questions, problems, missing parts? Before returning to the store,
call Glacier Bay Customer Service
8 a.m. – 7 a.m., EST, Monday – Friday, 9 a.m. – 6 p.m., EST, Saturday
1-855-HD-GLACIER
HOMEDEPOT.COM/GLACIERBAY
THANK YOU
We appreciate the trust and confidence you have placed in Glacier Bay through the purchase of this vanity. We strive to continually create quality products designed to enhance your home. Visit us online to see our full line of products available for your home improvement needs.
Thank you for choosing Glacier Bay!
Safety Information
Please read and understand this entire manual before attempting to assemble, operate or install the product.
| NOTE: Some steps are more easily handled with two adults. | |
| NOTE: Assembly and unpacking requires two adults. | |
| NOTE: Do not try to pry off the top from the vanity. Damage to the top or vanity may occur. | |
| CAUTION: Before installation, carefully use scissors or a utility knife to cut and unwrap all parts. Make sure you do not discard the hardware. | |
| CAUTION: Use care when installing your new vanity; take your time and follow the installation instructions closely. |
IMPORTANT HEALTH NOTICE
Some of the building materials used in this home (or these building materials) emit formaldehyde. Eye, nose and throat irritation, headache, nausea and a variety of asthma- like symptoms, including shortness of breath, have been reported as a result of formaldehyde exposure. Elderly persons and young children, as well as anyone with a history of asthma, allergies, or lung problems, may be at greater risk. Research is continuing on the possible long-term effects of exposure to formaldehyde.
Reduced ventilation may allow formaldehyde and other contaminants to accumulate in the indoor air. High indoor temperatures and humidity raise formaldehyde levels. When a home is to be located in areas subject to extreme summer temperature, an air conditioning system can be used to control indoor temperature levels. Other means of controlled mechanical ventilation can be used to reduce levels of formaldehyde and other indoor air contaminants.
If you have any questions regarding the health effects of formaldehyde, consult your doctor or local health department.
Warranty
1 Year Limited Warranty: The manufacturer warrants this product to be free from manufacturing and material defects for a period of one year from date of purchase, subject to the following conditions and limitations:
- Install and operate this Bathroom Vanity in accordance with the installation and operating instructions furnished with the product at all times. Any unauthorized repair, alteration, willful abuse, accident, or misuse of the product shall nullify this warranty.
- This warranty is non-transferable and is made to the original owner, provided that the purchase was made through an authorized supplier of the product.
- The warranty is limited to the repair or replacement of part(s) found to be defective in material or workmanship, provided that such part(s) have been subjected to normal conditions of use and service, after said defect is confirmed by the manufacturer’s inspection.
- The manufacturer may, at its discretion, fully discharge all obligations with respect to this warranty by refunding the wholesale price of the defective part(s).
- Any installation, labor, construction, transportation, or other related costs/expenses arising from defective part(s), repair, replacement, or otherwise of same, will not be covered by this warranty, nor shall the manufacturer assume responsibility for same.
- The owner/user assumes all other risks, if any, including the risk of any direct, indirect or consequential loss or damage arising out of the use, or inability to use the product, except as provided by law.
- All other warranties – expressed or implied – with respect to the product, its components and accessories, or any obligations/liabilities on the part of the manufacturer are hereby expressly excluded.
- The manufacturer neither assumes, nor authorizes any third party to assume on its behalf, any other liabilities with respect to the sale of the product.
- The warranties as outlined within this document do not apply to non accessories used in conjunction with the installation of this product.
- This warranty gives you specific legal rights, and you may also have other rights which vary from state to state.
- This warranty is void if:
- There has been unauthorized alteration, willful abuse, accident, or misuse of the product.
- You do not have the original receipt of purchase.
IF WARRANTY SERVICE IS NEEDED
Contact the Customer Service Team at 1-855-HD-GLACIER or visit www.HOMEDEPOT.COM/GLACIERBAY. Make sure you have your warranty, your sales receipt, location of purchase and the model/serial number of your product.
Pre-Assembly
PLANNING ASSEMBLY
Before beginning assembly of product, make sure all parts are present. Compare parts with Hardware Included and Package Contents lists.
If any part is missing or damaged, do not attempt to assemble, install or operate the product. Contact customer service for replacement parts.
Estimated assembly and installation time: 2 Hours
TOOLS REQUIRED
HARDWARE INCLUDED
NOTE: Hardware not shown to actual size.
| Part | Description | Part Number | Quantity |
| AA | Washer | P24BV35083-AA | 4 |
| BB | Bolt | PH-BLIBLK015 | 4 |
| CC | AAA battery | P243v35083-cc | 8 |
| DD | Screw | PH-SCRBLK018 | 4 |
PACKAGE CONTENTS

| Part | Description | Quantity |
| A | Foot | 4 |
| B | Vanity | 1 |
| C | Center foot | 1 |
| D | Backsplash | 1 |
Assembly
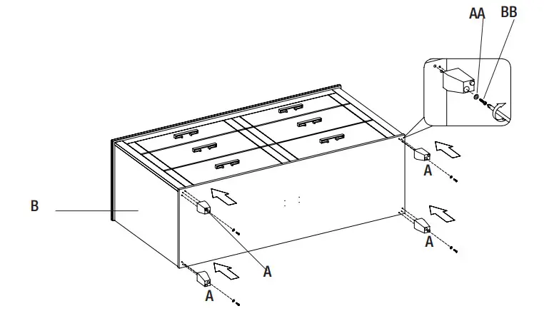
Attaching the Feet to the Vanity
Attach the feet (A) to the vanity’s bottom using washers (AA) and bolts (BB). 
Attaching the Center Foot to the Vanity
Attach the center foot (C) to the vanity’s bottom using crews (DD).
Adjusting the Levelers
Turn the levelers on the bottom of the feet (A) until the vanity (B) is sitting even on the ground.
NOTE: It is very important that your unit is level in order for your doors and drawers to function properly. After moving your unit to its final location, you may need to adjust the floor levelers. 
Removing the Drawers
For better access to the pre-installed lights, remove the drawers by simultaneously pushing down on the latch on the right-hand drawer slide, and pulling up on the latch on the left-hand drawer slide. 
Inserting the Batteries into the Pre-installed Lights
- Slide the plastic housing for the light off toward the front of the drawer, gently pushing up as you slide the housing.
- Insert the AAA batteries (CC) with the poles positioned as shown.
- Slide the housing back onto the light fixture.

Securing the Vanity to a Wall
- With the help of another adult, place the vanity (B) against the wall in desired permanent location. Be sure the location is accessible to water supply and drain lines before mounting.
- Drill a hole through the vanity mounting rail as shown.
- Secure the vanity (B) to a wall stud with at least one screw (not included).
- A toggle bolt (not included) may also be used to attach directly to drywall.
- If possible, secure the vanity (B) to two wall studs for increased stability.

WARNING: The vanity needs to be mounted to the wall to prevent accidental tipping.
Re-inserting the Drawers
- Extend the slides from the drawer side rails on the vanity and slide the drawers back into place.

Installing the Optional Backsplash
NOTE: The included backsplash is optional for installation. If you do not wish to install, skip this step.
- To install the included optional backsplash (D), apply silicone adhesive (not included) to the top edges of the vanity’s countertop (B).
- Clean any excess adhesive before allowing to dry.
- Install the faucet and drain set (not included) according to the manufacturer’s directions.

Operation

NOTE: Each light requires two AAA batteries.
Replacing the Batteries
- When the light stops operating or its range seems reduced, it is time to replace the batteries with new ones.
- On the back of the light box, press and slide the battery door open and remove the old batteries.
- Insert two AAA batteries, checking that the + and – sides of the battery match inside the battery compartment.
- Replace the battery compartment door.
NOTE: Do not mix old and new batteries. Do not mix alkaline, standard (carbon zinc), or rechargeable (NiCd, NiMH, etc.) batteries. Do not ingest batteries.
NOTE: Batteries should be removed if the product is to be left unused for a long time.
Disposing of Used Batteries
- The battery may contain hazardous substances that could endanger the enviroment and human health.
- This symbol marked on the battery and/or packaging indicates that used battery shall not be treated as municipal waste. Instead it shall be left at the appropriate collection point for recycling.
- By correctly disposing of used batteries, you prevent potential negative consequences for the environment and human health. Recycling used materials also conserves natural resources.
- For more information about collecting and recycling used batteries, please contact your local municipality, your waste disposal service or the point of sale where you purchased this product.
![]()
Maintenance
- Shade variations and patterns are an inherent characteristic of stone (e.g. granite, cultured marble). Stone tops will vary from product to product.
- Use caution when placing items on the stone surface such as soap or any fragranced material. Use a soap dish, coaster or similar item to protect the surface if placing any soap or fragranced products on the stone. If soap or fragranced products come in contact with the stone top, rinse the surface with water and dry using a soft non- abrasive cloth.
- There are stone care products available at your local home center store which should be used periodically to clean and protect the stone top. Follow the manufacturers directions on how to use.
- Do not use products to clean the stone top that contain acetone, lemon, vinegar or other acids as these may cause damage to the stone surface.
Care and Cleaning
- Use a soft, clean cloth that will not scratch the surface when dusting.
- Use of furniture polish is not necessary. Should you choose to use polish, test first in an inconspicuous area.
- Using solvents of any kind on your furniture may damage the finish.
- Never use water to clean your furniture as it may cause damage to the finish.
- Always use coasters under beverage glasses and flowerpots.
- Liquid spills should be removed immediately, as it may damage the furniture. Use a soft, clean cloth and blot the spill gently. Avoid rubbing.
- Always use protective pads under hot dishes and plates. Heat can cause chemical changes that may create spotting within the furniture.
Service Parts
For replacement parts, call our Customer Service Team at 1-855-HD-GLACIER or visit www.HOMEDEPOT.COM/GLACIERBAY.

NOTE: Parts not shown to actual size.
| Part | Description | Part Number | Qty |
| EE | Threaded Insert | PH-THRZNC001 | 9 |
| FF | Leveler | PH-LVRBLK001 | 5 |
| GG | Handle (with screw) | VNA10477L | 6 |
| HH | Drawer Slide | PH-DSLPCDS3516 | 8 |
| II | LED Drawer Light | P1-1-LGTDWR014 | 4 |
| JJ | Folding Support Stay Hinge | P60BV35083-11 | 1 |
| KK | Euro Hinge | PH-HNGPC35CS95 | 2 |
| LL | Door Bumper | PH-BMPCLR001 | 2 |
| E | Left top drawer | P60BV35083-E | 1 |
| F | Right top drawer | P60BV35083-F | 1 |
| G | Left middle drawer | P60BV35083-G | 1 |
| H | Right middle drawer | P60BV35083-H | 1 |
| 1 | Left bottom drawer | P60BV35083-1 | 1 |
| J | Right bottom drawer | P60BV35083-J | 1 |

Questions, problems, missing parts? Before returning to the store,
call Glacier Bay Customer Service
8 a.m. – 7 a.m., EST, Monday – Friday, 9 a.m. – 6 p.m., EST, Saturday
1-855-HD-GLACIER
HOMEDEPOT.COM/GLACIERBAY
Retain this manual for future use.


















