Swiss Madison SM-BV271CG H Bath Vanity in Cedar Grey
INSTALLATION INSTRUCTIONS
PRIOR TO INSTALLATION:
- Inspect product to ensure no damages have occurred while in shipping.
- Observe all plumbing and building codes in accordance with your state and local requirements.
- Floor must be level prior to installation of vanity.
- All dimensions are nominal! Be sure to measure your vanity prior to installation.
- The step-by-step guidelines in the installation instructions are a general reference. Should there be any discrepancies, Swiss Madison cannot be held liable. It is recommended to install all Swiss Madison products by hiring a licensed professional.
- Read installation and maintenance instructions thoroughly before installing. Be sure to use proper tools and always wear proper personal safety accessories for your protection.
SUGGESTED TOOLS & MATERIALS:
INCLUDED PARTS
Parts for Reference
- Left side panel
- Right side panel
- Rear top bar
- Front top bar
- Rear bottom bar
- Front top bar
- BottomPanel
- Left door
- Right door
- Left drawer, left wall
- Left drawer, right wall
- Left drawer, back wall
- Drawer divider back wall
- Right drawer, left wall
- Right drawer, right wall
- Right drawer, back wall
- Drawer bases (2)
- Drawer divider base
- Top drawer panel (above doors)

- Cam lock (30)
- Cam bolt (30)
- Wooden dowel (14)
- Drawer tracks (2)
- Screw (14mm) (80)
- Screw & plastic anchor (42mm) (2)
- Screw (60m) (2)
- Cam bolt cover (30)
- Hinge (4)
- Legs (4)
- Square metal support plate (4) O: Corner metal support plate (2)
Attach Drawer Tracks
- Screw 9 cam bolts (B) into the left side panel (1). Repeat for the right side panel (2).
- Attached left drawer track (D) into left side panel (1) by using 5 screws 14mm (E). Repeat for the right side panel (2).
Assemble Base
- With the right side panel (2) lying down flat, use 2 wooden dowels (C) to attached the bottom panel (7). Then attach the rear bottom bar (5) using 2 more wooden dowels (C).
- Proceed to attach the rear top bar (3) using the two cam bolts already inserted into right side panel (2).
- Proceed to attach the two front top bars (4) (6) to the right side panel (2).
- Lock the base, rear bars, and front bars using 9 cam locks (A).

- With the base side on it’s side, attached the left side panel (1) to the base. Lock all pieces using 9 cam locks (A).
Assemble Top Drawer Frame
- Insert cam bolts (B) into the inner drawer side walls (10) (11) (14) (15). Note: use one cam bolt for each wall.
- Insert 6 cam bolts (B) into the top drawer panel (19).
- Attach the left (12)and right (16) back walls to the side panels using 4 wooden dowels (C).
- Attach the left and right drawer frames together using the drawer divider (13) and 2 additional wooden dowels (C).
Complete Top Drawer Assembly
- With the drawer frame assembled, insert the drawer bases (17) and the divider base (18) into the existing tracks.
- Attach the drawer panel (19) onto the frame and secure all cam bolts (B) using 6 cam locks (A).
- Stand the cabinet base upright and attach the fully assembled drawer. Tighten the drawer to the track using two screws (E).
TIP: slide the drawer on the tracks with the backside aligned first before lowering the front of the drawer onto the tracks.
Install Doors
- Install 2 hinges (L) to both the left door (8) and the right door (9) using 2 screws (E) per hinge.
- Use an additional 2 screws per hinge to attach the left door (8) and right door (9) to the cabinet. If the door does not align properly, adjust the hinges according to the diagrams below. Once adjustments have been completed, secure the hinges using 2 screws (G) each.
Hinge/Door Adjustment and Realignment
- If adjustment or realignment is needed, follow the instructions provided in the following chart.
Attach Legs
- Connect legs to the bottom panel (7) using 4 square support plates (N) and 16 (E).
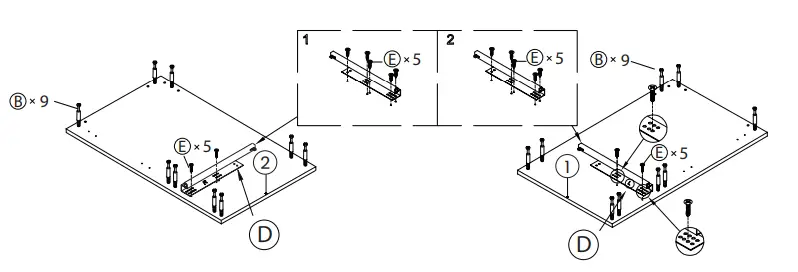
Secure Vanity to Wall
- Attach 2 corner brackets (O) to the rear top bar (3) using 16 screws (E).
- Mark desired mounting location on wall and ensure placement is level.
- Select installation option 1 or 2.
- Option 1: Securing to Drywall
- Position cabinet against wall in desired location.
- Using a pencil, make a mark on the wall through the holes in each bracket (O).
- Move cabinet away from the wall. Create a pilot hole in each mark on the wall, then insert the plastic anchor (G).
- Place cabinet against the wall, insert a screw (H) through the metal bracket (O) into each hole in the wall, then tighten to plastic anchors (G) to secure the vanity.
- Option 2: Securing to Drywall & Wood Stud
- Position cabinet against wall in desired location, be sure desired mounting location aligns with existing wood studs.
- Insert screw (H) through the holes in the metal bracket (O), then tighten through the drywall into the wood stud. Repeat this step for the other metal bracket (O) to secure the vanity.
Vanity Top Installation
- Install faucet and drain according to manufacturer’s installation instructions. Do not overtighten, this may cause the sink to crack.
- Set the vanity top on top of the vanity base, checking the location of the p-trap and drain.
- Remove vanity top from vanity base. Apply a thin bead of silicone around the vanity base and set the vanity top carefully in place.
- Remove excess silicone with a wet cloth.
ONE YEAR LIMITED WARRANTY
Swiss Madison® products are made with quality materials and excellent craftsmanship to provide our customers with beautiful, durable, long-lasting products. Should there be any defects in materials or craftsmanship under regular use that are discovered within the first year of installation, Swiss Madison® will provide replacement parts at no charge, or at its discretion, replace any product or part of the product that is deemed defective, under normal installation, use, service or maintenance. This warranty applies only to the original purchaser. Proof of purchase will be required in the instance of a claim. Swiss Madison® recommends all installations of Swiss Madison® products to be conducted by a licensed, professional plumber or contractor. Swiss Madison® will not be held responsible for any damage or product failure due to improper installation, misuse, or failure to utilize a licensed professional for installation. Swiss Madison® is not responsible for any installation or removal costs.
This One Year Limited Warranty Will Be Voided If:
- The installation recommendations were not followed by the installer
- The product has been moved from its initial place of installation
- The product has in any way been modified from its packaged state
- The product has been subjected to improper maintenance, abuse, misuse, excessive use of chemicals, accidents, or other damages, etc.
Swiss Madison® makes no implication that its products comply with any local building or plumbing codes. It is the consumer’s responsibility and obligation to determine local code compliance prior to and during installation. This warranty extends only to the original purchaser and first consumer. Swiss Madison® is not responsible for any special, incidental or consequential damages associated with the installation, replacement, return or use of the original purchaser’s product. This includes, but is not limited to: freight costs, labor, travel time, lost profit, home damages and other contingent liabilities and costs (including, without limitation, costs associated with ‘professionals’ or ‘experts’, investigations, audits, analyses, attorneys and any other professional/hired services). The Swiss Madison® warranty is a comprehensive and explicit limit of liability. All items not disclosed within the warranty are not addressable within the responsibility of Swiss Madison®. Certain states have variances regarding implied warranties; in those situations, we remain fully compliant. If you have any questions or concerns, please contact us directly at 1-434-MADISON (623-4766)
WARNING: Contents of your order may contain sharp and possibly other harmful pieces and may cause hazard to children and adults. Swiss Madison® is not responsible in any way for personal damages.





























