LGSBWAX12
User Manual
PRODUCT NAME: RF Module
MODEL NAME: LGSBWAX12
The information contained herein is the exclusive property of LG Innotek and shall not be distributed, reproduced or disclosed in whole or no in part without prior written permission of LG Innotek.
DOCUMENT No :
REG. DATE: 2020.11.24
REV. DATE: 2020.11.24
REV. NO.: V1.0
PAGE : 2 / 14
Features
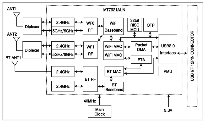
LGSBWAX12 is the small size and low power module for WiFi6E wireless LAN & BT5.2 + HS. LGSBWAX12 is based on the Mediatek MT7921AUN solution.
- IEEE 802.11 a/b/g/n/ac/ax Dual Band Dual Concurrent (DBDC)
- Support 20/40/80MHz bandwidth in 2.4GHz, 5GHz, 6GHz band
- Bluetooth 5.2+ HS, BLE
- Size : 68 x 30 x 7.7mm
- Use on-chip OTP (One-Time Programmable)
- Host Interface : USB2.0 (WLAN & BT)
– This model is using the common USB2.0 to control WLAN and BT - Security : WAPI, WEP, WPA, WPA2, WMM, AES, TKIP, CKP
- Application: DTV, DVR, HD DVD Player, Blue-ray Disk Player, STB
Picture of Product
Installation Manual
Install the module like below in the back of the TV
Block Diagram
Absolute Maximum Ratings
Caution: The specifications in Table 1 define levels at which permanent damage to the device can occur. Function operation is not guaranteed under these conditions. Operating at absolute maximum conditions for extended periods can adversely affect the long-term reliability of the device.
| Parameter | Min | Max | Unit |
| Storage Temperature | -20 | 80 | ℃ |
| Storage Humidity (40℃) | – | 90 | % |
. Other conditions
- Do not use or store modules in the corrosive atmosphere, especially where chloride gas, sulfide gas, acid, alkali, salt or the like are contained.
Also, avoid exposure to moisture. - Store the modules where the temperature and relative humidity do not exceed 5 to 40℃ and 20 to 60%.
- Assemble the modules within 6 months.
Check the soldering ability in case of 6 months over.
Operating Conditions
| Parameter | Min | Typ | Max | Unit |
| Ambient Temperature | 0 | – | 60 | ℃ |
| Ambient Humidity (40℃) | – | – | 85 | % |
| Supply Voltage | 3.135 | 3.3 | 3.6 | Vdc |
Standard Test Conditions
The Test for electrical specification shall be performed under the following condition Otherwise the following conditions, not guaranteed this performance.
Ambient condition
| Temperature | 25 ± 5℃ |
| Humidity | 65 ± 5% |
Power supply voltages
| Input Voltage | Supply Voltage |
| VDD_3.3V | 3.135 ~ 3.6V |
Pin Description
| Pin No. | Pin Name | I/O | Pin Description |
| 1 | VCC | I | VDD 3.3V |
| 2 | D- | I/O | USB Communication signal USB_DN |
| 3 | D+ | I/O | USB Communication signal USB_DP |
| 4 | GND | – | GND |
| 5 | WOW | 0 | Wake On WLAN |
| 6 | VCC | I | VDD 3.3V |
| 7 | RESUME | I | SUSPEND_RESUME |
| 8 | GND | – | GND |
| 9 | RESET | I | Bluetooth device wake up (option) |
| 10 | WOBBLE | 0 | Host wakes up. (Signal from Wi-Fi module to the host) |
| 11 | GND | – | GND |
| 12 | VCC | – | VDD 3.3V |




Regulation Notice
FCC Statement
FCC Part 15.19 Statements:
This device complies with Part 15 of the FCC Rules. Operation is subject to the following two conditions: (1) this device may not cause harmful interference, and (2) this device must accept any interference received, including interference that may cause undesired operation.
FCC Part 15.21 statement
Any changes or modifications not expressly approved by the party responsible for compliance could void the user’s authority to operate this equipment.
Responsible Party Information
Supplier’s Declaration of Conformity 47 CFR §2.1077 Compliance
InformationResponsible Party – U.S. Contact Information
LG Electronics USA1000 Sylvan Avenue Englewood Cliffs New Jersey, United States, 07632
Telephone number or internet contact information
Regulation Notice
Regulatory notice to host manufacturer see KDB Publication 996369 D04 for guidance.
This module has been granted modular approval as below listed FCC rule parts.
- FCC Rule parts 15C(15.247 / 15.407)
RF exposure considerations
The end manual should include regulatory information/warnings about:
- The module must be installed and operated with a minimum distance of 20 cm between the antenna radiating structures and nearby persons.
- The module is classified as a mobile device for RF exposure purposes.
- The antenna(s) used for this module must not be simultaneous with any other antenna or transmitter, except in accordance with FCC multiple transmitter product procedures.
As long as the three conditions above are followed, further FCC equipment authorizations may not be required. Refer to FCC publication 996369 D04 for guidance.
Operational restriction according to KDB 987594 D01
- The device cannot provide a direct connection to source the internet from a wired or direct connection to other devices over a 6 GHz air interface.
- The device is prohibited for control of or communications with unmanned aircraft systems, including drones.
- The device shall never operate above the maximum output power allowed by the rule: 24 dBm & -1dBm/MHz when under the control of a low-power indoor AP or subordinate and shall be lower or equal to the power advertised by the indoor low-power AP or subordinate.
- The device shall always initiate transmission under the control of a low-power indoor AP or subordinate except for brief transmissions before joining a network.
These short messages will only occur if the client has detected an indoor AP or subordinate operating on a channel. These brief messages will have a time-out mechanism such that if it does not receive a response from an AP it will not continually repeat the request.
Regulation Notice
Antennas list
This module is certified with the following integrated antenna.
- Type: Dual Bands Wi-Fi and Bluetooth Antenna
- Max. peak Antenna gain
| Frequency | Triple Band Anti (dB) | Triple Band Ant2(dB) | BT Ant(dB) |
| 2412 — 2472 MHz | -1. | 1.50 | ‘1.19 |
| 5180 — 5240 MHz | 0.05 | 1. | |
| 5260 — 5320 MHz | 0.98 | ‘1.45 | |
| 5500 — 5720 MHz | 1. | ‘1.37 | |
| 5745 — 5825 MHz | 1. | 1. | |
| 5955 — 6415 MHz | 0.65 | ‘1.45 | |
| 6435 — 6515 MHz | 0.65 | ‘1.45 | |
| 6535 — 6875MHz | 0.44 | 1. | |
| 6895 — 7095MHz | 0.91 | ‘1.43 |
Any new antenna type, higher gain than the listed antenna should be met the requirements of FCC rules 15.203 and 2.1043 as permissive change procedure.
Label and compliance information
End Product Labeling
The module is labeled with its own FCC ID and IC Certification Number. If the FCC ID and IC Certification Number are not visible when the module is installed inside another device, then the outside of the device into which the module is installed must also display a label referring to the enclosed module. In that case, the final end product must be labeled in a visible area with the following:
- Contains FCC ID: BEJLGSBWAX12
- Contains IC: 2703H-LGSBWAX12
Information on test modes and additional testing requirements
OEM integrator is still responsible for testing their end-product for any additional compliance requirements required with this module installed (for example, digital device emissions, PC peripheral requirements, the additional transmitter in the host, etc.).
Additional testing, Part 15 Subpart B disclaimer
The final host product also requires Part 15 subpart B compliance testing with the modular transmitter installed to be properly authorized for operation as a Part 15 digital device.
Copyrightⓒ. 2020. All Rights Reserved.





















