
MY40802
Electric Wall Fan

BEFORE USE:
Please read the instructions carefully. You must inspect the appliance including its cable and plug for any signs of damage. If the product is damaged, DO NOT USE and contact your supplier immediately for a refund or replacement
Introduction
General Information
Please read the entire instruction manual before using the product and then save it for future reference. We reserve the right for any errors in text or images and any necessary changes made to technical data. If you have any questions concerning technical problems please contact our Customer Services on 0800 091 3171
Safety Instructions
Please read this instruction manual carefully before use and keep it in a safe place for future reference. If you give the appliance to another person supply them with this instruction manual
Intended use
This appliance is intended for use as a cooling fan. Use it for domestic purposes and in the way indicated in this instruction manual.
This appliance can be used by children aged 8 years and above and persons with reduced physical, sensory or mental capabilities or lack of experience and knowledge if they have been given supervision or instruction concerning the use of the appliance in a safe way and understand the hazards involved.
Children shall not play with the appliance.
Cleaning and user maintenance shall not be made by children without supervision
IMPORTANT SAFETY INFORMATION
- Make sure the main supply voltage is the same as that on the maker’s plate.
- Do not plug the appliance in until it has been fully and correctly assembled.
- Never insert fingers, pencils, or any other object through the grille when the fan is running.
- Do not locate or use this appliance near the bath, shower, or swimming pool.
- Never immerse the appliance in water or any other liquid.
- Only use the appliance in dry environments, never in damp places such as bathrooms, etc.
- Do not handle the appliance with wet hands.
- Do not use the appliance with the power cable wound up.
- Keep the fan away from objects which may enter the grilles, such as curtain cords, plants, etc.
- Do not place the fan near flames, cookers, or heaters.
- Keep a check on the appliance when in use, especially when children are nearby.
- Unplug the mains when not in use.
- Never pull on the power cable when unplugging.
- Make sure the appliance has been unplugged before cleaning.
- Do not use the fan with a damaged power cable or plug, or if it is not working properly.
- Repairs and power cable replacement must only be carried out by Authorised Technical Service staff.
- This appliance must be installed following the national regulations for electrical installations.
- WARNING: In order to ensure your children’s safety, please keep all packaging (plastic bags, boxes, polystyrene, etc). out of their reach.
- These instructions for use belong to the appliance and must be kept in a safe place. If changing owners, these instructions must be passed to the new owner
Safe positioning
- Do not fix the fan to unstable surfaces.
- For your own safety and that of others: water and electricity are a dangerous combination! Do not use this fan in a bathroom or near a swimming pool. Ensure that the appliance cannot fall into water (bath wash basin, shower cubicle, etc)
Technical Specification
Model: MY40802
Rated Voltage: 230V AC
Power: 45

Instructions
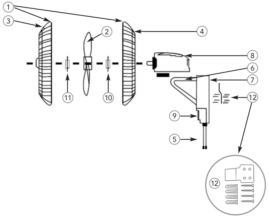
Parts description
![]() | ![]() |
| 1 Guard 2 Blade 3 Grill Clip 4 Handle 5 Pull cords 6 Motor support bracket | 7 Control Housing 8 Motor 9 Manual Switch 10 Guard Securing Nut 11 Fan Securing Nut 12 Wall Fixing Bracket Kit |
Assembly
BLADE AND GUARD ASSEMBLY
To assemble the grills and fan blade, refer to Figure 3:
- Unscrew the “Fan Securing Nut” clockwise and remove it from the motor shaft (This plastic nut is to hold the blade on when re-assembling).
- Unscrew the “Guard Securing Nut” anti-clockwise and remove (This plastic nut is to hold the rear guard in place when re-assembling).
- Place the “rear grill guard” into the proper position with the Handle facing up. (Steps 1,2 and 3)
- Screw on the “Guard Securing Nut” clockwise to secure the rear grill guard into place. (Steps 1,2 and 3)
- Discard the Plastic Motor Shaft Sleeve Protection located on the Motor Shaft.
- Carefully install the Fan Blade onto the Motor Shaft aligning the rear fan grooves with the motor shaft retaining pins. (Steps 4 and 5)
- Screw on the “Fan Securing Nut” anti-clockwise to secure the fan blade in place. (Steps 4 and 5)
- Place the rim of the Front Grill onto the Rear Grill aligning up the two holes at the bottom of the grill. Secure both grills firmly by tightening the fan grill locking grips around the circumference of the guards and using the screw and nut provided. (Step 7)

NOTE: You must complete assembling fully; otherwise you cannot switch on the fan.
Wall Mounting Your Fan
Before wall mounting your fan follow the basic safety rules below.
- WATCH OUT FOR WIRES
One of the biggest dangers of drilling into your walls is that you’ll hit a wire. At best, you’ve broken the circuit and you’ll lose power until it’s fixed; but, at worst, this mistake could be deadly. Fixing a broken wire that’s embedded in the wall is no small task, either, and you’ll need a professional to take care of it. What’s more, they’ll need to gain access to the broken wire by opening up the wall – an expensive, messy, and time-consuming process.
You can get a good idea of where wires are lurking by looking at where your electrical outlets and light switches are placed. Wires will normally be running vertically or horizontally from them, so be wary of drilling nearby. - BEWARE OF PIPES
Drilling into a water pipe might not be such a deadly mistake, but it will be a costly one. Depending on the type of pipe you hit, you might be subject to an endless burst of high-pressure water, which will cause tremendous water damage by the time you’ve shut off the mains. You might also hit a gas pipe, which can be extremely dangerous if a spark is caused.
Pipes are more difficult to trace than wires because they are often less predictably placed. Each home is different and, depending on the age of the home, the pipes can be metal or plastic, exposed or hidden. Beware of pipes that may also be running through the floors and outside walls. - KNOW THE DANGER ZONES & MAKE THEM SAFE
The areas of the house that are most likely to contain a lot of wires and pipes are the kitchen and bathroom walls and floors. Bathroom walls can contain a variety of pipework, so if your bedroom is on the other side and you want to hang a painting, be extremely careful. Kitchens are typically worse and can house gas pipes, water pipes, central heating pipes, and wires.
In other parts of the home, pipes and wires may run in an orderly fashion. But, they can travel in any direction in these rooms. Before starting work, be sure to switch off the relevant circuit breakers, as well as the water and gas supply. - USE A GOOD QUALITY STUD FINDER
So, you have a rough idea of where to watch out for danger, but how can you be sure? A good quality stud finder is your friend; higher-range models are also able to detect a variety of materials, including wood, metal, and plastic. Use them to find the studs you want to screw to for more secure fixing, as well as to detect wires and pipes - UNDERSTAND THE MATERIALS
Now that the area is safe to work in, consider the job at hand. It’s important to know what materials your walls are made of and whether you’ll be able to safely do what you have planned.
Unless you’re hanging very lightweight picture frames, it’s inadvisable to attempt to fix it to just the drywall as it’s not strong enough. You can buy drywall anchors that will add strength but, for heavier items, it’s best to find a stud to drill into. When fixing wooden studs, be sure to drill holes first, rather than screwing directly in, as this can split the wood and make it weaker. - HAVE THE RIGHT TOOLS FOR THE JOB
Different materials require different tools. For example, if your walls, floors, or ceilings are masonry/concrete, you’ll get great fixing, but you’ll need a more powerful drill and the correct drill bits. You can get different drill bits for masonry, wood, and metal, and it’s important to know the difference. If you need to drill into tiles, you’ll need a special (typically diamond-tipped) tile drill bit to prevent cracking or chipping
Fixing the Bracket
- When you have located your position for the fan, simply place the bracket to the wall straight and mark the four holes to be drilled.
- Remove the bracket and using the correct drill and drill bit, drill the four drill holes.
- Insert the 4 supplied wall plugs, or the correct wall plugs for the type of material you have drilled.

- Screw the bracket to the wall securely.
- Simply hang the wall fan onto the wall bracket.
- Check that the fan is secure and hangs firmly to the wall.
- Your fan is then ready to plug in and operate.
Operating instructions
MANUAL CONTROL OPERATION
- To operate the fan speed manually, use the dial located on the Fan Control Panel. You can rotate the dial and choose between speeds 1,2 or 3 or 0 for off.
PULL CORD OPERATION
- Right, pull the cord to operate the fan speed between speeds 1,2, or 3, or 0 for off.
- The left pull cord to operate the fan is in oscillation mode swinging left to right.
ADJUSTING THE FAN ANGLE
- The fan angle can but adjusted by simply pivoting the fan up or down to your required angle. Please ensure the fan is turned off and unplugged whilst carrying out this operation.

Storage
- Keep the original box in which the fan was packed to store it during the cooler months when it is not in use.
- Clean the fan according to the instructions under Cleaning.
- Pack the fan in the original box and store it in a cool, dry place.
Cleaning & Maintenance
We recommend that you clean your fan at least twice a year to remove accumulated dust and dirt.
- Switch off and unplug the fan.
- each part can be disassembled using the reverse process of assembly.
- Plastic parts should be cleaned with a damp cloth or sponge. Thoroughly dry the parts with a clean dry cloth.
- Do not use scouring pads or abrasive and hard detergents.
- Do not immerse the motor unit in any liquid at any time.
- Make sure the fan is completely dry before attempting to reassemble or turning back on.
- Store fan in a clean dry place when not in use. No other user maintenance is required or recommended.
- DO NOT immerse the fan in water and never allow water to drip into the motor housing.
CAUTION: DO NOT ALLOW WATER TO RUN INTO THE FAN AS THIS COULD CREATE A FIRE OR ELECTRIC SHOCK HAZARD. DO NOT REMOVE ANY PARTS DURING THE OPERATION.
Environmental Responsibilities
Meaning of crossed-out wheeled dustbin:
Do not dispose of electrical appliances as unsorted municipal waste, use separate collection facilities.
Contact your local council for information regarding the collection systems available.
If electrical appliances are disposed of in landfills or dumps, hazardous substances can leak into the groundwater and get into the food chain damaging your health and well-being.
When replacing old appliances with new ones, the retailer is legally obligated to take back your old appliance for disposal free of charge.
PAT Testing
When used in a workplace, this product must be safety-tested yearly by a qualified electrician (PAT Tested) in order to comply with the Electricity at Work Regulations. We recommend that it is PAT tested regularly when used in a domestic environment.
SERVICE WARRANTY
Hygiene Supplies Direct guarantees the product free from defects in materials and workmanship for a period of 1 year from the date of purchase.
Should this unit be operated under conditions other than those recommended, at voltages other than the voltage indicated on the unit, or any attempts made to service or modify the unit, then the warranty will be rendered void. The product you buy may sometimes differ slightly from the illustrations. This warranty is in addition to and does not affect, your statutory rights.
If you have any problems with this product, please call our Help Desk on 0800 091 3171 or email [email protected]
YESSS Electrical, Normanton, WF6 1TN declares that the Mylek Electrical Wall Fan is exclusively
manufactured and imported for Hygiene Supplies Direct Ltd.
www.hsdonline.co.uk





















