PET GROOMING & DRYING BRUSH
Operating instructions
IAN 391582_2201
Introduction
Congratulations on the purchase of your new appliance. You have selected a high-quality product. The operating instructions are part of this product. They contain important information about safety, usage, and disposal. Before using the product, please familiarise yourself with all operating and safety instructions. Use the product only as described and for the range of applications specified. Please also pass these operating instructions on to any future owner.
Safety information
RISK OF ELECTRIC SHOCK
- Connect this appliance only to a properly installed mains socket with a mains voltage corresponding to that on the rating plate.
- Under no circumstances should the appliance be immersed in liquids or liquids be allowed to penetrate the housing. Do not expose the appliance to humidity and do not use it outdoors.
If liquid gets into the housing, disconnect the appliance from the mains power socket im- mediately and have it repaired by a qualified technician.
RISK OF ELECTRIC SHOCK
- In the event of malfunctions and before you clean the appliance, remove the plug from the mains power socket.
- To disconnect the appliance from the mains, pull only on the plug itself, not on the power cable.
- Do not wrap the power cable around the appliance, and protect the cable from being damaged.
- If the mains lead of this appliance is damaged, it must be replaced by the manufacturer, its customer service department or a similarly qualified person in order to avoid hazards.
- Do not kink or crush the power cable, and route it in such a way as to prevent people from stepping on it or tripping over it.
- Do not use extension cables.
- Never hold the appliance, the power cable, or the power plug with wet hands.
RISK OF ELECTRIC SHOCK
- Disconnect the appliance from the main power source immediately after use. The appliance is completely free of electrical power only when it is unplugged.
- Do not open the appliance housing or attempt to repair the appliance yourself. This can lead to risks and also invalidates the warranty.
Defective appliances should be repaired by qualified specialists only.
Never use the appliance near water, especially in the vicinity of sinks, baths or similar containers. The proximity of water is hazardous, even if the appliance is switched off. Always disconnect the plug from the mains power socket after use. For additional protection, we recommend that you install a residual current circuit breaker with an activation power rating of no more than 30 mA for the power circuit in the bathroom. Ask your electrician for advice.
WARNING! RISK OF INJURY!
- This appliance may be used by children aged 8 years or more and by persons with reduced physical, sensory or mental capabilities or lack of experience and/or knowledge if they are supervised or have been instructed in the safe use of the appliance and have understood the potential risks.
- Do not allow children to use the appliance as a toy.
- Cleaning and user maintenance should not be performed by children unless they are under supervision.
- Never put the appliance down when it is switched on, and never leave a switched-on appliance unsupervised.
- Never place the appliance close to sources of heat, and protect the power cable against potential damage.
WARNING! RISK OF INJURY!
- Do not operate the appliance if it has been dropped or is damaged in any way. Have the appliance checked and/or repaired by a qualified technician, if necessary.
- While the appliance is running, avoid treating the same place for too long to avoid burning the skin. Observe the animal closely and stop the treatment immediately if the animal appears to feel uncomfortable.
CAUTION – PROPERTY DAMAGE!
- To prevent the appliance from overheating, do not cover the air intake grille or the air outlet during operation. Clean the air intake grille and air outlet at regular intervals.
NOTE
- No user action is required to switch the product between 50 and 60 Hz. The product switches automatically to either 50 or 60 Hz.
Proper use
The appliance is intended for drying and brushing animal hair.
The appliance is intended exclusively for use in dry interior rooms in private households. Do not use it for commercial or industrial applications.
Package contents
The appliance is supplied with the following components as standard:
- Pet Grooming & Drying Brush
- Operating instructions
1) Remove the product and the operating instructions from the packaging.
2) Remove all packaging material.
NOTE
- Check the package for completeness and signs of visible damage.
- If any items are missing or damaged as a result of defective packaging or transportation, contact the service hotline (see section Service).
Technical specifications
| Power supply | 220–240 V ~ (AC), 50/60 Hz |
| Rated power | 300 W |
| Protection class | II |
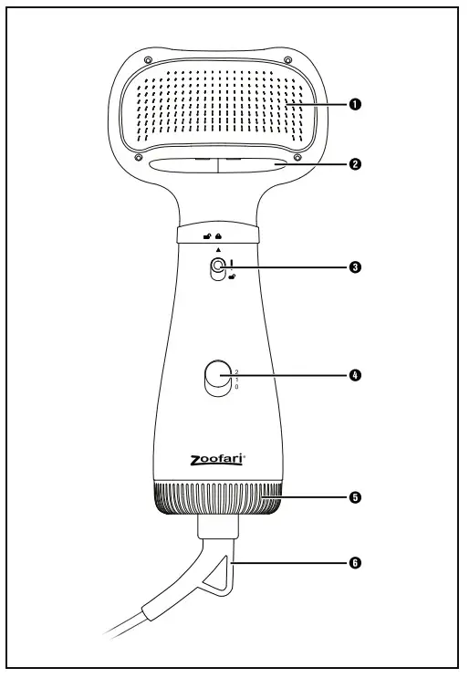
Appliance description
(For illustrations see the fold-out page)
- Removable brush head
- Air outlet
- Release switch
- Level switch
- Air intake grille
- Hanger
Operation
RISK OF ELECTRIC SHOCK
- Never immerse the appliance in water or other liquids!
- Do not use the brush in a shower, bathtub or similar location if there is still residual water!
WARNING – RISK OF INJURY!
- While the appliance is running, avoid treating the same place for too long to avoid burning the skin.
NOTE
- Accustom your pet to treatment with the appliance slowly and carefully. Observe your pet closely and stop the treatment immediately if you notice that the animal appears to feel uncomfortable.
1) First, dry the wet coat well with a towel; this will significantly shorten the treatment time with the appliance.
2) Insert the plug into the mains power socket.
3) Set the level switch 4 to the desired blower and heating level:
The appliance is switched off
- Warm air flow with low air velocity
- Hot air flow with high air velocity
To accustom the animal to the treatment, start with level - Brush the animal’s coat gently, never lingering on the same spot for too long.
- Switch off the appliance by moving the level switch 4 back to “0”, and disconnect the mains plug from the mains socket.
Cleaning
RISK OF ELECTRIC SHOCK
- Always remove the plug from the mains power socket before cleaning the appliance.
- Never immerse the appliance in water or other liquids during cleaning!
- After cleaning, ensure that the appliance is completely dry before using it again.
WARNING – RISK OF INJURY!
- Allow the appliance to cool down sufficiently before cleaning it.
CAUTION – PROPERTY DAMAGE! - Do not use any aggressive cleaning liquids or solvents.
They could damage the surface.
- If any hair gets caught in the bristles of the appliance, remove it carefully, e.g. with your fingers.
- Remove hair and dirt from the air intake grille 5 and from the air outlet 2 of the appliance regularly, e.g. with a brush.
- To make it easier to clean the brush head 1 and the air outlet 2, remove the brush head 1:
– Press the release switch 3 downwards and hold it in position.
– Turn the brush head 1 until the arrow ▲ is aligned with the symbol and then pull off the brush head 1. How to replace the brush head 1 on the appliance:
– Push the brush head 1 onto the lower part so that the symbol is above the ▲. Turn the brush head 1 until the arrow ▲ is lined up with the symbol. - Clean the surfaces of the appliance with a damp cloth when necessary.
- Allow the appliance to dry thoroughly before reusing or storing it.
Storage
CAUTION – PROPERTY DAMAGE!
- Do not pack up and transport the appliance until it has cooled down.
1) Clean the appliance as described in the section “Cleaning”.
2) Store the appliance in a dust-free and dry location. You can store the appliance by hanging it up by the hanger 6.
Troubleshooting
If the appliance does not function as expected, unplug it.
The appliance is fitted with an overheating protector, which switches off the appliance as soon as it becomes too hot.
Wait for the appliance to cool down for a few minutes and then check the air intake grille 5 and air outlet 2 for blockages.
If the appliance still does not function, contact the Customer Service department.
Disposal
The adjacent symbol of a crossed-out dustbin means that this appliance is subject to Directive 2012/19/EU.
This directive states that this appliance may not be disposed of in the normal household waste at the end of its useful life, but must be taken to specially set-up collection locations, recycling depots, or disposal companies.
The disposal is free of charge for the user.
Protect the environment and dispose of this appliance properly.
Your local community or municipal authorities can provide information on how to dispose of the worn-out product.
![]()
The product and its packaging are recyclable.
They are subject to an extended manufacturer responsibility and will be collected separately.
Returning the packaging to the material cycle conserves raw materials and reduces the amount of waste that is generated. Dispose of packaging materials that are no longer needed in accordance with applicable local regulations.
Dispose of the packaging in an environmentally friendly manner. Note the labeling on the packaging and separate the packaging material components for disposal, if necessary. The packaging material is labeled with abbreviations (a) and numbers (b) with the following meanings: 1–7: plastics, 20–22: paper and cardboard, 80–98: composites.
Kompernass Handels GmbH warranty
Dear Customer,
This appliance has a 3-year warranty valid from the date of purchase. If this product has any faults, you, the buyer, have certain statutory rights. Your statutory rights are not restricted in any way by the warranty described below.
Warranty conditions
The warranty period starts on the date of purchase. Please keep your receipt in a safe place. This will be required as proof of purchase.
If any material or manufacturing fault occurs within three years of the date of purchase of the product, we will either repair or replace the product for you or refund the purchase price (at our discretion). This warranty service requires that you present the defective appliance and the proof of purchase (receipt) within the three-year warranty period, along with a brief written description of the fault and of when it occurred.
If the defect is covered by the warranty, your product will either be repaired or replaced by us. The repair or replacement of a the product does not signify the beginning of a new warranty period.
The warranty period and statutory claims for defects
The warranty period is not prolonged by repairs effected under the warranty. This also applies to replaced and repaired components. Any damage and defects present at the time of purchase must be reported immediately after unpacking. Repairs carried out after the expiry of the warranty period shall be subject to a fee.
Scope of the warranty
This appliance has been manufactured in accordance with strict quality guidelines and inspected meticulously prior to delivery.
The warranty covers material faults or production faults.
The warranty does not extend to product parts subject to normal wear and tear or too fragile parts which could be considered as consumable parts such as switches, batteries or parts made of glass.
The warranty does not apply if the product has been damaged, improperly used, or improperly maintained.
The directions in the operating instructions for the product regarding the proper use of the product are to be strictly followed. Uses and actions that are discouraged in the operating instructions or which are warned against must be avoided.
This product is intended solely for private use and not for commercial purposes. The warranty shall be deemed void in cases of misuse or improper handling, use of force and modifications/repairs which have not been carried out by one of our authorized Service centres.
Warranty claim procedure
To ensure quick processing of your case, please observe the following instructions:
- Please have the till receipt and the item number (IAN) 391582_2201 available as proof of purchase.
- You will find the item number on the type plate on the product, an engraving on the product, on the front page of the operating instructions (below left) or on the sticker on the rear or bottom of the product.
- If functional or other defects occur, please contact the service department listed either by telephone or by e-mail.
- You can return a defective product to us free of charge to the service address that will be provided to you. Ensure that you enclose the proof of purchase (till receipt) and information about what the defect is and when it occurred.
You can download these instructions along with many other manuals, product videos and installation software at www.lidl-service.com.
This QR code will take you directly to the Lidl service page (www.lidl-service.com) where you can open your operating instructions by entering the item number (IAN) 391582_2201.
12.1 Service
Service Great Britain
Tel.: 0800 404 7657
E-Mail: [email protected]
Service Ireland
Tel.: 1800 101010
E-Mail: [email protected]
IAN 391582_2201
12.2 Importer
Please note that the following address is not the service address. Please use the service address provided in the operating instructions.
KOMPERNASS HANDELS GMBH
BURGSTRASSE 21
44867 BOCHUM
GERMANY
www.kompernass.com















