![]()
Wireless Earphones
![]()
User Manual
![]()
Model No. : CHE-643
English ver.
Accessories
Main unit (LR pair)
Charging case

USB-A to USB-C charging cable Carrying pouch

Wiping cloth User Manual / Warranty Card
Safety Precautions
This section explains the precautions that must be taken to prevent human injury and property damage.
- This section describes the degree of harm or damage that may occur if the product is used improperly.
| Indicates a high risk of hazardous situation that could result in death or serious injury. | |
| Indicates a potentially hazardous situation that could result in death or serious injury. | |
| Indicates a potentially hazardous situation that could result in minor injury or property damage. |
- The following symbols are used to explain the contents that must be observed. (The following is an example of the symbols.)
DANGER
■ About the battery
The lithium polymer battery is built into the main body of the earphone (LR) and the charging case. Be sure to observe the following precautions to avoid heat generation, ignition, liquid leakage, etc.
Do not continue using the product if you notice any unusual odor, heat generation, distortion, or discoloration.
Doing so may cause overheating, rupture, or ignition.
Do not disassemble or modify the product.
Doing so may cause overheating, fire, or electric shock.
Do not put the battery in a fire, charge it near a fire or leave it in a hot place.
Doing so may cause the battery to rupture or leak, resulting in fire, injury, or stains around the product.
Do not continue to use the product if the electrolyte is leaking.
Doing so may cause overheating, rupture, or ignition.
WARNING
Do not use the product while it is malfunctioning. If any abnormality occurs, turn off the power immediately.
- Smoke, strange smells or noise
- The unit has been dropped.
- Water has gotten inside the unit.
Use of the unit under such abnormal conditions may result in fire or electric shock. Turn off the power immediately.
Do not disassemble or modify the product.
Doing so may cause fire or electric shock.
Do not use the unit with loud noise for a long time.
When using this unit, be careful not to turn up the volume too high. Continuous use of the product at a loud volume that may irritate the ears for a long period of time may cause serious damage to hearing.
Do not use or store in places where small children can reach.
After use, put the earphones in the charging case and keep them out of the reach of children. Doing so may cause electric shock, injury, or accidental ingestion.
Do not operate a bicycle, motorcycle, car, or machinery.
Do not use the earphones while driving or in any other dangerous places such as railroad crossings, station platforms, roadways, construction sites, etc., where it may be dangerous not to be able to hear the surrounding noise.
Do not expose to water
Although the main body of this earphone is IPX5 wateproof (no harmful effects even if directly exposed to a jet of water), please be careful of the following
- Do not submerge the earphones in a bathtub or swimming pool.
- Do not expose it to strong jets of water.
Do not place the product in a place where it will be exposed to steam or water.
The charging case of this product is not waterproof and drip-proof. If a drop of water or liquid gets into the case, it may cause fire or electric shock.
- Do not store the main unit while it is still wet.
- Do not use in humid places such as bathrooms or changing rooms.
- Do not place the unit near a cooking stove or humidifier.
- Do not use the product in places where it will be exposed to rain or snow.
Clean the USB-C input port regularly.
Dust on the USB-C input port may cause a fire. Disconnect the charging cable and remove dust with a dry cloth.
If electrolyte leaks, do not touch the liquid with bare hands.
If leakage of electrolyte occurs, please contact your dealer or our customer support team. If liquid gets into your eyes, do not rub your eyes, but rinse them immediately with plenty of clean water and consult a doctor immediately. If liquid gets on your body or clothing, rinse with plenty of clean water and consult a doctor immediately as it may cause skin injury or burns.
■ USB-A to USB-C charging cable
Do not damage the charging cable.
- Do not place heavy objects on the cable.
- Do not damage or modify the cable.
- Keep away from heaters, etc. and do not heat the cable.
If the charging cable is damaged (exposed core wire, broken wire, etc.), stop using it Using the cable as it is may cause fire or electric shock. Do not bend the charging cable at a sharp angle, twist it forcibly, pull it, or apply excessive force to it.
Do not bend the charging cable at a sharp angle, twist it forcibly, pull it, or apply excessive orce to it.
Doing so may damage the internal wires or terminals, resulting in fire or electric shock.
If lightning starts during charging, do not touch the charging cable.
Doing so may cause an electric shock.
■ About current
Do not use this product if you have a cardiac pacemaker.
The current may affect the operation of the pacemaker.
Do not use this product in medical institutions such as hospitals, near medical equipment, or on airplanes.
Radio waves may affect it, causing accidents due to malfunction.
Discontinue use if radio wave interference occurs in other equipment.
Radio waves may affect the product and cause accidents due to malfunctions.
CAUTION
Do not turn up the volume too high.
If the volume is turned up too high from the beginning, a sudden loud sound may damage your ears. Please turn up the volume gradually.
Discontinue use if the earpads do not agree with your skin.
The earpads and joints that directly contact the skin are made of silicone rubber, which may cause allergic reactions.
Do not bend the joint part forcibly.
It may deform and become irreversible or damaged.
Disconnect the charging cable when moving the product.
For safety reasons, disconnect the charging cable before moving the product, as the USB port and USB cable may be damaged.
Do not use the product in temperatures other than 0-45°C.
If heat is generated, disconnect the charging cable and leave it for a while.
If heat is generated, disconnect the charging cable and leave it for a while.
Failure to do so may cause overheating or fire.
Keep credit cards, bank books, and other magnetic products away from the product.
Magnetism may cause credit cards and bankbooks to become unusable or data to be lost.
Do not use or store the product in the presence of pets.
After use, put the earphones in the charging case and keep them away from pets to avoid electric shock, injury, or accidental ingestion.
■ About radio waves
In the frequency band used by this product (2.4 GHz), industrial, scientific, and medical equipment such as microwave ovens, as well as in-flight radio stations for mobile vehicle identification used on factory production Lines that require a license, specified low power radio stations that do not require a license, and amateur radio stations that require a license are in operation. To prevent interference with other equipment, please pay close attention to the following points before use.
Before using the equipment, make sure that no other radio stations are operating nearby. If harmful radio interference is detected from this device to other radio stations, stop using it immediately.
Wireless communication with all Bluetooth function compatible products is not guaranteed.
For compatibility between this unit and Bluetooth-enabled devices, refer to the instruction manual that comes with each Bluetooth-enabled device or contact the retailer. Use of Bluetooth-enabled devices may be restricted in some countries.
Please contact your local authorities regarding the use of Bluetooth-enabled devices.
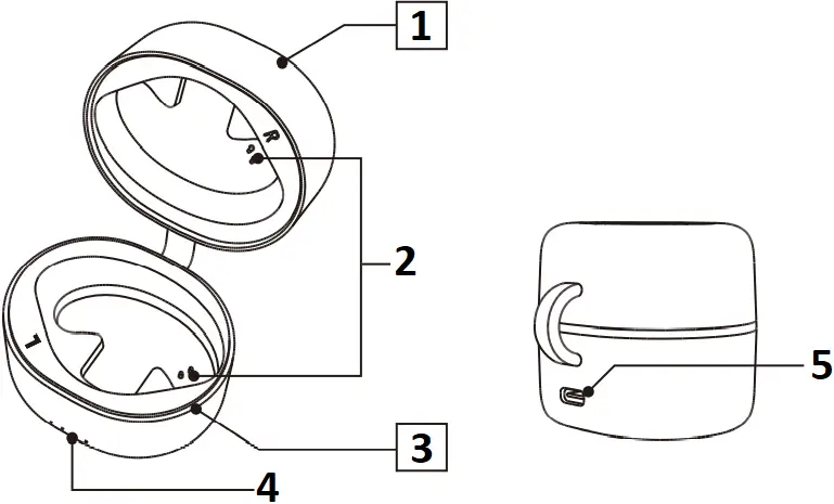
Name of each part
[Main unit]

- Balance port
- Charging terminal
- Multi-function key
- Ear pad
- Joint
- Head
- Multi-Indicator/ Microphone
- Body
[Charging case]

- Lid
- Charging terminals
- Body
- Battery level indicator
- USB-C Input port
■ When to use
You can enjoy sound and music from smartphones and other Bluetooth-enabled devices wirelessly.
To use the device as an earphone, the Bluetooth-enabled device must support the A2DP profile, and to make hands-free calls, it must support the HFP or HSP profile. Please note that the connection and operation with all Bluetooth-enabled devices are not guaranteed.
Charge the earphones
■Charge the main body of the earphones
When the main body of the earphone is placed in the charging case (the left earphone is placed on the main body side of the charging case and the right earphone is placed on the lid side of the charging case) the battery indicator on the charging case will operate. The multi-indicator on the main body of the earphone will then light up red and charging will begin.

Please remove the blue protective sheet from the charging case and then reinsert the earphones into the case.
Charging time is about 1.5 hours
(it may take more time when charging for the first time).
If the battery indicator on the charging case does not light up when the earphones are stored in the charging case, the remaining battery capacity of the charging case is insufficient.
When the earphones are fully charged, the multi-indicator will turn off and the battery indicator will also turn off.

■Charging the charging case
1. Connect the USB-C terminal of the included charging cable to the “USB-C input port” of the charging case.
2. Connect the USB-A terminal of the charging cable to a PC. Or, connect the charging cable to a USB AC adapter(sold separately) and connect the adapter to a household power outlet.
The battery indicator will flash blue according to the remaining battery capacity.
Charging is complete when all indicators are lit.
The charging time is approximately 2 hours
(it may take more time when charging for the first time).
3. When charging is complete, disconnect the charging cable.
Because the battery will naturally discharge and deteriorate if not used for a long period of time, please charge the battery to the unit about once every 3 months.
■ Check the remaining battery capacity of the charging case.
Battery indicator | Remaining battery capacity (approximate) |
1~25% | |
| 26~50% | |
51~75% | |
76~99% |
How to turn on/off the power
■How to turn on the power
When the main body of the earphones is removed from the charging case, the power will automatically turn on and the announcement “power on” will be heard.

If the power turns off while the earphones are removed from the charging case, place the earphones back in the case and check that the multi-indicators are lit red on both the left and right sides before removing the earphones. Alternatively, you can turn the power on by pressing and holding the multi-function keys on both the L and R sides at the same time for about 3 seconds until the multi-indicators light up blue.
When you take out the L and R earphones, stereo pairing of the L and R sides will automatically take place, and the announcement “pairing” will be played.
If pairing with a Bluetooth-enabled device has been completed previously, the connection with the Bluetooth-enabled device will be completed automatically, the announcement “Connected” will be played, and the multi-indicators on both the L and R sides will flash blue repeatedly at 5 second intervals.
If the connection with the Bluetooth-enabled device is completed before the “Pairing” announcement is played, only the “Connected” announcement will be played.
■ How to turn off the power
When the product is stored in the charging case, it will automatically turn off, the multi-indicator will light up red, and charging will begin.
The earphones will not automatically turn off while connected to a Bluetooth-enabled device, even if no sound is being output for a long period of time. If you wish to turn off the power, please store them in the charging case.

How to put on the earphones
1. Put the earphone marked with “L” on the left ear and the one marked with “R” on the right ear.

2. Gently pull the earlobe with your finger and gently insert the joint of the earphone into the thin part of the edge of the ear while slightly widening the joint.
3. As shown in the illustration, place the earphone slightly above the earlobe and pinch it between the ear ring and the counter-ear ring, and move it up and down or back and forth a little to find a place where it fits well and where you can hear well.

- Ear ring
- Counter-ear ring
- Earlobe
Pairing (device registration) with a Bluetooth-enabled device (pairing mode)
To connect and use the device with a Bluetooth-enabled device, it is necessary to pair it with the Bluetooth-enabled device only once at first. Please check “How to enable (turn on) the Bluetooth setting function” and “Connection operation” of the Bluetooth-enabled device in advance.
1. Remove the earphones from the charging case at the same time (both L side and R side). The power will automatically turn on when the earphones are removed from the charging case.
If the earphones are not in the charging case, place them in the charging case first and check that the multi-indicator lights up red on both the left and right sides before removing them.
When the power is turned on, stereo pairing is automatically performed between the L and R sides When stereo pairing is complete, the announcement “pairing” will be made and the multi-indicator on one side will flash alternating red and blue (the other side will flash blue at 5 second intervals) to indicate pairing mode with a Bluetooth-enabled device.
If the power does not turn on, please charge the battery.
The pairing mode is also activated automatically when a device that has already been paired cannot be found.
If you do nothing while in pairing mode, the power will automatically turn off in about 3 minutes.
2. Turn on the Bluetooth setting function of the Bluetooth-enabled device an select “CHE-643” on the screen of the Bluetooth-enabled device.

When the connection is established, the announcements “Pairing Successful” and “Connected” will be played, and the left and right multi-indicators will repeatedly flash blue at 5 second intervals.
If the Bluetooth setting function is deactivated (off), pairing will be canceled, the announcement “Disconnected, paired” will be played, and the multi-indicator on one side will blink alternately red and blue to indicate pairing mode.
Playback via Bluetooth connection
1. Operate the Bluetooth-enabled device connection.
If the last paired Bluetooth-enabled device is turned on and nearby, simply remove the device from the charging case and it will automatically reconnect with the last paired Bluetooth-enabled device.
If the Bluetooth-enabled device is turned off or out of Bluetooth range, the pairing will be canceled, the announcement “Disconnected, paired” will be heard, and the multi-indicator on one side will flash alternating red and blue to indicate pairing mode.
At this time, pairing may not work properly even if the Bluetooth-enabled device is turned on again or if it is within range of the Bluetooth signal. In this case, return the earphones to the charging case and check that the multi-indicator lights up red on both the left and right side before removing the earphones.
2. Operate the device or Bluetooth-enabled device to play sound.
The earphones will not automatically turn off even if no audio is being played. If you wish to turn off the power, please store them in the charging case.
When the battery capacity runs out, the announcement “Battery Low” will be heard, so please recharge the battery by storing it in the charging case.
The earpiece can be used for several minutes in this state, but when the remaining battery capacity runs low, the earpiece will automatically turn off with the announcement “power off”.
■ Music playback operation
If the Bluetooth-enabled device supports AVRCP, the following operations can be performed from the main unit.
Multi-function keys on the L side

Click once to enter game mode with the announcement “Gaming Mode”.
In game mode, latency (communication delay time) is about half that of normal mode.
Click once again to return to Music Mode.
Click twice to return to the beginning of the song.
Clicking within 3 seconds from the beginning of a song will return to the previous song.
Pressing and holding the button during playback lowers the volume.
Multi-function keys on the R side

Each click repeats playback/first stop
Click twice to advance to the next song
Click three times to activate the voice assistant
(such as Apple’s Sin or Google’s Assistant)
Click three times again to exit the voice assistant.
Press and hold during playback to increase the volume.
Other functions
■ Hands-free calling
When a Bluetooth-enabled device has a telephone function, such as a cell phone or a smart phone, you will hear a call sound from the device when a call comes in. At this time, you can make a call by clicking once on the L or R side multi-function key
If a call comes in while audio is playing, the audio will be muted and the caller will hear the caller’s tone. When the call ends, the mute is released and the sound resumes.
Call tones are usually heard from cell phones and smartphones. If you do not want to hear call tones from them set the earphones to silent mode. Even in this case, you will still hear the call tone from the earphones.
If you do not want to answer a call, press and hold the L or R multi-function key for about 2 seconds.
To end the call, click the L or R multi-function key once again.
Disposal of the battery
The built-in battery of this product is a lithium polymer battery. When disposing of the battery, please follow the ordinances of your local government. Please contact your local government for the details of the ordinances.
USB chargers and other products are available on Cheero website.
Cheero website
https://cheero.shop/
About Trademarks
Qualcomm aptX is a product of Qualcomm Technologies, Inc. and/or its subsidiaries.
Qualcomm is a trademark of Qualcomm Incorporated, registered in the United States and other countries. aptX is a trademark of Qualcomm Technologies International, Ltd., registered in the United States and other countries.
All other trademarks and trade names are the property of their respective owners.
Declaration of Conformity

This product complies with the EMC Directive 2004/109/EC, the LVD Directive 2006/95/EC, Erp Directive2009/125/EC and ROHS Directive 2011/65/EC.
FCC Information
FCC Statement
This device complies with Part 15 of the FCC Rules. Operation is subject to the following two conditions: (1) This device may not cause harmful interference, and (2) This device must accept any interference received, including interference that may cause undesired operation.
Warning: Changes or modifications not expressly approved by the party responsible for compliance could void the user’s authority to operate the equipment.
Note: This equipment has been tested and found to comply with the limits for a Class B digital device, pursuant to Part 15 of the FCC Rules. These limits are designed to provide reasonable protection against harmful interference in a residential installation.
This equipment generates, uses and can radiate radio frequency energy and, if not installed and used in accordance with the instructions, may cause harmful interference to radio communications However, there is no guarantee that interference will not occur in a particular installation. If this equipment does cause harmful interference to radio or television reception, which can be determined by turning the equipment off and on, the user is encouraged to try to correct the interference by one or more of the following measures:
(1) Reorient or relocate the receiving antenna. (2) Increase the separation between the equipment and receiver. (3) Connect the equipment into an outlet on a circuit different from that to which the receiver is connected. (4) Consult the dealer or an experienced radio/TV technician for help.
FCC ID: 2AYJ7CHE-643
Troubleshooting
| The power does not turn on. | Battery capacity of the main unit (earphones) is low → Charge the main unit. |
| Cannot charge | The main unit is not properly installed in the charging case → After installation, the multi-indicator lights up red to indicate that the main unit is properly installed. |
| Unable to pair | The device and the Bluetooth-enabled device are too far apart → Pair the device as close as possible before pairing. |
| Unable to make Bluetooth connection | Turn on the power of both LR and this unit. Also turn on the power of the Bluetooth-enabled device. |
| Turn on the Bluetooth function of the Bluetooth-enabled device. | |
| No sound | Turn on both LR and the power of the device that supports Bluetooth. Also turn on the power of the Bluetooth-enabled device. |
| The output destination setting of the Bluetooth-enabled device is not set to “CHE-643” → Select “CHE-643”. | |
| Music on the Bluetooth-enabled device is not playing → Please play music. | |
| Bluetooth-enabled device is muted or the volume is extremely low. → Unmute the device or increase the volume appropriately. | |
| Some Bluetooth-enabled devices can be set to control the volume of the Bluetooth-enabled device and the volume of the earphones separately. In this case, if the earphone volume is set to zero, no sound will be produced even if the Bluetooth-enabled device volume is turned up. In this case, if the volume of the earphones is set to zero no sound is produced even if the volume of the Bluetooth-enabled device is increased. | |
| Distorted sound or noise | There is an obstacle between the device and the Bluetooth-enabled device → Remove the obstacle. |
| There is a wireless device, microwave oven, or other device that emits radio waves in the 2.4GHz band nearby → Stop using such devices or move away from them sufficiently. | |
| The distance between the device and the Bluetooth-enabled device is too far away → Shorten the distance between the device and the Bluetooth-enabled device. | |
| Communication distance is shorter than expected or sound interrupted. | There are wireless devices, microwave ovens, or other devices emitting 2.4GHz radio waves nearby → Stop using those devices or move away from them sufficiently. |
| The battery on one side runs out first. | This is a specification and not a defect. |
Customer support
If you have any problems with the product, please contact your local distributor or contact us at the contact information below with the details of the problem and the store where you purchased the product. If you have an order number, please inform us of the order number as well.
![]()
Contact
TRA Company Ltd. / Cheero International Ltd.
E-mail
[email protected]
RF warning statement:
The device has been evaluated to meet general RF exposure requirement. The device can be used in portable exposure condition without restriction.
cheero
Wireless Earphones
Model No. : CHE-643
Capacity : 3.7V/400mAh 1.48Wh (Cradle
Input : 5V/1A
Made in China
210-193970
FCC ID : 2AYJ7CHE-643![]()
Main Specifications
| Product name | cheero Wireless Open Earphones |
| Model number | CHE-643 |
| Bluetooth Ver. | 5.3 |
| Waterproof standard | IPX5 |
| Supported profiles | A2DP/AVRCP/HSP/HFP |
| Supported coders | SBC,AAC,aptX™ |
| Maximum communication distance | 15m |
| Playback frequency bandwidth | 100Hz-15kHz |
| Battery capacity | 65mAh(main unit, one side) 400mAh(charging case) |
| Input (charging case) | 5V/1A |
| Charging time | Approx. 1.5 hours (main unit) 2 hours (charging case) |
| Playback time (main unit only) | Approx. 7 hours |
| Playback time (with charging case) | Approx. 20 hours (approx. 2 times of charging to the main unit) |
| Operating temperature | 0-45°C (32-113°F) |
| Dimensions | Approx. 47x30x25mm (main unit, one side) Approx. 62x58x54mm (charging case) |
| Weight | Approx. 10g (main unit, one side) Approx. 52g (charging case) |
Warranty Card
(1) This warranty is for the cheero Open Wireless Earphones (CHE-643) earphones and charging case. We do not guarantee damage or loss of music, other data, contents of various memories, etc. that occur during use.
(2) If a problem occurs during normal use according to the user manual or other precautions within the warranty period, we will replace the product with an equivalent by presenting or sending the warranty card.
(3) An invoice (with the order number shown) is required for warranty, so please keep it with the warranty card.
(4) This warranty will not be reissued, so please keep it in a safe place.
(5) Even within the warranty period, the warranty does not cover the following cases.
Failure or damage due to incorrect use, modification or improper repair
Failure or damage due to transportation, dropping, impact etc. after purchase
Failure or damage due to improper storage or storage
Failure or damage due to fire, earthquake, flood, lightning strike, other natural disasters, pollution, smoke damage, etc.
If this document is not presented
Other failures or damages that are not considered to be our responsibility
| Warranty period | One year from the purchase |
| Product name | cheero Wireless Open Earphones |
| Purchase date | Year Month Day |
TRA COMPANY LTD. Osaka City, Chuo-ku, Kitahama-higashi 6-6, 540-0031 JAPAN


















