S6 Walk-Behind Battery Sweeper
BATTERY SWEEPER
Operator’s Manual
Model Part No.:
1251269 – SWEEPER [ S6 JP ]

To view, print, or download the parts manual,
visit: www.tennantco.com/manuals
Tennant Company
PO. Box
10400 Clean Street
Eden Prairie, MN 55344-2650
Phone: (800) 553- 8033
www.tennantco.com
Tennant Company Japan
9F Industry & Trade Center
Yokohama, Kanagawa 231- 0023
Phone: 81- 45- 640- 5630
www.tennant.co.jp.com
Copyright © 2019 Tennant Company. All rights reserved.
SAFETY PRECAUTIONS:
This machine is intended for commercial use, for example in hotels, schools, hospitals, factories, shops, offices, and business premises generally. It is designed to pick up dirt, dry debris, and dust from the dry hard floor or carpeted surfaces in an indoor environment. It is not constructed for any other use. The pick up of any type of liquid substance or dangerous/ toxic materials is prohibited.
The machine must be used exclusively by persons trained in its use and/or who have demonstrated their ability and have been expressly authorized to use it.
All operators must read, understand and practice the following safety precautions. The machine is not intended for use by persons (including children) with reduced physical, sensory or mental capabilities, or lack of experience and knowledge unless they are supervised by a person responsible for their safety and have received instruction in the use of the machine.
WARNING
To warn of hazards or unsafe practices which could result in severe personal injury or death.
FOR SAFETY
To identify actions that must be followed for the safe operation of equipment.
Failure to follow these warnings may result in personal injury, electrocution, electric shock, fire, or explosion:
WARNING: Do Not Operate Machine In Or Near Flammable Liquids,
Vapors Or Combustible Dust.
This machine is not equipped with explosion-proof motors. The electric motors will spark upon start-up and during operation which could cause a flash fire or explosion if the machine is used in an area where flammable vapors/liquids or combustible dust are present.
WARNING: Do Not Pick Up Flammable Or Toxic Material, Burning Or Smoking Debris.
WARNING: Do Not Charge Batteries With Damaged Power Cord.
Do Not Modify Plug.
If the charger supply cord is damaged or broken, it must be replaced by the manufacturer or it’s service agent or a similarly qualified person in order to avoid a hazard.
WARNING: Disconnect Battery Cables and Unplug Charger Power Cord Before Servicing Machine.
WARNING: Do Not Use Outdoors Or On Wet Surfaces. Do Not
Expose To Rain. Stored Indoors.
WARNING: Batteries emit hydrogen gas. Keep sparks and open flame away when charging the battery.
WARNING: Installation and connection/removal of the batteries must be carried out by a TENNANT-approved technician (hereinafter referred to as qualified personnel).
The following information signals potentially dangerous conditions to the operator or equipment:
FOR SAFETY:
Do not operate the machine:
► Inflammable or explosive areas.;
► Unless trained and authorized;
► Unless operation manual is read and understood;
► If not in proper operating condition;
► Without hopper and/or filters in place;
Before starting machine:
► ►
Make sure all safety devices are in place and operate properly;
When using the machine:
► Do not pick up burning or smoking debris, such as cigarettes, matches or hot ashes;
► Do not operate in standing water;
► Report machine damage or faulty operation immediately;
► Go slow on inclines and slippery surfaces;
► Do not use for cleaning surfaces with a slope steeper than that indicated on the machine.
► Do not leave unattended or on an unlevel surface;
► Do not pick up cables, strings, wires, or other similar material;
► Make sure area is illuminated;
► Never allow children to play on or around;
► Do not transport riders or objects;
► Wear a dust mask, protective glasses, and gloves in dusty environments;,
Before leaving or servicing machine:
► Stop on a level surface;
► Turn off the machine;
When servicing machine:
► Avoid moving parts. Do not wear loose jackets, shirts, or sleeves;
► Disconnect battery connection and charger plug before working on the machine;
► Use manufacturer supplied or approved replacement parts;
► All repairs must be performed by a qualified service person;
► Do not modify the machine from its original design.
When transporting machine:
► Turn the machine off;
► Get assistance when lifting machine;
► Use a recommended ramp when loading/unloading into/off truck or trailer;
► Use tie-down straps to secure machine to truck or trailer
Battery:
► Do not use NON-rechargeable batteries
► The battery is a sealed unit and guaranteed safe under normal circumstances; in the unlikely event of fluid leaking from the
battery, do not touch the fluid, and be sure to take the following precautions:
► Contact with the skin can cause irritation; wash with soap and water.
► Inhalation of vapors can cause irritation to the airways; stay out in the open air and consult a doctor.
► Contact with the eyes can cause irritation; flood the eyes with water immediately and thoroughly for at least 15 minutes, and consult a doctor.
SAFETY LABEL:
The safety label appears on the machine in the location indicated.
Replace label if it is missing or if it becomes damaged or illegible.
WARNING
![]()
TO REDUCE THE RISK OF FIRE, ELECTRIC SHOCK, OR INJURY:

- Do Not Use Near Flammable Liquids, Vapors, or Combustible Dust.
- Do Not Pick Up Flammable or Toxic Materials and Burning Debris.
- Keep Sparks and Open Flame Away When Charging Batteries.
- Disconnect Battery Cables and Charger Cord Before Servicing.
- Do Not Charge Batteries With Damaged Cord. Do Not Modify Plug.
- Do Not Use On Wet Surfaces. Stored Indoors.
Description | ||
| Width-including side brush | mm | 700 |
| Inch | 28 | |
| Length-including side brush | mm | 870 |
| Inch | 34 | |
| Height-including handle | mm | 1067 |
| Inch | 42 | |
| Machine height w/ handle folded | mm | 510 |
| Inch | 20 | |
| Cleaning Path Width (main + side brush) | mm | 635 |
| Inch | 25 | |
| Hopper capacity (real) | Lt | 35 |
| ft3 | 1.25 | |
| Run time | h | 2 |
| Filtering surface | m2 | 0,95 |
| sq.ft | 10 | |
| Filtration | 99.5% efficient for particles up to 2 microns | |
| Productivity (for Hour) Theoretically Max | m2/h | 1742 |
| ft2/h | 18750 | |
| Productivity (for Hour) Estimate Coverage | m2/h | 1672 |
| ft2/h | 18000 | |
| Overall power of the machine in average operating conditions (PM) | W | 165 |
| Maximum slope | % | 2 |
| Gross weight (GVW) | kg | 103 |
| Transport weight of the machine with battery and empty debris bin | kg | 63 |
| Transport weight of the machine without battery, with empty debris bin | kg | 49 |
| Number of batteries | no. | 1 |
| Machine voltage VM | V | 12V dc |
| Type of battery | Gel 42Ah/C20 | |
| Mains supply voltage | V | 100V ac (50-60Hz) |
| Max current (amperes), I | A | 2.9A max |
| Sound pressure – EN 60335-2-72 | LpA (dBA) | 57 |
| Measurement uncertainty | K(dBA) | 3 |
| Measured sound power (LWA) + UNCERTAINTY (KWA) – EN 60335-2-72 | LWA+KWA (dBA) | 63 |
| Vibration level (hand) – IEC 60335-2-72 | ahv (m/sec2) | ≤2.5 |
| Measurement uncertainty, k | m/sec2 | / |
| IP degree | IPX0 | |
Gross weight (GVW): maximum permissible weight with the machine fully loaded and ready for use. The gross weight of the vehicle includes, when applicable, a detergent solution tank full of clean water, an empty dirty water tank (half full in the case of recycling systems), empty dust bags, the hopper filled to its rated capacity, the largest recommended batteries, and all accessories such as cables, hoses, detergent, mops, and brushes.
Transported weight: the weight of the machine including the batteries, but excluding optional (for example, the operator’s cabin, FOPS (Falling Object
Protective Structure), second and third side brushes and front brush attachment), freshwater (in the case of scrubbers or combined machines), and the weight of a standard operator (75 kg)
Data subject to changes without prior warning
V, I: charging/supply values
VM , PM : machine in operation (all functions on)
IDENTIFYING THE MACHINE
The nameplate provides the following information:
► Name of the manufacturer.
► Model
► Serial number.
► Year of manufacture.
► Power supply voltage (charging/supply values).
► Current intensity (charging value).
► Gross weight.
► IP degree of protection.
► Machine voltage (in average working conditions).
► Machine power (in average operating conditions)
► Maximum negotiable gradient.

| Model : | Ser.N : |
| Vac : | Date : |
| W : | IP : |
| A : | Kg : |
| Hz : |
UNPACKING:
Unpack the machine carefully avoiding movements that can cause damage.
Once the machine is unpacked, check the condition of its parts. In case the machine is broken in any of its parts, contact immediately our authorized dealer.
For shipping and packaging purposes, some assembly is required. For correct assembling instructions, see machine preparation
Packaging contents:
Machine
Side brush
Use and maintenance manual
Warranty card
Maintenance-free type battery 4mm hex wrench
Central Brush T20 amp spare fuse
Actuator F2.5 amp spare fuse
Charger F2.5 amp spare fuse
Side Brush T6,3 amp spare fuse
Fan T5 amp spare fuse
Filter Shaker F2,5 amp spare fuse
Charger cord
In the case, anything of the above should be missing, contact immediately our authorized dealer.
Assure that all packaging material (plastics, cartons, pallets, etc.) is collected and stored away from children.
MACHINE PREPARATION:
Side brush assembly:
► Raise the front part of the machine, slide the brush onto the shaft until it locks into place.
Handle assembly:
► Release the handle locks as shown
► Rotate handle into working height position
► Return handle lock to the locking position

Connecting the Battery:
Remove the top cover to gain access to the battery using the 4 mm hex wrench provided.
Locate the two Red/Black connectors.
Align the colors of the connectors.
Plug the two connectors together.

MACHINE AND CONTROL PANEL COMPONENTS:
The machine is equipped with a simple panel control that controls all the operational functions of the machine.

A) On-Off main switch of the machine
B) Led indicator for battery charge
C) Display switch
D) On-Off sweeping mode switches 1 and 2
E) Manual operating switch of the filter shaker
F) Vacuum fan switch
G) Numeric display
The functions located on the control panel can be explained as follows:
A) Main switch to turn on and off the machine.
B) Led indicator for battery charge. Green for when the machine is
charged, red for when the machine is discharged and yellow for when the machine charge is in reserve or when the machine is being charged.
C) Numeric display switch: pressing this switch, apart from seeing the machine voltage, the display indicates the working hours of the machine (pressing the switch once) and minutes (pressing the switch twice).
D) On-Off sweeping mode switches 1 and 2: these two switches allow the machine to work with two separate sweeping modes: mode 1 for light debris collection and mode 2 for heavy debris collection.
E) Manual operating switch of the filter shaker gives the possibility of shaking the filter at any time during work. This is to be intended as an addition to the automatic filter shaking that cycles every 3 minutes.
F) Vacuum fan: the vacuum fan automatically activates when the sweeping mode is on. Therefore the switch is used when the requirements are to switch off the vacuum fan during the sweeping mode.
G) Numeric display

A) CONTROL PANEL
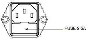
B) CHARGER FUSE (2.5A)

C) HANDLE LOCKS
D) BUMPER
E) SIDE BRUSH
F) TOP COVER
G) WARNING LABEL
H) CHARGER CORD COMPARTMENT
I) HOPPER
J) BRUSH
K) CENTRAL BRUSH FUSE (T20A)
L) ACTUATOR FUSE (F2.5A)
M) SIDE BRUSH FUSE (T6,3A)
N) FAN FUSE (T5A)
O) FILTER SHAKER FUSE (F2,5A)
USE OF THE ON-BOARD BATTERY CHARGER:
WARNING: Batteries emit hydrogen gas. Keep sparks and open flame away when charging battery.
When the battery on the machine is discharged, the red led on the control panel illuminates and all functions of the machine will automatically stop: the operator must then turn off the machine and start the charging procedure by connecting the machine battery charger plug into an AC electrical outlet. (during charging the yellow led on the display will be lit): when the machine is fully charged the green led will be lit, the battery charger plug can be disconnected and the machine is ready for operation.
IMPORTANT NOTE: USING THE MACHINE BEFORE THE BATTERY
HAS FULLY CHARGED AND A GREEN LIGHT DISPLAYED WILL
REDUCE THE LIFE AND RUN TIME OF YOUR BATTERY AND VOID
THE WARRANTY.
The onboard charger is specifically designed for Sealed batteries.
NOTE: If during working mode the machine battery charger plug is connected, the machine will automatically stop all its functions. Such operation is forbidden.
STARTING OF THE MACHINE:
ATTENTION: the machine must be used only by authorized personal, DO NOT
ABANDON the machine when switched on, do not use the machine for collecting liquid, turn the machine OFF before leaving the machine.
FOR SAFETY: DO NOT OPERATE MACHINE UNLESS OPERATION
MANUAL IS READ AND UNDERSTOOD
To start the machine use the following procedures:
► Press the main ON/OFF button
► Check the that the green led is lit indicating a proper battery charge level
Select the appropriate sweeping mode:
► ON/OFF sweeping mode button 1 – for light debris and smooth surfaces
► ON/OFF sweeping mode button 2 – for heavy debris and concrete, asphalt, and carpeted surfaces.
Notes: using sweeping mode 2 will reduce the maximum machine run time.
OPERATIONS TO MAKE FOR CORRECT USE:
After having followed all operations for starting the machine you are now ready to work with the machine as a sweeper. To achieve maximum performance follow the procedures in this manual to avoid the risk of damaging the machine.
It is important:
► Not to use the machine for collecting wires, ropes, strings, water or other liquids
► In the presence of large volume debris (paper, leaves, etc.) raise the front part of the machine by pushing down the handlebar. Shake the filter at the end of the working session.
ATTENTION: This machine is not intended for wet surface sweeping.
However, if you encounter a slightly damp environment (moisture buildup on the floor), it is required that you turn the vacuum fan switch off to prevent filter damage. Machine damage due to wet debris pickup is not covered under warranty.
ATTENTION: If the sweeper is lying inactive for a period longer than one month you must disconnect the red and black battery clips.
If the sweeper is lying inactive for a period longer than one week you should leave it connected to the electrical outlet.
WASTE HOPPER EMPTYING AND CLEANING:
Before proceeding in removing the hopper assure that the machine is turned off.
ATTENTION: WASTE DISPOSAL MUST BE DONE BY FOLLOWING
THE LAWS IN FORCE.
To clean the waste hopper proceed as follows:
► Release the hopper clamp by lifting and then pushing on the back of the clamp.
► Pull out the hopper by its handle
► Empty the hopper
To put back the hopper proceed as follows:
► Slide the hopper back into place
► Lower and press the hopper clamp to lock into place.

MACHINE MAINTENANCE:
All service performed should be completed by persons who understand the machine or an AUTHORIZED SERVICE CENTER. It is recommended that only authorized repair parts to be used for service.
FOR SAFETY: When servicing the machine disconnect the battery connection and battery charger plug before working on the machine.
| MAINTENANCE CHECKLIST | On delivery | Daily | Every 10 hours | Every 20 hours | Every 50 hours | Every100 hours |
| The belts for slackening | X | |||||
| The tightness of nuts and screws | X | |||||
| The brushes for wear | X | |||||
| The gaskets for wear and leakages | X | |||||
| If all the functions are in working order | X | X | X | X | X | X |
| Empty hopper | X | |||||
| Remove and shake pre-filter | X | |||||
| Check the main filter | X |
SIDE BRUSH REPLACEMENT:
Raise the front part of the machine.
Press in the 2 tabs (indicated by the arrows) and pull off the brushes.
Slide the new brush until it locks into place.

MAIN BRUSH REPLACEMENT:
► Tilt the machine backward until the handle is touching the ground and the main brush is easily reached.
► Manually turn the brush until a black button is seen on the right-hand side of the brush core.
► Press the button and push to disengage the brush.
► Insert the new brush following the guide.

CLEANING AND SERVICING THE FILTERS:
The filters are very important components of the machine and essential for correct operation. Proper filter maintenance will allow you to obtain the best performance from your machine.
Pre-Filter
Clean Daily
1) Remove the debris hopper to access the pre-filter
2) Release the two metal retaining clip arms that secure the pre-filter in
place. Hinge the retaining clip arms outward and remove the pre-filter.
3) Shake the pre-filter into a debris receptacle.
4) Replace the pre-filter and secure with retainer clips.
Main Filter
The Main filter can be cleaned in any of the following three ways:
1) by means of the automatic filter shaker:
During operation, the machine will automatically activate the filter shaker every 3 minutes.
2) by means of manually activating the filter shaker:
Just a simple command is needed to keep the filter in perfect working order: press the button marked ‘E’ and hold it down for a few seconds.
Repeat this operation 4 or 5 times.
Remember that the cleaner the filter, the better the results of your cleaning session. It is recommended to carry this good idea to use the manual filter shaker more frequently.
3) by manually cleaning the filter:
Manually clean the filter when the filter shaker is not enough to keep the filter clean and/or every 20 hours of work. Before carrying out any kind of procedure on the machine, make sure it is turned off and that all functions are deactivated.
1) Remove the rear hopper
2) Take the filter out
3) Blow compressed air into the side of the filter (at a pressure of 87 psi
at the most). Safety glasses required
4) Reinstall the filters and the rear hopper.

MAIN BRUSH BELT REPLACEMENT
TOOLS REQUIRED: 3mm Allen Wrench, 4mm Allen
Wrench, 5mm Allen Wrench, 8mm Socket
Parts List: MTCG00019 Belt
1) Remove the top cover from the machine by removing the four screws.
2) Unplug the Red\Black battery connector.
3) Remove right side cover.
4) Remove the mounting bolt for the side brush arm by using a 5mm
Allen wrench.

5) Remove side brush arm.

6) Loosen (do not remove) the two motor mounting bolts (8mm) and pivot the motor counter-clockwise to loosen the belt tension.


7) Remove the old belt and install a new belt onto the pulleys.
8) Tighten belt tension by pivoting the motor clockwise. Tighten the two mounting bolts.
9) Reassemble side brush arm support.
10) Reassemble covers and reconnect the battery.
11) Test for proper operation.
MAIN/SIDE BRUSH SELF-ADJUSTMENT
FEATURE:
The system allows the brush to immediately and constantly follow all types of surfaces, self adjust to surfaces and self adjust for main/side brush wear throughout the life of the brushes.
The brushes must be replaced when the code “FS0” appears on the display.

ADJUSTING THE SIDE BRUSH:
To adjust the side brush, remove the top cover, and turn the adjusting handle in the direction required.

REMOVING THE BATTERY:
WARNING: Installation and connection/removal of the batteries must be carried out by a TENNANT-approved technician (hereinafter referred to as qualified personnel).
WARNING: the battery is a sealed unit and guaranteed safe under normal conditions; in the unlikely event of fluid leaking from the battery, do not touch the fluid and be sure to take the following precautions:
► Contact with the skin can cause irritation; wash with soap and water.
► Inhalation of vapors can cause irritation to the airways; stay out in the open air and consult a doctor.
► Contact with the eyes can cause irritation; flood the eyes with water immediately and thoroughly for at least 15 minutes, and
consult a doctor.
When removing the batteries, the operator must be equipped with suitable personal protection devices (gloves, goggles, overalls, safety shoes, etc.) to reduce the risk of injury. Make sure the switches on the control panel are in the “0” position (off) and the machine is turned off.
Keep away from naked flames, do not short circuit the battery poles, do not cause sparks, and do not smoke. Proceed as follows:
► disconnect the battery cables from the battery poles.
► if necessary, remove the devices fixing the battery to the base of the machine.
► lift the batteries from the compartment using suitable lifting equipment.
CONTROL PANEL DISPLAY CODES:
Safety code | Cause | Actions to take |
| C22 | Short circuit brush protection: stops all functions | Reset by turning OFF the machine and starting again |
| C14 | Dissipater at high temperature. Activates if temperature is over 194° F | The machine resets when the temperature lowers under 176° F |
| FS0 | Worn brushes | Replace brush |
| SP1 | Brush motor restricted | Inspect brush for obstruction. Restart machine to reset |
| Yellow led lit | Battery in reserve | Machine continues to work. Only a warning that the battery is near discharge |
| Red led flashes | Battery discharged | Machine stops all functions Turn off the machine and charge the battery |
| P1.X | Sweeping mode 1 button programming activated | See programming |
| P2.X | Sweeping mode 2 button programming activated | See programming |
| SF.X | Filter shaker program setting activated | See programming |
X = A VALUE FROM “0” TO “5”
RECOMMENDED SPARE PARTS
| Part No. | WEAR PARTS |
| SPPV00303 | BRUSH, SIDE, STANDARD |
| PMVR01121 | BRUSH, MAIN, WITH LOCKING RETAINER |
| FTDP00013 | FILTER, PANEL, PAPER |
| FTDP00014 | FILTER, PRE-FILTER |
| MPVR00938 | SKIRT, FLAP, LEFT |
| MPVR00937 | SKIRT, FLAP, RIGHT |
| MPVR00935 | SKIRT, FLAP, FRONT |
| MPVR00936 | SKIRT, FLAP, REAR |
| MECB01378 | CORD, POWER, CHARGER, 100V [JP] |
| Part No. | SERVICE PARTS |
| 1065086 | BATTERY, AGM, 12VDC 50AH/C20 |
| RTRT00039 | WHEEL, REAR |
| RTRT00040 | CASTER, FRONT |
| MECE00020 | CIRCUIT BOARD, PANEL, TOUCH |
| MECE00878 | CIRCUIT BOARD ASSY, TRACTION |
| RTRT00011 | WHEEL, BUMPER |
| MECE00023 | WIRE ASSY, TOUCH |
| MPVR04693 | STRAP, STATIC |
| PMVR00438 | GUIDE ASSY, ACTUATOR |
| MOCC00035 | MOTOR, SHAKR |
| MOCC00036 | MOTOR, VACUUM |
| MOCC00033 | MOTOR, BRUSH, MAIN |
| MOCC00037 | MOTOR, BRUSH, SIDE |
| MTIG00002 | GEAR, MOTOR, SIDE BRUSH |
| MEVR01660 | CARBON BRUSH, MOTOR [MOCC00033] |
| MEVR86071 | CARBON, BRUSH, MOTOR [MOCC00037] |
| MPVR02939 | STRAP, BATTERY |
| MEVR02660 | FUSE, T20A, MAIN CARD |
| MEVR00150 | FUSE F2.5 A 250V 5X20, CHARGER |
| MEVR00150 | FUSE F2.5 A 250V 5X20, ACTUATOR |
| MEVR04016 | FUSE T6,3A, SIDE BRUSH |
| MEVR02825 | FUSE T5A 32V, FAN |
| MEVR00150 | FUSE F2.5 A 250V 5X20, FILTER SHAKER |
| MTCG00019 | BELT, BRUSH, MAIN |
| MOCC00034 | ACTUATOR, BRUSH |
| MPVR01708 | GASKET KIT, [3 PC] |
| GUGO00414 | GASKET SHAKER FRAME |
| MPVR00931 | GASKET, FILTER |
| CUVR46942 | BEARING, BRUSH, MAIN |
| CUVR00164 | BEARING |
Tennant Company
PO. Box
10400 Clean Street
Eden Prairie, MN 55344-2650
Phone: (800) 553- 8033
www.tennantco.com
Tennant Company Japan
9F Industry & Trade Center
Yokohama, Kanagawa 231- 0023
Phone: 81- 45- 640- 5630
www.tennant.co.jp.com














