EX3 Quick Start Guide

EX3 Quick Start Guide

- Brushless motor
- Undercarriage
- Propeller
- Camera
- Ultrasonic sensor
- Lights
- Vision positioning lens
- Battery
- Front light
- Rear light

- Power switch
*Please turn to User Manual for detailed information of flight environment requirements
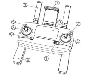
Remote Controller

- Power switch
- One-key RTH
- Left stick
- Right stick
- Photo/Video
- One-key unlock
- Mobile phone holder
- Antenna
- Hand stick
- LCD display
- One-key takeoff/One-key landing

- High/Low speed switch
(short-press); Light switch (long-press) - Gimbal trimmer
- Gesture/GPS mode switch
Photo/Video
Short-press to take photos; Long-press to take videos.
One-key takeoff/One-key landing
Short-press to switch one-key takeoff or one-key landing.
EX3 Quick Start Guide
Short-press to enter into RTH procedure; Press again to exit RTH.
One-key unlock
Short-press to unlock; Long-press to lock.
High/Low speed switch (short-press); Light switch (long-press)
Short-press to switch High/Low speed; Long-press to turn on/off the LED lights.
Gesture/GPS mode switch
OFF – Gesture Mode; ON – GPS Mode.
Gimbal trimmer
LCD screen display
Return to Home (RTH) Icon
The icon is on during the RTH procedure and will be off once RTH procedure canceled.
Aircraft battery level
It indicates current aircraft battery level.
Distance against Home Point
It indicates current aircraft flying distance against recorded Home Point.
Satellite amount
Once the GPS signal amount is over 7, Home Point will be recorded at the location where the aircraft takes off.
High/Low speed mode
LOW – Low Speed; HIGH – High Speed.
Signal strength
It indicates the signal strength that the remote controller receives from the aircraft.
Photo/Video
Flashing once to take photos; Keep flashing to take videos.
Remote controller battery level
It indicates remote controller current battery level.
Altitude against Home Point
It indicates aircraft current altitude against Home Point.
Remote controller throttle mode
It indicates current throttle mode. Throttle mode is set at Mode 2 by default.
GPS mode
ON – GPS Mode; OFF – Gesture Mode.
Download the software “X-DRONE” APP
- For Apple IOS system, please turn to Apple store, search “X-DRONE” or scan the QR code to download the software.
- For Android system, please scan the “Google play” QR code or search “X-DRONE” in “Google play” to download the software.
Prepare your EX3

Flight Preparation

Install 2*AA batteries into the Install the aircraft battery
remote controller.
Signal connection

Keep pressing the unlock button and turn Power on the aircraft by pressing the
on the remote controller. switch on the aircraft for 3 seconds
Compass calibration


Step 1. Rotate the EX3 360 degrees for 3 circles horizontally.
Step 2. Rotate the EX3 360 degrees for 3 circles vertically.
Connect your mobile device with EX3

Unlock the aircraft

Short-press the unlock button.
Change the throttle mode

Keep pressing the unlock button and turn on the remote controller.
Keep pressing the RTH button for 3 seconds to change the throttle mode.
Control the aircraft
Throttle mode is set at Mode 2 by default. Left stick determines the aircraft’s altitude and orientation; Right stick control the function of each stick movement.

Mode 1 is opposite to Mode 2. That’s to say, in Mode 1, right stick determines the aircraft’s altitude and orientation, left stick control the function of each stick movement.

Turn off the remote controller and aircraft

Long-press the unlock button and turn off Power off your aircraft by pressing
the remote controller. the switch for 3 seconds.
Charge the Aircraft Battery
- The aircraft needs to be full charged before every flight;
- Please use Eachine charging device for this aircraft;
- Full Charging time takes about 270 minutes.


Read More About This Manual & Download PDF:
EX3 Quick Start Guide – Download [optimized]
EX3 Quick Start Guide – Download


One-key unlock
High/Low speed switch (short-press); Light switch (long-press)

Aircraft battery level
Distance against Home Point
Satellite amount
High/Low speed mode
Photo/Video
Remote controller battery level
Remote controller throttle mode
GPS mode




















