Pro-Ject Signature 12 Turntable Instruction Manual
Controls, features and connections
- Platter
- Platter shaft
- rive pulley
- Drive belt
- Idler pulley shaftHowdy, parkha

- Idler pulley
- Platter belt
- Transport screws
- Adjustable feet
- Tonearm
- Azimuth set screw
- VTA locking screw
- VTA set screw
- Mounting distance adjusting screw
- Locking screw for mounting distance adjusting
- Power supply
- Control panel
- ON/OFF switch
The device is transported in a partially disassembled to prevent damage sensitive parts. Check the packaging and the device immediately if they were not damaged during transport. Damaged devices not operate. Compare the data for electrical connection on the plate with the data network. These data must match in order to avoid damage of the turntable.
Turntable accessories:
- 2 pieces of anti-skating thread
- Centering ring
- Allen key 1.6mm
- Allen key 2mm
- Allen key 5mm
- Signal cabel Connect IT PHONO 5P-C (123 cm, already connected in the tonearm)
- White cotton gloves
- Cloth
- Additional counterweight Ø15mm, length 30mm. (together with the basic counterweight balance cartridge with weight 8-15 gr)
- Additional counterweight Ø15mm, length 45mm. (together with the basic counterweight balance cartridge with weight 15-23 gr)
- Spirit level Pro-Ject Level IT
- Tool for correct cartridge assembly
- Record puck
- Cartridge alignment tool Pro-Ject Align IT
- Electronic stylus balance Pro-Ject Measure IT
- Instructions for use
Pro-Ject Signature 12
Dear music lover,
thank you for purchasing a Pro-Ject Audio Systems record player.
In order to achieve maximum performance and reliability with this record player you should study these instructions for use carefully.
Warning of a hazard for the user, the unit or possible misuse
Important notice
** The following instructions for adjusting the cartridge are provided in case the cartridge is mounted (turntable was supplied without cartridge) or is replaced by a different model at a later date. During assembly and adjustment of the deck small parts could be lost if not carefully placed in a suitable receptacle. Before starting assembly familiarize yourself with the parts listed above and correspondingly numbered in the technical drawings above. Separately packed items are marked with an asterisk *.
Set-up
Read thoroughly the manual and follow all instructions after unpacking the turntable. Make the turntable assembly of distributed components in the package.
- Installation of adjustable feet (9)
The feet are disassembled for transport and stored in the package of platter. Screw the feet into the thread inserts of the turntable plinth.
Platter assembly
Before platter (1) assembly, unscrew three transport screws.
Remove protective covers from shaft and platter bearing. Check for adequate lubrication of the shaft (2). If necessary, lubricate with grease in the attached accessories.
WARNING: The platter is floating on magnets. When putting on the shaft, take care not to damage the magnet.

Idler pulley assembly
Idler pulley consists of two parts. One is powered by the motor units and one is floated on the magnetic cushion. Both parts form a whole stored on a common shaft. Before installing this kit remove the covers from the shaft and bearing. Check for adequate lubrication. If necessary, lubricate with grease in the attached accessories.
Drive belt assembly
Drive belts (4) fitting in order:
front drive – idler pulley (3)
rear drive – idler pulley (3)
Drive belt (7) idler pulley (3) – platter (1)
WARNING: Don’t stretch belts too much to avoid damage.
Head shell Head shell is stored in a separated packaging. When assembling, follow instructions:
a) Mounting the cartridge into the headshell:
Fitting and connecting the cartridge
** All cartridges with half inch mounting holes can be fitted. Leaving the needle’s protection cover on, fit the cartridge to the headshell using the screws supplied with the cartridge by passing one screw through each slot in the headshell (14). Do not tighten the nuts yet. Connect the tonearm wires to the cartridge pins as follows:
b) white left channel positive (L+)
c) red right channel pos. (R+)
d) green right channel return (R -)
e) blue left channel return (L -)
f) The full sound quality of the record player can only be achieved if the cartridge is correctly adjusted. Particular tools like the Pro-Ject Alignment Tool are required to accomplish this job properly.
g) If you are not well acquainted with the adjustment of cartridges you are advised to call upon the willing help of your Pro-Ject dealer to accomplish this task for you.
Please note: Adjusting a cartridge and tonearm calls for the greatest care in order to avoid damaging the cartridge or tonearm bearings. Leave this work to your dealer if you are in any way unsure of the necessary steps and precautions to be taken.
For cartridge assembly use fasteners from cartridge accessories. Fix the cartridge in the middle of headshell oval holes.
h) Connecting cartridge
- White left channel L+
- Red right channel R+
- Green right channel R-
- Blue left channel L
Head shell assembly
Plug heads hell into the front of the tube. Connector pin must be oriented into the groove. Fixing nut tighten on the tonearm tube properly.
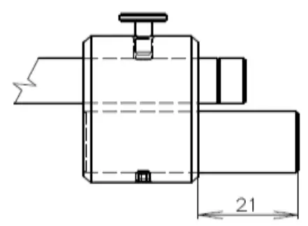
Counterweight assembly
Put on counterweight on the support rod. Tighten the locking screw gradually and watch than the shaft entry into thread groove. Then tighten the locking screw. Correction of counterweight’s weight is provided by additional counterweight is also tighten by the set screw.
Setting range of counterweight
- Counterweight without additional counterweight

This setting balance cartridge with weight 4.5 – 8 gr. - Counterweight with additional counterweight with dimensions Ø15mm, length 30mm

This setting balance cartridge with weight 8 – 15 gr. - Counterweight with additional counterweight with dimensions Ø15mm, length 45mm.

This setting balance cartridge with weight 15 – 23 gr. Please note that the maximum visible part of this additional counterweight is 21mm
k) Assembly of removable tonearm part to the turntable
Detachable tonearm part, which we already prepared, carefully put to it’s place.

Insert output connector carefully into socket in housing. Positioning pin must be directed to cartridge counterweight. After insertion the connector into socket, lock the connector with fixing nut.
Tonearm output connection
Attached signal cabel plug to tonearm 5-PIN connector, which is located on the bottom side of the turntable. Keep the right positioning.
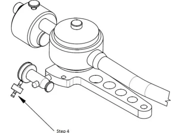
m) Anti-skating assembly
Assembly of anti-skating is described in the following four steps:
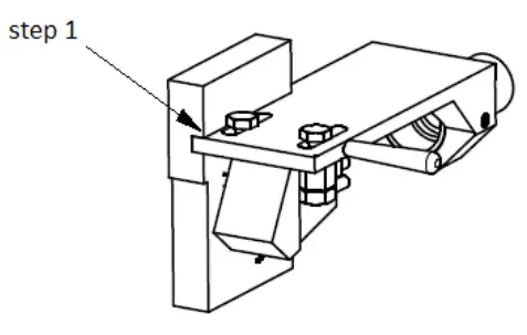
Step 1: Mounting the thread on the hook screw
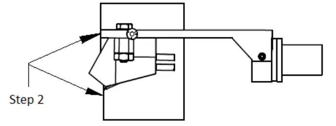
Step 2: Put the thread on the correct position in the tonearm groove
Step 3: Mounting the anti-skating sliding mechanism on the shaft
Step 4: Positioning of the sliding mechanism. Eye of the thread insert on the pin in the groove.
When the tonearm is over the first outer groove of the record, the anti-skating thread must be already tensioned, when it’s in the end, it must be still on tension.
WARNING: When the thread isn’t tensioned at the beginning, at the end already falling on the other side. Be careful, there is a danger to rip off thread by tensile force.
Operation and calibration
Cartridge setting
- Effective length = 304.8mm (12”)
(distance between needle of the cartridge and the vertical rotation axis of the tonearm)
- Mounting distance= 291.6mm
(distance between spindle and the vertical rotation axis of the tonearm)
- Inner nullpoint: r= 62,5mm
For correct setting you can use either the protractor or Pro-Ject Align It tool.
- Tool for cartridge alignment and adjustment
- Special slip-proof tool for defining the turning centre of tonearm
- Adaptable to accommodate differing tonearm lengths
- Suitable for other manufacturer’s tonearms
Please note: Adjusting a cartridge and tonearm calls for the greatest care in order to avoid damaging the cartridge or tonearm bearings. Leave this work to your dealer if you are in any way unsure of the necessary steps and precautions to be taken.
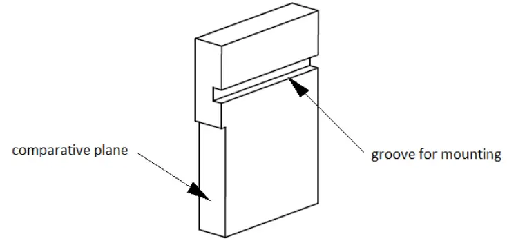
Setting the position of cartridge in the head shell:
For setting the correct position of cartridge in head shell grooves we designed for you small tool from transparent plexiglass. Please note that this tool is only for head shell from Pro-Ject SIGNATURE tonearm.
Step 1: Place the tool with groove to the headshell as shown.
Step 2: Then move the cartridge to the correct position. Correct position is, if the top of the needle is in the same plane like as comparative plane of tool. This is illustrated in the following picture.
Setting the vertical tracking force (VTF)

Place counterweight halfway along the counterweight support rod, being sure to have the locking screw uppermost. With the power of and platter static, place the stylus pressure gauge onto the platter. To set the required VTF place the tip of the stylus on the pressure gauge. Moving the counterweight towards the cartridge will reduce VTF and away will increase VTF. In order to avoid the damage oh the cartridge be sure that all time all the cartridges movements must be done in upper tonearm lift position. Repeat the measuring procedure until you get the correct VTF.
Adjust the VTF prior to installing the anti-skating weight.
For adjustment and control of vertical tracking force (VTF) is supplied in the package electronic stylus balance Pro-Ject Meaure IT II
Please note: It is advised to remove stylus tip from gauge or fit stylus protection whilst making adjustments to avoid damage to stylus.
Product information:
- Case made of aluminium
- 4 digit LCD-Display with backlight
- Capacity 0-5g
- Variance ± 0,002g
- Auto calibration function
- Auto off after 60 seconds
- Batteries supplied (teo AAA cells)
- imensions (W x H x D) 122 x 25 x 55mm
- Weight 170g
Adjusting the vertical tracking angle (VTA)
Put a record on the platter. When the needle is lowered into the record groove and the tonearm is not resting on the tonearm rest, the tube of the tonearm should be parallel to the surface of the record. If it is not, loosen both VTA adjustment screws in the tonearm base just enough to allow vertical movement of the arm pillar without force and slide the arm up or down until it is parallel. Carefully retighten VTA adjustment screws without applying excessive force which would deform the arm pillar.
Adjusting the azimuth
The cartridge needle must be vertical in the record groove in order to trace the groove wall modulations correctly. A small azimuth adjusting screw on the headshell allows incorrect azimuth to be corrected. Correct position can be checked from the front view, preferably with needle placed on a mirror which is placed on platter.
Examples of incorrect azimuth setup:
Too much left angle:
Too much right angle:
The correct position is 100% perpendicular to the record.
Mounting distance adjustment

Loosen the locking nut allows the linear shifting of the tonearm. Adjust correct distance by using of the scale. The correct mounting distance 304.8 mm on the scale is valid only if the cartridge is in the correct position on the headshell.
However there are exist very special and different cartridge types which makes a correct mounting distance impossible. In this case you can change the distance of the arm easily and allow you to use all available cartridge types.
Additional this feature allows you to use different alignment tools. There are existing different versions of alignment tools for setting and optimization of null points. You can get with different settings small sound variations
Anti-skating force adjustment

With the anti-skating slider adjust the position of the arm weight at 45 degrees.
Downforce : Anti-skating groove:
Lower than 13mN : 1st from bearing rings
13 – 18 mN : 2nd from bearing rings
18 – 25mN : 3rd from bearing ring
Adjusting the turntable plane
Put the spirit level on the top of the turntable. With feet that are screw-type balance the turntable. Control the plane in several directions.
For optimum positioning of a turntable is supplied Pro-Ject LEVEL IT
Connect the turntable to the power supply and amplifier
Turntable is supplied with a power supply suitable for your country’s mains supply. Check the label before connecting to ensure compliance with the mains rating in your house. Connect the low voltage plug from the power supply to the socket on the rear of the turntable before connecting the power supply to the mains.
Connect the signal cable to your phono preamplifier
- Red – right channel
- White – left channel
The turntable control
- Turn on the switch located in the bottom of plinth
Turntable control is performed by the touch screen. After turning the switch on, the display shows logo Pro-Ject. Touching the screen you can control the turntable functions.
Touching on field 33 or 45 selects the desired speed. The display shows „WAIT“ . After reaching rated speed is displayed selected value 33,3 or 45,1 . Rated speed can be correct by touching the + or –, which changes the value by 0.1 % Turn off or pause the recording, touch STOP. Please note :
For correct control of turntable speed, we recommend the Pro-Ject Strobe it (available separately) as a reliable means to double check and confirm the speed.
Determining the correct spinning speed of a turntable with Strobe it:
Strobe it shows circularly arranged dashes that are assigned to speed and frequency. Please remember the ring that matches speed and frequency (33 1/3 rpm with 50 Hz and 45 rpm with 50 Hz are valid for Europe). Put Strobe it on the turntable platter and start the turntable. The tonearm remains in its initial position. Align a mains powered light source directly to the turntable with Strobe it rotating. The dashes of previously pinned ring should now give the impression to stand still. If they seem to move slightly forward or backward, the speed is either too high or too low.
Note:
Use normal mains-operated lamps. Daylight, fluorescent lamps (energy saving lamps) as well as flashlights and LEDs, which are operated with direct current are not suitable
By touching the screen on the „T“ go to time and date setting window. Touch the mark with altered number and correct value by + or -. The set values can be saved by touching the „S“. To return to control touch the „C“.

Potential incorrect use and fault conditions
PRO-JECT turntables are manufactured to the highest standards and undergo strict quality controls before leaving the factory. Faults that may possibly occur are not necessarily due to material or production faults but can sometimes be caused by incorrect use or unfortunate circumstances. Therefore the following list of common fault symptoms is included.
The platter doesn’t turn although the unit is switched on:
The unit is not connected to the mains power supply. No mains at the socket. Drive belt is not fitted or has slipped off.
No signal through one or other channel or both channels:
No signal contact from the cartridge to the internal tonearm wiring or from that to the arm lead or from that to the phono box or between that and the amplifier. This could be due to a faulty plug, broken wire or solder joint loose plug/socket connection. Phono input not selected at amplifier. Amplifier not switched on. Amplifier or speakers defective or muted. No connection to the loudspeakers.
Strong hum on phono input:
No earth connection from cartridge or arm or arm cable to amplifier, or earth loop.
Distorted or inconsistent sound from one or both channels:
Record player is connected to wrong input of amplifier, or MM/MC switch incorrectly set. Needle or cantilever damaged. Wrong r.p.m., drive belt overstretched or dirty, platter bearing without oil, dirty or damaged.
Service
Should you encounter a problem which you are not able to alleviate or identify despite the above information, please contact your dealer for further advice. Only when the problem cannot be resolved there should the unit be sent to the responsible distributor in your country. Guarantee repairs will only e affected if the unit is returned correctly packaged. For this reason we recommend keeping the original packaging. Never return a record player without making sure that is it safety disassembled and correctly packaged in the original packaging according to the supplied diagram. Please remove these parts and pack them separately: feet, counterweight, platter, cartridge and belt. Fit the cartridge protection cap. Insert the transport lock for the tonearm prior to carefully packaging the record player.
Warranty
The manufactured accepts no responsibility for damage caused by not adhering to these instructions for use and/or by transportation without the original packaging. Modification or change to any part of the product by unauthorized persons releases the manufacturer from any liability over and above the lawful rights of the customer.
Pro-Ject Audio Systems is a Registered Tredemark of H. Lichtenegger
This guide was produced by: Pro-Ject Audio Systems Copyright © 2014. All rights reserved
The information was correct at the time of going to press. The manufacturer reserves the right to make changes to the technical specification without prior notice as deemed necessary to uphold the ongoing process of technical development
Technical specifications Pro-Ject SIGNATURE 12
| Nominal speeds | 33,3/45,11 r.p.m |
| Switching speeds | electronic, by LCD display |
| Speed variance | + 0,1% |
| Wow and flutter | + 0,08% |
| Signal to noise | -75 dB |
| Drive | 3x silicon drive belt |
| Motor | 2x micro-processor synchronous motors |
| Platter | Aluminium alloy Ø300mm |
| Power supply | switch mode power supply |
| Power consumption | 20W DC |
| Dimensions | 570 x 440 x 234mm (WxHxD) |
| Weight | 34,3 kg |
| Effective tonearm length | 12”(304,8mm) |
| Effective tonearm mass | 19,5g |
| Mounting distance | 291,6mm |
| Overhang | 13,2mm |
| Offset angle | 18° |
| Inner nullpoint | r= 62,5mm;r=125.85mm |
| Vertical tracing force range | 0-30mN |
Maintenance and cleaning
Your record player requires little or no regular maintenance. Remove dust with a slightly moistened antistatic cloth. Never use a dry cloth because this will create static electricity which attracts more dust! Antistatic cleaning fluids are available at specialist stores but must be applied sparingly to avoid damage to rubber parts. It is recommended to fit the needle cover before cleaning or maintenance is carried out to avoid damage. If the player is not used over a long period of time the drive belt can be removed to prevent unequal stretching.
Always disconnect the record player from the mains power supply as a precaution before maintenance!


© Pro-Ject Audio Systems · Pro-Ject Signature 12 · Revision 2014.11.04






















