Page
1 of 9
USER MANUAL
| Prepared by Andrei Sazonov | Product name/number TR06 radio module | |||
| Document responsible (approved by) Andrei Sazonov | Checked | Date: YYYY-MM-DD 2021-03-15 | Release F | File Name TR06 User Manual |
TR06 Radio Module User Manual

Developed for demanding environments
Scanreco´s TR06 is built and designed for the toughest and most demanding of environments. Scanreco can hereby offer the market of crane and machine operators an extremely easy to use radio remote control retaining speed, precision, and control with the maximum of safety.
Behind the development of the radio transeivers lies the idea of providing a product with a high degree of reliability, user-friendliness, and easy upgrade for cable systems or other data radio applications. The product family includes different transeivers and receivers offering a variety of choice depending on the area of use. These products are based on a modular architecture, which makes them extremely flexible to customize and adapt according to the customer’s needs.
The products which are in high demand are mainly mounted on cranes and mobile machines. Our customers are some of the world’s largest and most challenging crane and machinery manufacturers. Thousands of cranes and machines containing Scanreco’s radio products are in use worldwide.
Our products are deployed everywhere, from truck cranes laying heating pipes in Stockholm to lifting oil pipelines in Russia and setting in place concrete sections in Singapore.
Scanreco - What do you want to remote?
Our customers development is our own development. This enables us to offer:
- Customer-specific solutions
- Industrial know-how
- Expertise and experience
- Innovative capacity
- Nimble organisation
- Quality
- Delivery precision
- Service
Page
2 of 9
USER MANUAL
| Prepared by Andrei Sazonov | Product name/number TR06 radio module | |||
| Document responsible (approved by) Andrei Sazonov | Checked | Date: YYYY-MM-DD 2021-03-15 | Release F | File Name TR06 User Manual |
TR06 Radio Module Parameters for 2,4GHz band
Attribute Information
Frequency : 2405 2480 MHz
Channels : 16 (5MHz step)
Channel management : FHSS, DSSS
Channel order : Pseudorandom
Channel bandwidth : 2,7MHz
Modulation : QPSK
Power : 125m W max
Type : Transceiver
TR06 Radio Module Parameters for 915Hz band
Attribute Information
Frequency : 903,5 - 926,53 MHz
Channels : 50
Channel management : FHSS
Channel order : Pseudorandom
Channel bandwidth : 100 kHz
Data rate : 50 kbps
Modulation : FSK
Power : 1W max
Type : Transceiver
Page
3 of 9
USER MANUAL
| Prepared by Andrei Sazonov | Product name/number TR06 radio module | |||
| Document responsible (approved by) Andrei Sazonov | Checked | Date: YYYY-MM-DD 2021-03-15 | Release F | File Name TR06 User Manual |
TR06 Radio Module RF and I/O Interfaces

RF1 and RF2 are the radio connectors for the 900MHz frequency band.
RF2 and RF3 are the radio connectors for the 2,4GHz frequency band.
K1 and K2 are digital interface and power supply connectors.
TR06 Radio Module Power Sourcing
Voltage Nominal, V Max, V
VCC Radio 3 3,4
VCC Amplifier 3,4 4,0
Page
4 of 9
USER MANUAL
| Prepared by Andrei Sazonov | Product name/number TR06 radio module | |||
| Document responsible (approved by) Andrei Sazonov | Checked | Date: YYYY-MM-DD 2021-03-15 | Release F | File Name TR06 User Manual |
TR06 Radio Module Integration
This product is intended to be installed in a remote-control system as a transmitter and it is designed preferably for wireless control of crane installations, travelling hoist units, chain and rope hoists, transfer carriages and similar applications.
The host products labels shall state depending on the model used:
Contains FCC ID: N5OTR061, Contains IC ID: 6476A-TR061,
Contains FCC ID: N5OTR062, Contains IC ID: 6476A-TR062,
Contains FCC ID: N5OTR064, Contains IC ID: 6476A-TR064.
Host exemple: 1 Remote control; 2 Control box


Page
5 of 9
USER MANUAL
| Prepared by Andrei Sazonov | Product name/number TR06 radio module | |||
| Document responsible (approved by) Andrei Sazonov | Checked | Date: YYYY-MM-DD 2021-03-15 | Release F | File Name TR06 User Manual |
Remote Controls “MIco” and “Mini”


Micro Mini
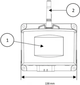
Control box

Top View
- General label
- External antenna
Page
6 of 9
USER MANUAL
| Prepared by Andrei Sazonov | Product name/number TR06 radio module | |||
| Document responsible (approved by) Andrei Sazonov | Checked | Date: YYYY-MM-DD 2021-03-15 | Release F | File Name TR06 User Manual |
Installation description:
- Mount the TR06 radio module on a main electronics boards with help of 4 screws. Solder the radio modules pinheaders or use connectors for establish the electrical contacts with a main board.
- Mount the main board with the TR06 radio module inside a host.
Note: The host products labels shall state:
Contains FCC ID: N5OTR061, Contains IC ID: 6476A-TR061
Contains FCC ID: N5OTR062, Contains IC ID: 6476A-TR062
Contains FCC ID: N5OTR064, Contains IC ID: 6476A-TR064
Antennas
For available antennas please, see the document “Theory of operation of TR06 radio module.
In hand-held / hand operated hosts for 915MHz band just antennas with max gain 0dBi should be used (for example art. n. 103003 and 102986).
Test modes and additional testing
The special test software for measurement of radio parameters and spurious emission is provided.
TR06 radio module compiles with Part 15.247 of FCC Rules. But final host product still requires the Part 15 Subpart B compliance testing with the radio modul installed.
Page
7 of 9
USER MANUAL
| Prepared by Andrei Sazonov | Product name/number TR06 radio module | |||
| Document responsible (approved by) Andrei Sazonov | Checked | Date: YYYY-MM-DD 2021-03-15 | Release F | File Name TR06 User Manual |
FCC Information
This equipment has been tested and found to comply with the limits for a Class B digital device, pursuant to part 15 of the FCC Rules. These limits are designed to provide reasonable protection against harmful interference when the equipment is operated in a commercial environment. This equipment generates,uses, and can radiate radio frequency energy and, if not installed and used in accordance with the instruction manual, may cause harmful interference to radio communications. Operation of this equipment in a residential area is likely to cause harmful interference in which case the user will be required to correct the interference at his own expense.
This device compiles with Part 15 of FCC Rules. Operation is subject to the following two conditions:
- This device may not cause harmful interference, and
- This device must accept any interference received, including interference that may cause undesirable operation.
Warning
Changes or modifications not expressly approved by the party responsible for compliance could void the user’s authority to operate the equipment.
Industry Canada Information
This device complies with Industry Canada licence-exempt RSS standard(s). Operation is subject to the following two conditions: (1) this device may not cause interference, and (2) this device must accept any interference, including interference that may cause undesired operation of the device.
CAN ICES-3 (A)/NMB-3(A)
Page
8 of 9
USER MANUAL
| Prepared by Andrei Sazonov | Product name/number TR06 radio module | |||
| Document responsible (approved by) Andrei Sazonov | Checked | Date: YYYY-MM-DD 2021-03-15 | Release F | File Name TR06 User Manual |
Radiation Exposure Statement
To comply with FCC/IC RF exposure limits for general population / uncontrolled exposure, the antenna(s) used for this transmitter must be installed to provide a separation distance of at least 20 cm from all persons and must not be co-located or operating in conjunction with any other antenna or transmitter.
For radio modules installed into the hand-held / hand operated hosts the minimum separation distance from antennas to hands is 5 mm for 2,4GHz frequency band and 30 mm for 915MHz frequency band.
Page
9 of 9
USER MANUAL
| Prepared by Andrei Sazonov | Product name/number TR06 radio module | |||
| Document responsible (approved by) Andrei Sazonov | Checked | Date: YYYY-MM-DD 2021-03-15 | Release F | File Name TR06 User Manual |
Revision history
| Release | Date: YYYY-MM-DD | Edited By | Changes |
| A | 2020-09-23 | Andrei Sazonov | First creating of document |
| B | 2020-11-26 | Amie Hafström | Changed from Class A to Class B equipment for FCC |
| C | 2020-11-26 | Andrei Sazonov | Revised document |
| D | 2021-01-14 | Andrei Sazonov/ Amie Hafström | Revised document |
| E | 2021-03-02 | Andrei Sazonov | Page 4: antenna using condition for hand-held / hand operated hosts added. Page 6: specific FCC rula part added. Page 8: separation distance for hand-held / hand operated hosts specified. |
| F | 2021-03-15 | Andrei Sazonov | Page 6: antenna pn 102890 corrected to 103003 |
scanreco Radio Module User Manual – Download [optimized]
scanreco Radio Module User Manual – Download


















