iCON AH-730 Automatic Antenna Tuner Instructions![]()
Thank you for choosing this Icom product.
READ ALL INSTRUCTIONS carefully and completely before using this product.
Important
SAVE THESE INSTRUCTIONS— These instructions contain important operating instructions for the AH-730.
Features
- Wide tuning range
The AH-730 provides reliable matching from 1.8 MHz to 54 MHz when using at least a 7 m (23 ft) antenna or 3.5 MHz to 54 MHz when using the AH-2b antenna element. - Automatic digital control tuning
The built-in 32 bit microprocessor chooses the lowest SWR using more than 1,040,000 different LC (coil/ capacitor) combinations. - 45 frequency memories for fast tuning
The LC combinations of 45 previously-used frequencies are automatically memorized. Once a frequency is memorized, the AH-730 tunes on that frequency in less than 1 second. Note that the AH-730 does not memorize a frequency which is normally tuned within 2.5 seconds.
Memories are retained only when the power is on. - 0.3 W radiated power
Radiated power during tuning is less than 0.3 W, minimizing interference to other stations. - IPX4 weatherproof design
The AH-730’s tightly sealed plastic case allows convenient mounting virtually anywhere. The AH-730 can be mounted outdoors under your antenna.
NOTE: The AH-730 can be used with most of Icom HF transceiver, which covers HF through 50 MHz bands. However, the IC-706 and IC-736 can only be tuned in the 1.8 ~ 30 MHz range.
Supplied accessories
- U-bolts

- Hex head bolts (M6 × 50)

- U-bolt plates

- Self-tapping screws (A0 6 × 30)

- Flat washers (M6 large)

- Weatherproof cap

- Rubber vulcanizing tape

- Flat washers (M6 small)

- Spring washers (M6)

- Nuts (M6)

- Control cable (Approximately 10 m, 32.8 ft (without ground wires))

Explicit definitions
| WORD | DEFINITION |
| Personal death, serious injury or an explosion may occur | |
| Personal injury, fire hazard or electric shock may occur | |
| CAUTION | Equipment damage may occur |
| NOTE | If disregarded, inconvenience only. No risk of personal injury, fire or electric shock. |
Precaution
DANGER! NEVER operate the antenna tuner without a solid ground. Always connect the ground wire to the ground terminal. DO
NOTE use the mounting plate as a ground terminal.
DANGER! NEVER transmit or tune without an antenna connected. Failure to use an antenna will damage the antenna tuner.
DANGER! HIGH VOLTAGE! NEVER touch the antenna while transmitting or tuning. Place the antenna in a position where you are sure it will not be touched.
KEEP the antenna tuner away from heavy rain and never immerse it in water. The antenna tuner meets IPX4 requirements for splash resistance. However, once the antenna tuner has been dropped, splash resistance cannot be guaranteed due to the fact that the antenna tuner may be cracked or the waterproof seal damaged, and so on.![]()
FCC information
This equipment has been tested and found to comply with the limits for a Class B digital device, pursuant to part 15 of the FCC Rules. These limits are designed to provide reasonable protection against harmful interference in a residential installation. This equipment generates, uses, and can radiate radio frequency energy and, if not installed and used in accordance with the instructions, may cause harmful interference to radio communications. However, there is no guarantee that interference will not occur in a particular installation. If this equipment does cause harmful interference to radio or television reception, which can be determined by turning the equipment off and on, the user is encouraged to try to correct the interference by one or more of the following measures:
- Reorient or relocate the receiving antenna.
- Increase the separation between the equipment and receiver.
- Connect the equipment into an outlet on a circuit different from that to which the receiver is connected.
- Consult the dealer or an experienced radio/TV technician for help
CAUTION: Changes or modifications to this device, not expressly approved by Icom Inc., could void your authority to operate this device under FCC regulations.
This device complies with part 15 of the FCC Rules. Operation is
subject to the following two conditions:
- This device may not cause harmful interference, and
- This device must accept any interference received, Including interference that may cause undesired operation.
Disposal
The crossed-out wheeled-bin symbol on your product, literature, or packaging reminds you that in the European Union, all electrical and electronic products, batteries, and accumulators (rechargeable batteries) must be taken to designated collection locations at the end of their working life. Do not dispose of these products as unsorted municipal waste. Dispose of them according to the laws in your area.
About CE and DOC
Hereby, Icom Inc. declares that the versions of AH-730 which have the “CE” symbol on the product, comply with the essential requirements of the Radio Equipment Directive, 2014/53/EU, and the restriction of the use of certain hazardous substances in electrical and electronic equipment Directive, 2011/65/EU. The full text of the EU declaration of conformity is available at the following internet address:
https://www.icomjapan.com/support/
Installation
CAUTION:
- NEVER modify, bend, twist, pull or heat the control cable and the coaxial cable.
- NEVER hang something heavy on the control cable and the coaxial cable.
- NEVER mount the AH-730 without securing the control cable and the coaxial cable so that they cannot be pulled or stretched.
Waterproofing the antenna connection
CAUTION: If you skip the following steps, moisture will get into the connector, and this could damage the antenna tuner.
- Cut off just the top of the weatherproof cap, and pass the antenna wire through the cap.

- Insert the antenna wire into the opening of the crimp-on wire terminal.

Crimp or solder the antenna wire. - Put the crimp-on wire terminal, star washer, and wing nut on the base nut, in that order, and then tighten the wing nut.

Make sure the base nut is tightened firmly before you tighten the wing nut, as shown below.
Carefully bend the wire terminal up after you tighten the wing nut. (1) - Place the weatherproof cap over as much of the insulator as possible. (2)
How far down it will go depends on the height of the wing nut. - Start wrapping the rubber vulcanizing tape at the bottom of the insulator, then the weatherproof cap, and finally the antenna wire to prevent water seeping. (3)

Wrap user supplied electrical tape over the rubber vulcanizing tape to secure waterproofing.
Ground connections
The ground wire of the antenna tuner is used as an antenna element. The transceiver and antenna tuner must have an adequate ground connection. Otherwise, the overall efficiency of the transceiver and antenna tuner installation will be reduced. Interference, RF feedback, and electrical shocks from other equipment could also occur.
For best results, use the heaviest gauge wire or strap available, and make the connection as short as possible, as shown below.
long wire connected to the GND terminal as a counterpoise is also acceptable.![]()
Cable connections
NOTE: Connect a user supplied coaxial cable to the appropriate antenna connector if the transceiver has more than one. See your transceiver’s instruction manual for details.
Example: IC-7300![]()
Mounting the AH-730
CAUTION: Mount the AH-730 in a horizontal position or a vertical position with the antenna terminal up.
Mounting on an antenna pole
Using the supplied U-bolts![]()
WARNING! Mount the AH-730 securely with the supplied nuts and bolts. Otherwise, vibrations and shocks could loosen the antenna tuner, making it fall, causing personal injury
CAUTION: DO NOT mount the antenna tuner upside down![]()
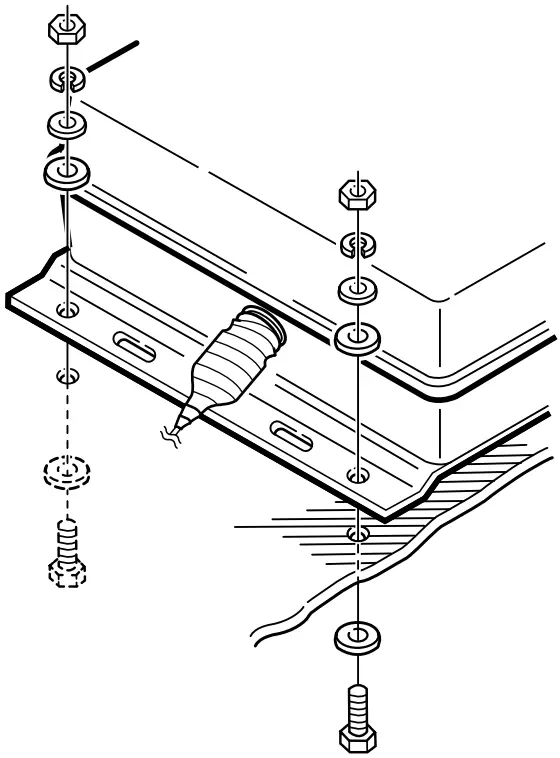
Mounting on a flat location
Using nuts and bolts![]()
Using self-tapping screws![]()
![]()
Mounting examples
DANGER! HIGH VOLTAGE! NEVER touch the antenna while transmitting or tuning. Place the antenna in a position where you are sure it will not be touched.![]()
Operation
Tuning is required for each frequency. Be sure to retune the antenna before transmitting when you change the frequency— even slightly.
Example: IC-7300
- Turn ON the transceiver.
- Each time you push
, “TUNE” is displayed or goes out, and the AH-730 is turned ON or OFF (bypassed).
- Each time you push
- Hold down
TUNER for 1 second to start manual tuning.- The antenna tuner reduces the SWR to less than 2:1 after 2 ~
- Seconds of tuning.
While tuning, “TUNE” blinks red.
If the antenna tuner cannot reduce the SWR to less than 2:1 after 15 seconds of tuning, “TUNE” goes out.
Hold down
TUNER for 1 second. - After tuning, “TUNE” is displayed.
L When the long wire antenna cannot be tuned, “TUNE” goes out. In that case, the AH-730 is bypassed and the wire is directly connected.
NOTE: When the wire antenna cannot be tuned, confirm wire length and connection. Note that the AH-730 cannot tune a wire that is a ½λ long or on a multiple of that frequency.
Icon is not responsible for the destruction, damage to, or performance of any Icom or non-Icom equipment, if the malfunction is because of:
- Force majeure, including, but not limited to, fires, earthquakes, storms, floods, lightning, other natural disasters, disturbances, riots, war, or radioactive contamination.
- The use of Icon antenna tuners with any equipment that is not manufactured or approved by Icon.
Specifications
- Frequency range: 1.8 ~ 54 MHz (with an antenna longer than 7 m, 23 ft) 3.5 ~ 54 MHz (with the AH-2b)
- Maximum input power: 150 W
- Input impedance: 50 Ω
- Tuning power required: 5 ~ 15 watts
- Rated voltage: 13.8 V DC ±15% (current less than 0.7 A)
- Usable temperature range: –10°C ~ +60°C (+14°F ~ +140°F)
- VSWR: 2.0 : 1 or less (except antennas a one half wave or multiple of a one half wave in length)
- Weight (approximate): 2.5 kg (5.5 lb)
- Dimensions: 230 (W) × 80 (H) × 340 (D) mm, (projections not included) 9.1 (W) × 3.1 (H) × 13.4 (D) inches
All stated specifications are typical and subject to change without notice or obligation.
Options
- OPC-1465 shielded control cable Cable length (approximate): 10 m, 32.8 ft The same as supplied.
- AH-2b antenna element
A 2.5 m long antenna element for mobile operation with AH-730. Frequency coverage: 3.5 ~ 54 MHz with the AH-730.
Below statement is for UKCA purpose only
United Kingdom Authorised Importer: Icom (UK) Ltd.
Address: Blacksole House, Altira Park, Herne Bay, Kent,
CT6 6GZ, U.K.
Icom, Icom Inc. and the Icom logo are registered trademarks of Icom Incorporated (Japan) in Japan, the United States, the United Kingdom, Germany, France, Spain, Russia, Australia, New Zealand, and/or other countries.



















