

World class hi-fi made in England.
For user instructions in your language, please visit www.rega.co.uk and go to the download section of your chosen product page.


Turntable contents
- Ceramic platter
- Drive belt / sub platter
- Tonearm
- Tungsten balance weight
- Skeletal plinth
- Finger lift
- Pin locator
Thank you for purchasing this Rega product.
Please follow this quick set up guide to ensure optimum performance and perfect operation. Failure to do so may invalidate your warranty.
For more information on this product, please visit www.rega.co.uk.
Unpacking and setting up the Planar 10 turntable
○ Always keep the turntable flat.
○ Follow the unpacking guide printed inside the front of the box.
○ Save the packaging in case you need to transport your turntable in the future.
○ Place the turntable on a rigid level surface.
○ Ensure the drive belt is in place and remove the transport hub card from beneath the sub platter.
○ Carefully place the ceramic platter on the hub and fit the turntable mat.
Planar 10 setup and connections
Setup and connections (make all connections before powering up)
Connect the supplied mains power lead to the socket marked ‘Power In’ on the rear of the P10 PSU.
Connect the XLR interconnect from the rear of the turntable to the socket marked ‘output’ on the rear of the P10 PSU. To minimise the risk of hum pick up by the cartridge, the power supply should be situated as far from the turntable as the interconnect cable will allow.
Connecting to the amplifier
The tonearm external phono leads must be connected to a suitable phono stage. Depending on the type of cartridge you have chosen, you will require the appropriate moving magnet (MM) or moving coil (MC) stage. If your amplifier does not have an integrated phono stage, you will require an external stage (sold separately).
Connect as follows:
Red = right chanel
Black = left channel
Push the power button on the front panel to turn the P10 PSU on – When the power supply is switched on, the Rega logo will illuminate RED.
Press the 331/3 rpm button to activate 331/3 rpm or 45 rpm to activate 45 rpm from the front panel.
Cartridge mounting and setting up the RB3000 tonearm
Firstly, ensure the cartridge fixings are orientated correctly according to the cartridge makers specification. Use the cartridge alignment protractor (supplied) to accurately set the position of the cartridge.
Note: When using any Rega cartridge featuring a three-point mounting system, overhang is automatically set.
With the cartridge correctly mounted and with the stylus guard removed, ensure that the tracking force dial (a) and bias adjustment (b) are set to zero. Adjust the balance weight (c) until the arm is “floating” with the stylus approximately 1mm clear of the record. Note: It is normal for the arm to swing back towards the arm clip position even with the bias set at zero. Therefore it is advisable to gently hold the arm bearing carrier (just below the tracking dial) thus preventing horizontal movement during the balancing procedure.
Once the arm is balanced, rotate the tracking force adjustment dial to the required tracking force. Numbers ‘0’ to ‘3’ are marked on the dial. If in doubt, it is advisable to use a tracking force that corresponds with the upper limits of the cartridge manufacturer’s range.
1. Cueing platform 2. Lift lower cueing device
(Used to manually lift or lower the tonearm on or off the vinyl surface)
Set the bias adjustment slider to the same figure as the cartridge tracking force pressure quoted by your cartridge manufacturer. Note: This is not critical and a figure between 1.0 & 1.5 will normally be suitable for moving magnet cartridges and 1.5 & 2.0 for most moving coil cartridges.

Simply push the bias adjustment slider in to the required setting, using the dotted line as your reference (as shown above).
Your arm is now balanced, setup and ready to use. If you have any doubts regarding installation or setup, please contact your official Rega dealer who will be able to carry out the work for you. Thank you for purchasing this Rega product and we wish you many hours of musical enjoyment.

Underneath tonearm tube

P10 PSU
The P10 PSU gives you total control over your turntable. It includes an advanced anti-vibration circuit (fine tuned by our engineers), electronic user adjustable fine speed control and the convenience of electronic speed change at the touch of a button.
Speed adjustment (factory set – only adjust if necessary)
○ The speed control functions are sited on the back panel of the P10 PSU.
○ Speed program switch – This enables the set speed mode.
○ Program mode LED – This indicates the two modes of operation: Factory default mode and speed adjustment mode.
○ Speed adjustment – This encoder is used to adjust the speed. The step size of the speed control is 0.01 rpm.
Returning the P10 PSU to factory settings
This process is recommended when fitting new drive belts to your turntable or after a service, to help optimise the range of adjustment available to you.
- Select 331/3 rpm.
- Press and hold down the ‘speed program’ switch until the ‘program mode’ LED flashes every few seconds. Keep the button pressed until a solid LED is illuminated.
- Whilst illuminated, press the ‘speed program’ switch button once again to fully factory reset and return to ‘run mode’.
Note: We recommend changing Rega drive belts every five years to guarantee optimum performance. Using the P10 PSU with old worn belts may result in lower performance and minor variations in speed stability.
Use of mobile phone apps to check and adjust the speed
Rega, along with a London mastering studio, have used the iPhone ‘RPM’ app (available on the App Store) developed by Philip Broder to check and adjust the speed of a turntable using the Neo, with positive results. We have verified the basic accuracy of the ‘RPM’ app using Rega’s in-house speed measuring equipment, but as this is a thirdparty app we cannot guarantee the readings because of uncertainties, which could be caused by the age, condition, and operating system of the phone the app is installed on. If you are in any doubt, you should check the calibration of the ‘RPM’ app using a suitable reference.
Rega Strobe and stroboscopic disc (sold separately)
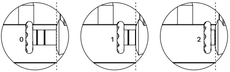
The best way to adjust the speed of your Planar 10 is to use the Rega Stobe kit. A stroboscopic disc is an optical instrument used to measure the speed of the turntable by freezing the bars on the disc. The bars are illuminated by an accurate quartz locked LED pulsing at 100 Hz.
Using the Strobe kit
Simply place the strobe disc on the turntable platter. Switch on the 100 Hz LED and hold it approximately 2 cm above the rotating strobe. If the bars do not appear to move and are stationary, the speed is 331/3 rpm. If they move clockwise, the turntable is running fast, and conversely, if they move anti-clockwise, the turntable is running slow.
If over one minute the bars appear to move by one bar to the left or one bar to the right, the speed is 0.016% fast or slow respectively. Using the speed control on the P10 PSU, it is possible to achieve ±0.05% or ±1.3 rpm.
Note: If over one minute the bars appear to move by two bars to the left or by two bars to the right, the speed is 0.01 rpm fast or slow respectively. Using the speed control on the P10 PSU, it is possible to achieve ±0.01 rpm, which is one step of the speed adjustment.
Warning: Because of the nature of the stroboscopic effect of the disc and the LED light, we strongly recommend anyone with photoinduced epilepsy not to use this device. Although this condition is very rare, we must make the user aware of this condition. Ask your dealer for assistance if required.
Warnings
○ Do not unplug the P10 PSU from the turntable whilst the unit is on turn off the power supply before unplugging.
○ Do not operate the power supply without the turntable connected.
○ Never expose the unit to rain or moisture.
○ Do not open the case covers. There are no user serviceable parts inside.

World class hi-fi made in England. | www.rega.co.uk
Safety and warranty
Service
With the unit disconnected from the mains, only clean with a micro fibre cloth, (lightly damp if necessary). Do not remove any coverings; there are no user serviceable parts inside. If the unit performs erratically or emits smoke or odour, disconnect from the power supply and take it to a qualified service technician.
Warranty
All Rega products are covered by a lifetime warranty against manufacture defects. This warranty does not cover wear and tear. Any unauthorised modifications or failure to follow the Rega recommended guidelines may invalidate the warranty. If returning goods for inspection to your retailer, the original packaging must be used to preserve the warranty. Damage caused during transport due to incorrect packaging may invalidate your warranty. Replacement packaging is available from any Rega retailer. Your statutory rights are not affected.
Safety instructions
○ Do not use this unit near liquids or expose to moisture.
○ Do not use near sources of heat such as radiators, vents, stoves, or candles.
○ Ensure adequate ventilation around the product, at least 10 cm in all directions, and avoid placing the unit on soft surfaces such as long carpet and fabric.
○ Do not open the product enclosure or force objects into openings in the unit.
○ Place the unit on a fixed level surface where it will not fall or tip.
○ The unit should only be used in moderate climates between 5 °C (41 °F) and 35 °C (95 °F).
○ Keep packaging material and small pieces out of reach of children.
○ Unplug the power supply if the unit is unused for extended periods of time.
Specifications
| Mains voltage | 230 V 50/60 Hz 220 V 50/60 Hz 115 V 50/60 Hz 100 V 50/60 Hz |
| Power consumption | 17 W |
| Fuse rating | T250 mA L (230 V / 220 V) T500 mA L (115 V / 100 V) |
| Output to motor | 24 V AC bi-phase ~ 350 mA |
| Speed control step size | 0.01 rpm |

Rega Research Ltd., 6 Coopers Way, Temple Farm Industrial Estate,
Southend-on-Sea, Essex, SS2 5TE
_____________________________________
Quick Start Guide | Revision 1



















