
nexTouch ™Keypad Access Exit Trim Lock
Touchscreen and Push Button
Installation and Programming Instructions


WARNING
This product can expose you to lead which is known to the state of California to cause cancer birth defects or other reproductive harm. For more information go to www.P65warnings.ca.gov.
Retrofitting or modifying this product may impact fire rating, safety features and warranty.
Consult with code specifications to ensure compliance with all codes and ratings.
Before You Begin


Face a door swinging open toward you. If it swings open to the right, it is a right-hand reverse door. If it swings open to the left, it is a left-hand reverse door.
Door Position Switch Option
Privacy DPS Switch
With Door Position Switch installed and the door closed, all keypad functions can be disabled by Privacy Button.

Prepare Door

Install Cylinder

If using a cylinder other than 1-1/8″, a new collar must be used that is sized appropriately for cylinder length.
Test Cylinder

Test cylinder by turning key counter-clockwise to unlock trim.
If there is any binding then the cylinder is not at the correct depth and needs to be threaded further into escutcheon.
Change Hand of Trim (if necessary)

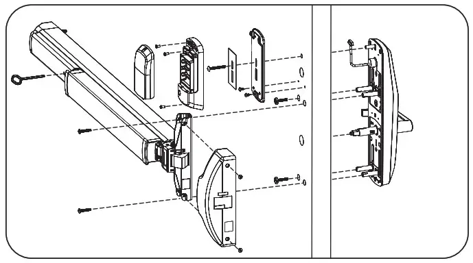
Install Outside Trim Assembly

Install Exit Device

Test Mechanical Lock Function by Key, Lever, and Keypad
Install Strike and Optional DPS

Install Inside Mounting Plate

Attach Cables to Inside Lock

Install Inside Lock

Part of ASSA ABLOY
Door Position Switch Option


















