
nexTouch™
Keypad Access Exit Trim Lock
Touchscreen and Push Button
Installation and Programming Instructions

WARNING
This product can expose you to lead which is known to the state of California to cause cancer and birth defects or other reproductiveharm. For more information go to www.P65warnings.ca.gov.
08/2018

Retrofitting or modifying this product may impact fire rating, safety features and warranty. Consult with code specifications to ensure compliance with all codes and ratings.
Before You Begin

Door Position Switch Option

Install Cylinder
![]() | ![]() |
If using cylinder other than 1-1/8″, a new collar must be used that is sized appropriately for cylinder length.
Test Cylinder

Test cylinder by turning key counter-clockwise to unlock trim.
If there is any binding then cylinder is not at correct depth and needs to be threaded further into escutcheon.
Change Hand of Trim (if necessary)

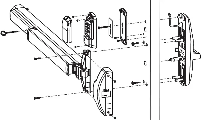
Install Outside Trim Assembly

Install Exit Device

Install Strike and Optional DPS

Install Inside Mounting Plate

Attach Cables to Inside Lock

Install Inside Lock






















