Healthy Choice ICM18 Ice Cube Maker

The Lenoxx ICM18 is a handy addition to your household and provides an ideal helper to ensure you have a ready supply of ice to cater to the demands of entertaining. Perfect for keeping refreshing drinks cool and the party going, you’ll never need to duck out to buya bag of ice again. Producing a whopping 10 Kg of ice every 24 hours, it also features a 600g ice bin capacity and 1.7 Litre water reservoir. Simple and easy to use, with LED indicators, simple control panel for easy use and audible alarms for water shortage and ice bin full, ensuring your cool drinks stay cold and the party doesn’t end.
IMPORTANT SAFEGUARDS
Please read and retain these instructions for future reference.
- Remove and safely disregard any packaging material and labels before using this product for the first time.
- Ensure children and babies do not play with plastic bags or any packaging materials
- Before using the ice maker for the first time, let it sit for 2 hours with the lid open.
- Ensure that the voltage indicated on the ice maker corresponds with the voltage in your home.
- Do not operate any appliance with a damaged cord or plug or after the appliance malfunctions or is dropped or damaged in any manner, take it to the store where the unit was purchased or call
- Lenoxx customer service for further assistance on 1300 666 848.
- Unplug the ice maker from the power outlet when it is not in use, before putting or taking parts off and before cleaning
- Do not let the cord hang off the edge of a bench, table or touch a hot surface.
- The use of accessories not recommended by the manufacturer may cause injuries to persons.
- This appliance is not intended for used by persons (including children) with reduced physical, sensory or mental capabilities, or lack of experience and knowledge, unless they have been given supervision or instruction concerning use of the appliances by a person responsible for their safety.
- Children should be supervised to ensure that they do not play with the appliance
- Cleaning and user maintenance shall not be made by children without supervision.
- This appliance is intended to be used in household and similar applications such as:
- staff kitchen areas in shops, offices and other working environments;
- tarm houses;
- by clients in hotels, motels and other residential type environments;
- bed and breakfast type environments
- Do not operate the ice maker other than for its intended use.
- The ice maker is to be used horizontally and on a stable surface.
- Do not position this appliance on an incline over 45 degrees.
- Do not put the ice maker upside down as this may damage the compressor and sealed system.
- For proper ventilation, keep 15 cm clearance around the ice maker on each side, the rear and the top.
- Do not use the ice maker close to open flames, hot plates or stoves.
- Do not immerse the ice maker in water.
- Fill with drinking water only.
- Before use, ensure the silicone stopper is inserted correctly.
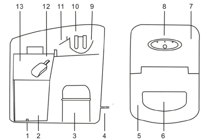
PARTS


CONTROL PANEL
- ON/OFF: Press to turn the ice maker on or off.
- ADD WATER: This light will come on with an alarm to let you know more water is required. You will need to add water and press the ON/OFF” button to restart the lce maker.
- ICE FULL This light will come on with an alarm to let you know when the ice has reached the maximum capacity of the storage cabinet. The ice will need to be removed to make room for more ice. Press the ON/OFF button to restart the ice maker after the ice has neem removed.
OPERATION INSTRUCTIONS
- Step 1.
Open the lid and fill the water reservoir with water.
Note: Make sure the water level in the water reservoir is not over the Ice collecting tray. - Step 2.
Connect to the power. - Step 3.
Press ON/OFF button to turn unit on. The ice maker begins to work.
Note: For the first three cycles, the ice may be small and irregular in size. - Step 4.
If the ADD WATER indicator is red with an alarm sound, then take out the basket and add water as per step 1, then press the ON/OFF button to restart the ice maker
Note: If no water is pumped up to the water tray over two cycles but the water in water tank is enough, then tilt the unit upwards slightly, then remove the silicon stopper, and let several drops water runs out. - Step 5
If the ICE FULL indicator is red with an alarm sound, please take out the ice with the scoop.
Note: When the ice collecting tray is full, please remove the ice immediately. Do not allow the ice collecting tray to overfill. - Step 6.
Press ON/OFF button to stop the machine. - Step 7.
Hold the ice maker above a bucket or sink, then remove the silicon plug and drain out the water.

CLEANING
- Clean the inner liner, ice collecting tray, water box, ice scoop and evaporator frequently. When cleaning unplug the unit and remove the ice cubes. Use a diluted solution of water and vinegar to clean the inside and the outside surface of the ice maker. Do not spray the ice maker with chemicals or diluted agents such as acids, gasoline or oil. Rinse thoroughly before starting.
- Keep ventilation openings in the appliance enclosure, or in the built-in structure, clear of obstruction.
- If the icemaker is reused after a long time, the water pump may not pump enough water due to an air block, the deficient water indicator turns on in this case. To correct this, press the ON/OFF button again, then the icemaker will work normally.
- To ensure the cleanliness of the ice cubes, water in the water reservoir should be replaced every 24 hours.
- If the compressor stops for any reason Such as water shortage, too much lce, power oft, etC.. Do not start the system right away, waits 3 minutes, and then re-starts the lce maker.
- Always use fresh water before starting ice production either at initial installation or after a long shut-off period.
- If the unit is not used for a long time, before the use, plug the unit in and then press the ON/OFF button for 5 seconds, the unit will clean itself. All indicators will illuminate every 5 seconds, the pump till take water 5 times, each time 30 seconds).
TROUBLESHOOTING
- Please note, if a power failure occurs due to disconnection of the power cord, or the off-power button has been pushed off during an ice making cycle, small ice chips may form and lodge in the automatic shovel causing it to jam. If this occurs, the ice chips may be removed by disconnecting the power cord and gently pushing the shovel to the rear of the cabinet and removing the ice chips, then restarting.
- Please restart the ice maker by pressing the ON/OFF button. If the lce shovel does not push the ice into the ice collector after the formed ice drops from the evaporator while at the same time the ICE light is on, check to see if the water tray is horizontal or balanced. If not, then adjust by pressing the ice shovel lightly with your finger. Then re-start the lce maker.

NOTES
- Fill with drinking water only.
- It is normal for the compressor and condenser surface to reach temperatures between 70°C and 90°C during operation and surrounding areas may be very hot.
- Due to fast freezing, ice cubes may appear “Cloudy”. This is air trapped in the water and will not affect the quality or taste of ice.
R-600a is a fluorinated greenhouse gas covered by the Kyoto Protocol; its global warming potential is 1300.
SPECIFICATIONS
- Daily Ice Output: 10kg/ 24 hours
- Ice Storage Capacity: 600 g
- Compressor High efficiency CFC free R600A
- Water Reservoir Capacity: 1.7 Litres
- Dimensions(W”D”H): 242 x 358 x 328 mm
- Weight:9.8 kg
- Voltage: AC 220-240V/50Hz
- Power: 150W
- Power cord: 3 pins earthed plug. (to reduce risk of electric shock)
DISPOSAL
When your appliance reaches the end of its working life, care must be taken when disposing of this Ice Maker to avoid a hazard. When disposing of the Ice Maker, cut off the plug so that it will render the unit unusable to avoid electrical shock. Also, contact your local council for instructions on how to safely dispose of the compressor and refrigerant.
* This product may vary slightly to the product illustrated due to ongoing product development.





















