H Koenig KB20 Ice Cube Maker 
Read this booklet thoroughly before using it and save it for future reference
IMPORTANT NOTICES
When using an electrical appliance, basic safety precautions should always be followed to reduce the risk of fire, electric shock, and/or injury, including the following:
- Read all instructions before using.
- Remove all packing material and carefully check your ice maker to ensure it is in good condition and that there is no damage to the ice maker or power cord and plug.
- Before using the Ice maker for the first time, please wait 2 hours after positioning it, and keep the transparent lid open for at least 2hours
- Pure water is not allowed to be used on this unit, spring water is recommended.
- Ensure the voltage is compliant with the voltage range stated on the rating label, and ensure the earthing of the socket is in good condition.
- Do not operate this appliance if it has a damaged cord or plug, if it is not working properly or if it has been damaged or dropped. If the supply cord is damaged, it must be replaced by the manufacturer or its service agent or a similarly qualified person in order to avoid a hazard.
- Do not upend this product or incline it over a 45℃ angle.
- To protect against risk of electric shock, do not pour water on cord, plug and ventilation, immerse the appliance in water or any other liquid.
- Unplug the appliance after using or before cleaning.
- Keep the appliance 8cm from other objects to ensure good heat release.
- Do not use accessories that are not recommended by the Manufacturer.
- This device is not intended for use by persons with reduced capacity on the physical, mental or sensory or lack of experience and knowledge (including children), unless they have had instructions to use the appliance by a person responsible for their safe use of the appliance and understand the hazards involved. Children should be supervised to ensure they do not play with the device.
- Cleaning and user maintenance shall not be made by children without supervision.
- Do not use the appliance close by flames, hot plates or stoves.
- Do not switch on the power button frequently (ensure 5min. interval at least) to avoid damage of the compressor.
- Metal sheet or other electric objects are not allowed to be inserted into the appliance to avoid fire and short circuits.
- Do not use outdoors.
- Never clean with scouring powders or hard implements.
- Please keep the instruction manual.
- Warning: Do not store explosive substances such as aerosol cans with a flammable propellant in this appliance.
- This appliance is intended to be used in households and similar applications such as
- staff kitchen areas in shops, offices, and other working environments;
- farmhouses and by clients in hotels, motels, and other residential type environments;
- bed and breakfast type environments;
- catering and similar non-retail applications
- The refrigerant and insulation blowing gas is flammable, when disposing of the appliance, do so only at an authorized waste disposal centre. Do not expose to flame.
- The device must not be used if it has been dropped, it obvious signs of damage are visible or if it has leaks.\
- This appliance may be used by children of at least 8 years of age, as long as they are supervised and have been given instructions about using the appliance safely and are fully aware of the dangers involved.
- Cleaning and maintenance should not be carried out by children unless they are at least 8 years of age and are supervised by an adult.
- Keep the appliance and its power cord out of reach of children under 8 years of age.
- When using electrical equipment, safety precautions must always be taken to prevent the risk of fire, electric shock and/or injury in the event of misuse.
- Never leave the unit unattended while in operation.
- Please keep this document at hand and give it to the future owner in case of transfer of your device
- Keep the appliance and its power cord out of reach of children under 8 years of age.
SPECIFICATIONS
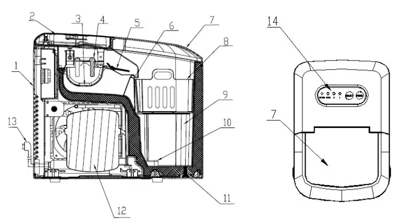
DESCRIPTION
- Rear Cover
- Top Cover
- Water Tray
- Evaporator
- Ice Shovel
- Ice-Bin-Full Sensor
- Transparent lid
- Ice Basket
- Water Reservoir
- Filter
- Water Drain Plug
- Compressor
- Power Cord
- Control panel
FEATURE
- ² Removable ice basket is included
- ² Big transparent full-view window. ice-making process is visible through this special window
- ² Easy-use control design.Two ice sizes is optional. Self-indicator of full ice & water shortage is included
CONTROL PANEL OPERATION! 
The indicator of POWER will flash after being plugged in, and then the machine enters the standby state. It will start to work by pressing the POWER button, accompanying indicator lighting. During operation, pressing this button, the machine will return to the standby state.
This button is for selecting the size of ice. The default setting is large ice, if the small one is needed, pressing this button is available. When you select the desired size, the corresponding indicator of S (small) or L (large) will be on.
Press and hold the “SELECT” button for 3 seconds to activate the pipeline self-clean process, which takes “pump water in for 30 seconds—water tank run to drain out water” as a circle, and this circle will run for 5 times. Flashing of indicators of “S” and “L” will take place in turn until the self-clean process is over and the machine enters standby mode. Take away the plastic plug to drain water and then the whole process is finished.
When the indicator of this button turns to red, it means insufficient water to the water reservoir, you need to add enough water and press the POWER button to restart the machine.
When the ice reaches to the max storage capacity, the indicator of this button will flash, and the machine will stop working. What you need to do is pour out the ice, if the position of ice is lower than the position of ice bin full sensor, the machine will restart automatically.
OPERATING INSTRUCTIONS!
- Note: Water reservoir and pipeline should be well cleaned before use.
- Step 1. Plug out, and clean the water reservoir by adding water, then take the plastic plug away to drain out the water from the water reservoir.
- Step 2. Reinstall the plastic plug, and add appropriate clean water. After connecting the power supply well, press and hold the “SELECT” button for 3 seconds to activate the pipeline self-clean process. After cleaning, drain out the water by taking plastic plug away.
- Step 3. Open the lid and take out the ice basket to add appropriate water into water reservoir. Note: The water poured into water reservoir should be lower than the water reservoir’s MAX position. When water volume goes beyond the max, please open the bottom water drain plug to drain the spare water out. Then close the transparent lid.
- Step 4. Select the desired ice size, the default size of the machine is large one.
- Note: Please select the (S) when the ambient temperature is below 15°c.When the ambient temperature is higher than 30°C, Large ice cube sizes are recommended.
- Note: For the first three cycles, the ice may be small and irregular in size.
- Note: When the ice collecting tray is full please remove the ice immediately, Do not allow the ice collecting tray to overfill.
CLEANING & USE GUIDANCE!
- Clean the inner liner, ice collecting tray, water box, ice shovel and evaporator frequently. When cleaning, unplug the unit and remove the ice cubes. Use a diluted solution of water and vinegar to clean the inside and the outside surface of the Icemaker. Do not spray Ice maker with chemicals or diluted agents such as acids, gasoline or oil. Rinse thoroughly before starting.
Remove the ice cube Drain Plug tray, empty the water by turning the drain plug.
- Keep ventilation openings in the appliance enclosure, or in the built-in structure, clear of obstruction. Do not use mechanical devices or other means to accelerate the defrosting process, other than those recommended by the manufacturer.
- Reuse the machine after being idle for a period of time, it may not have enough water to pump for air retard, and the indicator of “ADD WATER” will keep lighting. At this time, you just need to press the POWER button again, the machine can enter the normal state.
- To ensure the cleanness of ice, please change water for the water reservoir at least once one day. If do not use for a long time, please drain the water out and clean it up.
- If the compressor takes a strike action for shortage water, fully water or interruption of power supply, it will delay for 3mins to start up after restarting.
- Always use fresh water before starting ice production either at initial installation or after a long shut-off period.
TROUBLESHOOTING!
- Please note, if a power failure occurs due to disconnection of the power cord, or the power button has been pushed off during an ice-making cycle, small ice chips may form and lodge in the automatic shovel causing it to jam. If this occurs, the ice chips may be removed by disconnecting the power cord and gently pushing the shovel to the rear of the cabinet and removing the ice chips, then restarting.
- Please check if the water reservoir is flat when the ice shovel can not remove the ice from the ice basket. If not, please push the ice shovel gently by finger, then press the POWER button to restart.
| PROBLEM | POSSIBLE CAUSE | SUGGESTED SOLUTIONS |
| The compressor works abnormally with a Buzzing Noise | The voltage is lower than recommended | Stop the Ice maker and do not restart until the voltage is normal. |
| Water shortage indicator light is on | 1.There is no water 2.The pump is full of air | 1. Add to some water until it reaches MAX position 2. Press POWER button to restart |
| Indicator lights on display are not on | Blown fuse/ No power | Replace fuse / Turn power on |
| The Ice made is too | 1.water temperature is too low | 1.Select small size |
| large and with pieces sticking together. | 2.Ice of previous cycles left in the water tray | 2.Take out the ice under the standby state |
| All indicators twinkle simultaneously | Water tray is blocked by ice cube | Unplug the power to take out the ice which blocking the tray, then plug the power and press the POWER button, the machine will restart 3mins later. |
WARNING
If the power cord is damaged; it must be replaced by the manufacturer, its service agent, or a similarly qualified person in order to avoid a hazard.
Fill with potable water only.
- It is normal for the compressor and condenser surface to reach temperatures between 70°C and 90°C during operation and surrounding areas may be very hot.
- Due to fast freezing, ice cubes may appear “Cloudy”. This is air trapped in the water and will not affect the quality or taste of ice.
- This appliance is not intended for use by persons (including children) with reduced physical, sensory or mental capabilities or lack of experience and knowledge unless they have been given
- supervision or instruction concerning use of the appliance by a person responsible for their safety. Children should be supervised to ensure that they do not play with the appliance.
Do not immerse in water
- Warning: Keep ventilation openings, in the appliance enclosure or in the built-in structure clear of obstruction.
- Warning: do not use mechanical devices or other means to accelerate to defrosting process, other than those recommended by the manufacturer.
- Warning: do not damage the refrigerant circuit.
- Warning: do not use electrical appliances inside the food storage compartments of the appliance, unless they are of the type recommended by the manufacturer.
ENVIRONMENT
CAUTION:
Do not dispose of this product as it has with other household products. There is a separation of this waste product into communities, you will need to inform your local authorities about the places where you can return this product. In fact, electrical and electronic products contain hazardous substances that have harmful effects on the environment or human health and should be recycled. The symbol here indicates that electrical and electronic equipment should be chosen carefully, a wheeled waste container is marked with a cross. Adeva SAS / H.Koenig Europe – 8 rue Marc Seguin, 77290 Mitry-Mory, France www.hkoenig.com – https://en.hkoenig.com – Tél: +33 1 64 67 00 05






















