EXTOL LIGHT 43228 LED Flood Light User Manual
LED FLOODLIGHT, 2x800lm, WITH A STAND 125cm



The double LED floodlight is intended for installation on a portable stand with a carry handle, which can, likewise, be installed on a telescopic tripod with adjustable height and arbitrary swivel around its 360° turning axis. It is an ideal light source for work or temporary lighting of outdoor and indoor areas. Thanks to the use of LED diodes this light has a low power consumption and is also suitable for use in places with limited el. power supply (power generators, solar panels…).



ENERGY CLASS A+
| ord. no | description | |
| 43281 | LED floodlight is in | 230V/50Hz |
| Power input | 10/20W | |
| Luminous flux | 800lm/1600lm | |
| ning axis. It is an ideal light source f | ||
| 6300K | ||
| radiation angle | 120° | |
| s with limited e | > 30,000 hours | |
| protection | IP65 | |
| weight | 3.4kg |
LED FLOODLIGHT, RECHARGEABLE, WITH STAND






ENERGY CLASS A+
| ord. no | description | |
| 43122 | power input | 10W |
| luminous flux | 800lm | |
| colour-temperature | ||
| chromaticity | 6300K | |
| radiation angle | 120° | |
| diode lifetime | > 30,000 hours | |
| battery | 8.4V Li-ion | |
| lighting time at full powe | 2h (10W) | |
| charging time at 230V | 2h | |
| charger | 230V/AC, 12V/DC | |
| protection class | IP65 | |
| weight | 0.8kg |
LED FLOODLIGHT, RECHARGEABLE WITH STAND, 1400lm




ENERGY CLASS A+
| ord. no | description | |
| 43125 | power input | 10W/20W |
| luminous flux | 700lm/1400lm | |
| colour-temperature | ||
| chromaticity | 6300K | |
| radiation angle | 120° | |
| diode lifetime | > 30,000 hours | |
| battery | 11.1V Li-ion, 3600mAh | |
| lighting time at full power | 2h (10W) / 4h (20W) | |
| charging time at 230V | 3h | |
| charging time at 12V/DC | 5-6h | |
| charger | 230V/AC, 12V/DC | |
| protection class | IP65 | |
| weight | 1.1kg |
Introduction
Dear customer,
Thank you for the confidence you have shown in the Extol® brand by purchasing this product.
This product has been tested for reliability, safety and quality according to the prescribed norms and regulations of the European Union.
Contact our customer and consulting centre for any questions at:
www.extol.eu [email protected]
Manufacturer: Madal Bal a. s., Průmyslová zóna Příluky 244, 76001 Zlín, Czech Republic
Date of issue: 23. 6. 2017
Description – purpose of use

- Extol® Light 43228 and 43229 LED Floodlights are intensive light sources with a low power consumption, which thanks to the type of the LED diodes and their arrangement, illuminate a wide area, i.e. wide-angle floodlights.
The floodlights emit white daylight with a colour temperature of 6300 K.
The Extol® Light 43228 Floodlight with a rated input of 30 W has a luminous flux of 3200 lm.
The Extol® Light 43229 Floodlight with a rated input of 50 W has a luminous flux of 4500 lm. - Thanks to their watertightness, dust resistance, wide lighting angle, adjustable tilt angle and being maintenance-free, mechanically durable and having a long lifetime (more than 30,000 hours), these LED floodlights are suitable for the long-term lighting of buildings, outdoor and work areas or advertising spaces. The body of the floodlight is made from mechanically durable plastic, thanks to which, the floodlights have a low weight relative to their size. The rear part of the body has a light aluminium cooling plate.
The floodlights produce a very low amount of heat and the floodlight does not heat up excessively. - To use the floodlight, it must be connected to a mains power source by a person with respective electrical qualifications.
A permanent installation location is assumed for the floodlight.
The floodlights do not require any maintenance such as, for example, replacement of the LED light sources.
Technical specifications
Table 1
| Order number | 43228 | 43229 |
| Power input | 30 W | 50 W |
| Luminous flux | 3200 lm | 4500 lm |
| Light source | non-replaceable LED | non-replaceable LED |
| Supply voltage/frequency/current | 180-240 V~50/60 Hz; max. 0.14A | 180-240 V~50/60 Hz; max. 0.24 A |
| Protection marking (IP) *) | IP 65 | IP 65 |
| Dimensions (W × H × D) cm | 23 × 16.8 × 4 | 30.2 × 21.8 × 4.6 |
| Installation height | 1-3 m | 1-3 m |
| Projection area | 15-40 m2 | 25-50 m2 |
| Highest nominal ambient temperature ta | 40° C | 40°C |
| Photobiological safety class according to IEC/TR 62778 | RG1 without limitation | RG1 without limitation |
| Weight | 1.0 kg | 2.09 kg |
| Insulation class | I | I |
*) The IP65 protection marking on the floodlights provides dust resistance, protection against rain and snow.
For the safe operation of the floodlight, it is essential to provide for the same level of protection for the floodlight‘s connection to the power source.
INFORMATION REGARDING LED FLOODLIGHT ECODESIGN ACCORDING TO EUROPEAN COMMISSION DIRECTIVE (EU) 1194/2012.
Table 2
| Floodlight parameters | 43228 | 43229 | |
![]() | Power efficiency class of the light source | A+ 30.01 kWh/1000h | A+ 50.02 kWh/1000h |
| Light bulb socket | × | × | |
![]() | Power input, power voltage and frequency | 30.0 W 180-240 V ~50/60 Hz | 50.0 W 180-240 V ~50/60 Hz |
![]() | Equivalent to power draw of standard tungsten light bulb | ~260 W | ~360 W |
![]() | Rated luminous flux: | 3200 lm | 4500 lm |
![]() | Luminosity | 520 cd | 720 cd |
![]() | Rated lifespan of the light source | > 30 000 hours | > 30 000 hours |
![]() | Power factor of the light source PF | > 0.97 | > 0.98 |
![]() | Ageing factor of the light source at 6000 h | ≥ 0.80 | ≥ 0.80 |
![]() | Start-up time | 0.1 s | 0.1 s |
![]() | Warm up time for 60% of full luminous flux | 0.1 s | 0.1 s |
![]() | Colour rendering Ra | ≥ 80 | ≥ 80 |
| Colour chromaticity (colour temperature) | 6300 K | 6300 K | |
![]() | Colour retention | x= 0.3158 y= 0.3446 SDCM 4.0 | x= 0.3168 y= 0.3453 SDCM 4.3 |
![]() | Wave length | 500-600 nm | 500-600 nm |
![]() | Angle of light emission into space | 120° | 120° |
![]() | Highlighting light source | × | × |
![]() | Dimmable light source | × | × |
![]() | Number of switch cycles to malfunction | ≥ 15000 × | ≥ 15000 × |
![]() | For outdoor use | √ IP 65 | √ IP 65 |
| Dimensions of the light source | 230 × 168 × 40 mm | 302 × 218 × 46 mm | |
![]() | Mercury content in the light source | 0.0 mg | 0.0 mg T |
ENERGY LABEL OF THE FLOODLIGHTS
Fig.1
- This lighting device contains a built-in LED light source.
- The light source in this lighting device cannot be replaced.
Connection and installation of the floodlight
ATTENTION
- Carefully read the entire user‘s manual before first use and keep it with the product so that the user can learn about it. If you lend or sell the product to somebody, include this user‘s manual with it. Prevent this user‘s manual from being damaged. The manufacturer takes no responsibility for damages or injuries arising from use of the device that is in contradiction to this user‘s manual. Acquaint yourself with all the control elements and parts of the floodlight before using it. Check that all parts are firmly attached before use, also check that no part of the floodlight is damaged. Do not use a floodlight with damaged parts and have it repaired at an authorised service centre for the Extol® brand.
WARNING
- The floodlight is designed for permanent connection to an el. power source, e.g. from a terminal box. For safety reasons, according to the current standards EN 50110-1, IEC 60050-195 and EN 50110-2 and EN 61140 the connection may only be performed by a person with appropriate professional electrical qualifications ( i.e. “person skilled in electrical installations”). If you do not have such qualifications, have the appliance connected by a professional. The manufacturer is not responsible for damages or injuries arising from the unprofessional connection of the floodlight to an el. power source or for damages resulting from a connection of the floodlight to an el. power source not protected against water because the IP protection marking does not apply to the connection of the floodlight to an el. power source.
CONNECTION
WARNING
- The floodlight can be connected to a voltage in the range specified in the chapter with the technical specifications. Prior to connecting the floodlight, check that the above specified voltage is in the grid.
- The floodlight must be connected to a grid fitted with a residual current device (RSD) with a breaking current of 30 mA.
- Prior to connecting the floodlight, make sure that all relevant el. devices are not under voltage.
- A three conductor electric cable must be used for the connection.
- The conductors must be connected as follows:
- Yellow-green wire must be connected to the terminal with the „ground“ symbol.
- blue wire to the terminal marked with the N (zero) symbol.
- Brown/black or grey wire to the terminal marked with the L (phase) symbol.
- When connecting the power cable to the conductors on the floodlight, the connected conductors must be of the same colour.
ATTENTION
- The terminal box or any other supply line for the connection of the floodlight must be permanently protected against the entry of water. The IP protection level of the floodlight does not apply to the floodlight‘s connection to the power source when the same level of protection is not provided!
- Do not locate the floodlight on a flammable surface.
The floodlight must not be used in an environment where there is a risk of fire or explosion. - Always use the floodlight with an undamaged protective front cover that prevents damage to the LED diodes and their exposure to humidity/water and dust. In the event that the floodlight is damaged, immediately turn off the power source, disconnect the floodlight and replace it with an undamaged unit.
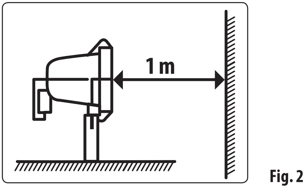
MOUNTING THE LAMP
- Mount the floodlight at a height of 1-3 m above the ground. The direct distance of the lamp from the illuminated object should be at least 1 m (Fig. 2). When the floodlight is mounted in a corner then it must be at least 20 cm away from the ceiling (Fig. 3).
Fig. 2
Fig. 3
ATTENTION
- Protect the power cord of the floodlight against thermal and mechanical damage. In the event of damage, immediately turn off the floodlight, disengage the voltage in the grid and organise its repair.
- The floodlight has a non-replaceable light source, which when not mechanically damaged has a lifespan of more than 30,000 hours and thus the floodlight is maintenance-free.
- For safety reasons, do not cover the floodlight during operation; cooling by ambient air must be provided for. Likewise, do not install or operate the floodlight in a confined small area with an insufficient volume and circulation of air.
Cleaning, maintenance, repairs
- In the event that the floodlight requires cleaning, first unplug it from the el. power supply and allow it to cool down. Do not use abrasive cleaning products and organic solvents to clean the floodlight as this would damage it.
- Service adjustment or installation of the floodlight must be performed with the power supply turned off.
- In the event that the power cord is damaged, turn off the power supply to the floodlight and have the power cord replaced with a new one by a qualified electrician. Disconnect the floodlight from the el. power source with the el. power source disconnected.
- In the event of damage to the protective front cover of the floodlight, it needs to be replaced with a floodlight with a new front cover. For safety reasons, it is not possible to use the floodlight with a damaged protective front cover.
- For warranty repairs, please contact the vendor from whom you purchased the product and they will organise repairs at an authorised service centre for the Extol® brand. For a post warranty repair, please contact the authorised service centre of the Extol® brand directly (you will find the repair locations at the website at the start of this user‘s manual).
- In the event of a dispute between the buyer and the vendor in respect to the purchase contract that was not resolved directly between the parties, the buyer has the right to the trade inspection authority for an out- -of-court settlement of the a consumer dispute. At the website of the trade inspection authority there is a link to the tab „ADR-amicable dispute resolution“.
References to the label and pictograms


![]() | Meets respective EU requirements |
![]() | The minimum clearance between the lighting device and the illuminated item must be 1 m. |
![]() | Only use the floodlight with an undamaged front cover. |
![]() | Installation height. |
![]() | Replace a floodlight with a cracked front cover with a new one with an undamaged front cover |
| Highest nominal ambient temperature. | |
![]() | Do not place the lighting device in the vicinity of easily flammable materials and on easily flammable materials. Do not use in an environment where there is a risk of explosion or fire. |
![]() | Non-dimming light source. |
![]() | Read the user’s manual before use. |
![]() | Do not dispose of unserviceable commodities in household waste, but dispose of / recycle them in an environmentally safe manner |
Waste disposal
PACKAGING MATERIALS
- Throw packaging materials into a container for the respective sorted waste.
UNSERVICEABLE PRODUCT
The product contains electronic components that constitute hazardous waste. According to European Directive No. 2012/19 EU, electrical appliances must not be thrown out with household waste, and must be handed over for ecological disposal at specified collection points.
You can find information about these collection points at your local town council office.
EU Declaration of Conformity
Manufacturer Madal Bal a.s.
Bartošova 40/3, 760 01 Zlín • Company ID No.: 49433717 declares that the equipment designated below, on the basis of its design and construction, as well the configuration in which it is brought on to the market, complies with the relevant requirements of the European Union.
This declaration becomes void in the event of modifications to the product that are not approved by us.
This declaration is issued under the exclusive responsibility of the manufacturer.
Extol® Light; 43228; 43229
LED Floodlights 30 W; 50 W
these were designed and produced in conformity with the
following standards:
EN 60598-1:2015+AC:2015; EN 60598-2-5:2015;
EN 62493:2015; EN 55015:2013+A1; EN 61547:2009+AC1+AC2;
EN 61000-3-2:2014; EN 61000-3-3:2013; EN 62321:2008
and harmonisation directives:
2014/35 EU; 2014/30 EU; 2011/65 EU; 2009/125 EC
(EU Commission Directive no. 1194/2012 for ecodesign)
In Zlín: 31/05/2017

Martin Šenkýř
Member of the Board of the manufacturer















































