beko RFSA240M33WN Free-Standing Freezer
WARNING!
In order to ensure a normal operation of your refrigerating appliance, which uses a completely environmentally friendly refrigerant the R600a (flammable only under certain conditions) you must observe the following rules:
- Do not hinder the free circulation of the air around the appliance.
- Do not use mechanical devices in order to accelerate the defrosting, others than the ones recommended by the manufacturer.
- Do not destroy the refrigerating circuit.
- Do not use electrical appliances inside the food-keeping compartment, other than those that might have been recommended by the manufacturer.

Figures that take place in this instruction manual are schematic and may not correspond exactly with your product. If the subject parts are not included in the product you have purchased, then it is valid for other models.

Instruction for use
Congratulations on your choice of a BEKO Quality Appliance, designed to give you many years of service.
Safety first!
Do not connect your appliance to the electricity supply until all packing and transit protectors have been removed.
- Leave to stand for at least 4 hours before switching on, to allow compressor oil to settle, if transported horizontally.
- If you are discarding an old appliance with a lock or latch fitted to the door, ensure that it is left in a safe condition to prevent the entrapment of children.
- This appliance must only be used for its intended purpose.
- Do not dispose of the appliance on a fire. Your appliance contains non-CFC substances in the insulation which are flammable. We suggest you contact your local authority for information on disposal and available facilities.
- We do not recommend the use of this appliance in an unheated, cold room. (e.g. garage, conservatory, annex, shed, out-house, etc.)
- To obtain the best possible performance and trouble-free operation from your appliance it is very important to read these instructions carefully. Failure to observe these instructions may invalidate your right to free service during the guarantee period.
Please keep these instructions in a safe place for easy reference.
Original Spare parts will be provided for 10 years, following the product purchasing date.
INFORMATION
The model information is stored in the product database can be reached by entering the following website and searching for your model identifier found on the energy label. https://eprel.ec.europa.eu/
This appliance is not intended for use by person with reduced physical, sensory or mental capabilities or lac k of experience and knowledge unless they have been given supervision or instruction concern ing use of the appliance by a person responsible for their safety.
Children should be supervised to ensure that they do not play with the appliance.
Electrical requirements
Before inserting the plug into the wall socket make sure that the voltage and the frequency shown in the rating plate inside the appliance corresponds to your electricity supply.
We recommend that this appliance is connected to the mains supply via a suitably switched and fused socket in a readily accessible position.
The plug has to be accessible after installation in order to allow disconnection of the appliance from the supply after installation.
Warning! This appliance must be earthed. Repairs to the electrical equipment may only be made by qualified experts. If the power cable is damaged, the manufacturer or customer service must replace it in order to avoid danger.
ATTENTION!
This appliance operates with R 600a which is an environmentally friendly but flammable gas. During the transportation and fixing of the product, care must be taken not to damage the cooling system. If the cooling system is damaged and there is a gas leakage from the system, keep the product away from open flame sources and ventilate the room for a while.
WARNING – Do not use mechanical devices or other means to accelerate the defrosting process, others than those recommended by the manufacturer.
WARNING – Do not damage the refrigerant circuit.
WARNING – Do not use electrical appliances inside the food storage compartments of the appliance, unless they are of the type recommended by the manufacturer. WARNING – If the supply cord is damaged, it must be replaced by the manufacturer, its service agent or similarly qualified persons in order to avoid a hazard.
Transportation instructions
- The appliance should be transported only in an upright position. The packing as supplied must be intact during transportation.
- If during the transport the appliance, has been positioned horizontally, it must not be operated for at least 4 hours, to allow the system to settle.
- Failure to comply with the above instructions could result in damage to the appliance, for which the manufacturer will not be held liable.
- The appliance must be protected against rain, moisture and other atmospheric influences.
Important!
- Care must be taken while cleaning/carrying the appliance not to touch the bottom of the condenser metal wires at the back of the appliance, as this could cause injury to fingers and hands.
- Do not attempt to sit or stand on top of your appliance as it is not designed for such use. You could injure yourself or damage the appliance.
- Make sure that the mains cable is not caught under the appliance during and after moving, as this could damage the cable.
- Do not allow children to play with the appliance or tamper with the controls.
Installation instructions
- Do not keep your appliance in a room where the temperature is likely to fall below -15 degrees C (5 degrees F) at night and/or especially in winter, as it is designed to operate in ambient temperatures between -15 and +43 degrees C (5 and 109 degrees F). At lower temperatures the appliance may not operate, resulting in a reduction in the storage life of the food.
- Do not place the appliance near cookers or radiators or in direct sunlight, as this will cause extra strain on the appliance’s functions. If installed next to a source of heat or freezer, maintain the following minimum side clearances:
From Cookers 30 mm
From Radiators 300 mm
From Freezers 25 mm - Make sure that sufficient room is provided around the appliance to ensure free air circulation (Item 2).
- Put the back airing lid to the back of your refrigerator to set the distance between the refrigerator and the wall (Item 3).
- The appliance should be positioned on a smooth surface. The two front feet can be adjusted as required. To ensure that your appliance is standing upright adjust the two front feet by turning clockwise or anti- clockwise, until firm contact is secured with th e floor. Correct adjustment of feet prevents excessive vibration and noise (Item 4).
- Refer to “Cleaning and Care” section to p repare your appliance for use.
Temperature control and adjustment
The freezer temperature is influenced by the freezer temperature set button ( recomanded a re 2 or 3 position).
Generally, this temperature is below -18°C lo where temperatures can be obtained by adjusting the thermostat knob towards position MAX.
We recommend checking the temperature with a thermometer to ensure that the storage compartments are kept to the desired temperature. Remember to take the reading immediately since the thermometer te mperature will rise very rapidly after you remove it from the freezer.
Please remember that each time the door is opened cold air escapes and the internal temperature rises. Therefore never leave the door open and ensure it is closed immediately a fter food is put in or removed.
Before operating
Final Check
Before you start using the freezer check that:
- The feet have been adjusted for perfect leveling.
- The interior is dry and air can circulate freely at the rear.
- The interior is clean as recommended under “CLEANING AND CARE.”
- The plug is inserted into the wall socket and the electricity supply is switched on. Avoid accidental disconnection by taping over the switch. B And note that:
- You will hear a noise as the compressor starts up. The liquid and gases sealed within the refrigeration system may also make some noise, whether the compressor is running or not. This is quite normal.
- To freeze the fresh foods use the compartment marked with 4 stars (recommended second shelf).
- Don’t put in freezer a too big quantity of foods in the same time. The foods quality is well kept if they are deeply frozen in the shortest time possible. Therefore it is preferable do not exceed the freezing capacity of the appliance shown in the “Appliance record”. The thermostat knob shall be adjusted in order to obtain the lowest temperature inside the freezer, with the fast freeze function activated and the orange lamp lighting.
- Do not load the appliance immediately it is switched on. Wait until the correct storage temperature has been reached. We recommend that you check the temperature with an accurate thermometer (see; Temperature Control and Adjustment).
Important Note: If there is a power failure do not open the door. Frozen food should not be affected if the failure lasts for less than 16 hours. If the failure is longer, then the food should be checked and either eaten immediately or cooked and then re-frozen.
Freezer control panel
Item 5
The control panel adjusts the temperature in th e freezer and has the following functions:
- Orange led – Fast freeze on
When you turn the freezer temperature set b uton (4) to the „FAST FREEZE” position, the orange led (1) will lit and the appliance will run in lowest temperature conditions. The orange L ED stops to lit after 50 hours of running in lowest temperature conditions. - Green led – electricity on (Voltage) L ights when the appliance is connected to the network and remains lit as long as it is an available power supply. LED green does not provide information on the temperature inside the freezer.
- Red Led – High-Temperature Alarm
- Setting temperature button
High-temperature alarm
After the appliance is turned on for the first time the alarm is not active for 12 hours (red led is off).
After this period, red led can lights (red led is on) in the following cases:- If the appliance is overloaded with fresh food
- If the door is left open by mistake.
In these cases the red led will remain lit until th e appliance reached the preset temperature. If the red led is on wait for 24 hours before announcing the authorized service.
Important:
The temperatures obtained inside can vary according to the conditions of use of the ppliance: location, ambient temperature, frequency of door opening, and degree of loading with food. The temperature setting will be modified according to these conditions.
If the red led is on wait for 24 hours before to a announce the authorized service.
It could be the warm food placed inside the freezer and/or the door that was left open. In 24 hrs of functioning the alarm for hight temperature (red led), it should be off.
Fast freeze function
To activate FAST FREEZING function, please adjust the temperature setting knob to „FAST FREEZE” position. It is advised that you place the foodstuffs that you wish to freeze faster in the freezer compartment 24 hours after you activate fast freezing function. While fast freezing is activated, your refrigerator runs at lowest temperature setting for freezer. Fast freeze function lasts for 50 hours. After terminated, your refrigerator reverts to normal use conditions with a temperature setting of 3 even though the knob is still employed at „FAST FREEZE” position. This ecodesign feature provides energy saving when fast freezing function is not cancelled for any reason. Freezing capacity of your refrigerator is measured and declared while fast freezing function is active.
Storing frozen food
Your freezer is suitable for the long-term storage of commercially frozen foods and also can be used to freeze and store fresh food.
If there is a power failure, do not open the door. Frozen food should not be affected if the failure lasts for less than 16 hrs. If the failure is longer, then the food should be checked and either eaten immediately or cooked and then re-frozen.
Freezing fresh food
Please observe the following instructions to obtain the best results.
Do not freeze too large a quantity at any one time. The quality of the food is best preserved when it is frozen right through to the core as quickly as possible.
If large amounts of fresh food are going to be frozen, adjust the control knob to „FAST FREEZE” position with 24 hours before putting the fresh food in the fast freeze compartment. It is strongly recommended to keep the knob
at „FAST FREEZE” position at least 24 hours to freeze maximum amount of fresh food declared as freezing capacity. Take special care not to mix frozen food and fresh food.
Small quantities of food up to 1/2 kg. (1 lb) can be frozen without fast freezer function Take special care not to mix already frozen food and fresh food.
Getting to know your appliance (Item 1)
- Control panel, display, and adjustment
- Compartment for quickly freezing
- Compartments for frozen foods keeping
- Adjustable front feet
Defrosting
Please defrost the freezer compartment at least twice a year or when the ice layer is too thick.
- Ice build-up is a normal phenomenon.
- The ice build-up, especially in the upper side of the compartment is a natural phenomenon and does not affect the good functioning of th e appliance.
- It is recommended to defrost the appliance when the quantity of frozen food is not too big.
- Before the defrosting set the adjusting thermostat button on the maximum position in order to strongly freeze the foods. During this time, the temperature in the refrigerator must n ot be too low.
- Unplug the appliance
- Take out the frozen foods, pack them in several paper sheets and put them in a cool place.
- Let the door open for a quick defrosting and put inside vessels with warm water (max.80°C).
Do not use pointed or sharp-edged objects such as knives or forks to remove the frost. Never use hairdryers, electrical heaters or o ther such electrical appliances for defrosting. W hen defrosting has finished, close the d efrosting part and dry the interior thoroughly (It em 6 & 7).
Cleaning and care
- We recommend that you switch off the appliance at the socket outlet and pull out the main plug before cleaning.
- Never use any sharp instruments or abrasive substances, soap, household cleaner, detergent or wax polish for cleaning.
- Use lukewarm water to clean the cabinet of the appliance and wipe it dry.
- Use a damp cloth wrung out in a solution of one teaspoon of bicarbonate of soda to one pint of water to clean the interior and wipe it dry.
- If the appliance is not going to be used for a long period of time, switch it off, remove all food, clean it and leave the door ajar.
- We recommend that you polish the metal parts of the product (i.e. door exterior, cabinet sides) with silicone wax (car polish) to protect the high-quality paint finish.
- Any dust that gathers on the condenser, which is located at the back of the appliance, should be removed once a year with a vacuum cleaner.
- Check door seals regularly to ensure they are clean and free from food particles.
- Never:
- Clean the appliance with unsuitable material; eg petroleum-based products.
- Subject it to high temperatures in any way,
- Scour, rub etc., with abrasive material.
- Excess deposit of ice should be removed regularly. Large accumulation of ice will impair the performance of the freezer.
- To remove a drawer, pull it as far as possible, tilt it upwards and then pull it out completely.
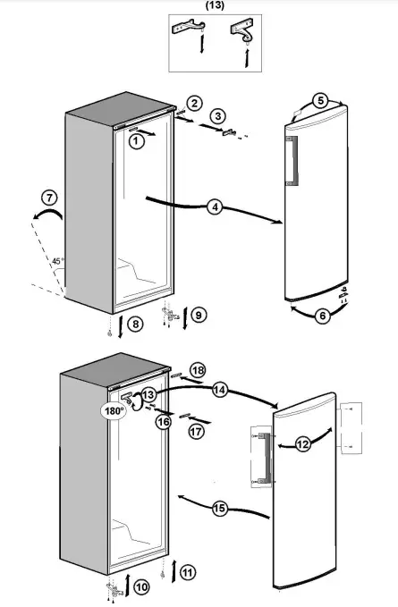
Repositioning the door
Proceed in numerical order (Item 8).
Do’s and don’ts
Do- Check the contents of the freezer at regular intervals.
Do- Clean and defrost your appliance regularly (See “Defrosting”)
Do- Keep food for as short a time as possible and adhere to “Best Before” and “Use By” dates.
Do- Store commercially frozen food in
Do- Always choose high-quality fresh food and be sure it is thoroughly clean before you freeze it.
Do- Prepare fresh food for freezing in small portions to ensure rapid freezing.
Do- Wrap frozen food immediately after purchasing and put it in to the freezer as soon as possible.
Do- Separate food in the compartments and complete the contents card. This will enable you to find food quickly and avoid excessive door opening, which will save electricity.
Don’t- Leave the door open for long periods, as this will make the appliance more costly to run and cause excessive ice formation.
Don’t- Use sharp-edged objects such as knives or forks to remove the ice.
Don’t- put hot food into the appliance. Let it cool down first.
Don’t- Put liquid-filled bottles or sealed cans containing carbonated liquids into the freezer, as they may burst.
Don’t- Store poisonous or any dangerous substances in your appliance. It has been designed for the storage of edible foodstuffs only.
Don’t- Exceed the maximum freezing loads when freezing fresh food.
Don’t- Consume ice cream and water ices direct from the freezer. The low temperature may cause ‘freezer burns’ on lips.
Don’t- Freeze fizzy drinks.
Don’t- Try to keep frozen food that has thawed; it should be eaten within 24 hours or cooked and refrozen.
Don’t- remove items from the freezer with wet hands.
Don’t- Close the door before replacing the fast-freeze compartment cover.
Troubleshooting
If the appliance does not operate when switched on, check;
- That the plug is inserted properly in the socket and that the power supply is on. (To check the power supply to the socket, plug in another appliance)
- Whether the fuse has blown/circuit breaker has tripped/main distribution switch has been turned off.
- That the temperature control has been set correctly.
- That the new plug is wired correctly, if you have changed the fitted, moulded plug.
If the appliance is still not operating at all after above checks, contact the dealer from whom you purchased the unit.
Please ensure that above checks have been done, as a charge will be made if no fault is found.
Information about operating noises
To keep the selected temperature constant, your appliance occasionally switches ON the compressor.
The resulting noises are quite normal.
As soon as the appliance has reached the operating temperature, the noises automatically reduce in volume.
The humming noise is emitted by the motor (compressor). When the motor switches ON, the noise may briefly increase in volume.
The bubbling, gurgling or whirring noise is emitted by the refrigerant as it flows through the pipes.
The clicking noise can always be heard when the thermostat switches ON/OFF the motor.
A clicking noise may occur when
- the automatic defrosting system is active.
- the appliance is cooling down or warming up (material expansion).
If these noises are excessively loud, the causes are probably not serious and are usually very easy to eliminate.
The appliance is not level
Use the height-adjustable feet or place packing under the feet.
The appliance is not free-standing
Please move the appliance away from kitchen units or other appliances.
Shelves are loose or stick
Please check the detachable components and, if required, refit them.
Warning!
Do not attempt at any time to repair the appliance or its electric components yourself. Any repair done by an unskilled person is dangerous for the user and can lead to warranty loss.
on the product or on the packaging indicates that this product may not be The symbol treated as household waste. Instead, it shall be handed over to the applicable collection point for the recycling of electrical and electronic equipment. By ensuring this product is disposed or correctly, you ill help prevent potential negative consequences Tor the environment and human health, which could otherwise be caused by inappropriate waste handling of this product. For more detailed Information about recycling of this product, please contact your local city office, your household waste disposal service or the shop where you purchased the product.





















