EMERSON Rosemount Snap-on Centering Discs User Guide
About this guide
This guide provides instructions for mounting the snap-on centering discs on a flexible single lead probe.
Safety messages
WARNING
Failure to follow safe installation and servicing guidelines could result in death or serious injury.
Ensure only qualified personnel perform the installation.
Required equipment
- Tape measure
- Cutting pliers
- Hand file
Product recycling/disposal
Recycling of equipment and packaging should be taken into consideration and disposed of in accordance with local and national legislation or regulations.
Snap-on centering disc kits
| Part number | Description |
| 03300-1658-0001 | Kit, 2- to 4-in. snap-on centering disc, PEEK, 1 pc |
| 03300-1658-0002 | Kit, 2- to 4-in. snap-on centering disc, PEEK, 3 pcs |
| 03300-1658-0003 | Kit, 2- to 4-in. snap-on centering disc, PEEK, 5 pcs |
Centering disc size recommendation
Figure 2-1: Top View

Table 2-1: Centering Disc Dimensions
| Disc size | Actual disc diameter |
| 2-in. | 1.50 in. (38 mm) |
| 3-in. | 2.36 in. (60 mm) |
| 4-in. | 3.15 in. (80 mm) |
Table 2-2: Centering Disc Size Recommendation
| Pipe size | Pipe schedule | |||||
| 5s, 10s, 20s | 30, 40s, 40 | 80s, 80, XS | 120 | 160 | XXS | |
| 2-in./DN50 | 2-in. | 2-in. | 2-in. | N/A(1) | 2-in. | 2-in. |
| 2½-in./DN65 | 3-in. | 3-in. | 2-in. | 2-in. | 2-in. | 2-in. |
| 3-in./DN80 | 4-in. | 3-in. | 3-in. | 3-in. | 3-in. | 2-in. |
| 3½-in./DN90 | 4-in. | 4-in. | 4-in. | N/A(1) | N/A(1) | 3-in. |
| 4-in./DN100 | 4-in. | 4-in. | 4-in. | 4-in. | 4-in. | 4-in. |
Mounting considerations
Figure 3-1: Minimum and Recommended Distance

A. Minimum: 3.3 ft. (1 m) Recommended: 9.8 ft. (3 m)
Table 3-1: Maximum Number of Centering Discs
| Model | Water (DC = 80) | Oil (DC = 2) |
| 3300 | 20 | 5 |
| 3308 | 16 | 5 |
| 5300 | 20 | 11 |
Note: Use as few centering discs as possible.
Operating temperature limits
- -67 to 392 °F (-55 to 200 °C)
Effect on measurement performance
See each product’s Product Data Sheet for more information.
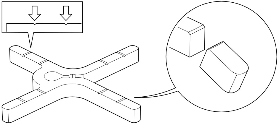
Mount the snap-on centering discs
Procedure
- If required, cut the centering discs at the grooves.
CAUTION
Be careful of sharp edges. Wear protective gloves!
- Remove any sharp edges with a hand file.
- Snap on the centering discs on the probe.

Support
For more information: www.emerson.com
©2021 Emerson. All rights reserved.
Emerson Terms and Conditions of Sale are available upon request. The Emerson logo is a trademark and service mark of Emerson Electric Co. Rosemount is a mark of one of the Emerson family of companies. All other marks are the property of their respective owners.





















