BACK VIEW
shoefresh SF50 Shoe Refresher

Quick start
CHOOSE A GOOD SPOT
- Place your Shoefresh in a well-ventilated room, for example the utility room, garage or hallway. Make sure that the air inlet – the grille at the rear of the unit – is not covered. Plug the unit into the socket. The Shoefresh will now start.

PREPARING THE SHOEFRESH FOR USE
- Position the shoe holders as shown in figure 2. Please note: the shoe holders will only fit into the Shoefresh in one specific way. The chip at the bottom of the shoe holder has to slot exactly into the hole for the chip. Firmly push the shoe holders into place until you see two bars on the display. The Shoefresh stops after about 10 seconds.

place a pair of Shoes on The Shoefresh
- Place the shoes over the holders as shown in figure 3. The Shoefresh will start automatically. The default for the unit is 5 minutes to remove odour, followed by 20 minutes drying at 60 degrees. Once the program has finished, the Shoefresh will stop automatically.

Before you start
IN THIS BOOKLET
Congratulations on your purchase. In this booklet, you will find practical and technical information about Shoefresh.
WHAT IS THE SHOEFRESH?
The Shoefresh will freshen up and dry shoes in two steps. During the first step (sterilization), bacteria and fungi, which can cause nasty odors, are tackled. During the second step
(drying), the shoes are dried, resulting in fresh and dry shoes. You can also use the Shoefresh to remove odors, fungi, and bacteria from and to dry boots, helmets, socks, gloves, and shin protectors.
TECHNICAL SPECIFICATIONS
- Voltage
- 230V/50Hz/1PH
- Power
- 7-300W
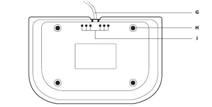
- base unit
- shoe holders
- buttons
- display screen
- infrared sensors
- air inlet grille
- power cord
- non-slip pad
- drainage holes
FRONT VIEW
BACK VIEW
BOTTOM VIEW
How does the Shoefresh work?
THE SHOEFRESH FRESHENS UP YOUR
SHOES IN TWO STEPS
- You simply have to place your shoes on the unit.
- The Shoefresh does the rest.
- Bacteria and fungi in shoes are often the cause of nasty odors. That is why the Shoefresh will first of all tackle all bacteria and fungi in your shoes (sterilization).
- The Shoefresh uses ozone (O3) to do this, which is an unstable form of oxygen. Your shoes are then dried (dry). You can decide on the number of minutes that the Shoefresh needs to deodorise and dry your shoes.
- You also set the drying temperature yourself. If your shoes still smell, you can easily extend the sterilization process. If shoes are extremely wet, you can extend the drying time and/or increase the drying temperature.
- If required, you can also omit the sterilization process.
- When designing the Shoefresh, we focussed on safety.
- If it overheats, the unit will switch off automatically. The upper limit of ozone is also fixed.
- Although small amounts of ozone are not hazardous, we have done everything possible to keep the emissions of ozone particles as low as possible.
- Read more about ozone later on in this
- User Guide, or take a look at the website www.shoefresh.eu.
Use
PREPARING THE SHOE FRESH
FOR USE
- Remove your Shoefresh from its packaging.
- In the box, you will find the base unit and two shoe holders. Unwind the power cord. Check for any packaging material that may have blocked the air inlet in the base unit.
- Then place the two shoe holders on the base unit. The shoe holders will only fit into the base unit in one specific way. The chip at the bottom of the shoe holder (1) has to slot exactly into the hole for the chip (2).
CHOOSE THE RIGHT SPOT
- The Shoefresh uses small amounts of ozone, an unstable form of oxygen. Under certain conditions, ozone can cause headaches and respiratory problems. Therefore, always place the Shoefresh in a well-ventilated room.
- It is fine if this room is cold. The Shoefresh has been constructed in such a way that it will still function perfectly, even at temperatures of up to 10 degrees below zero.

Operation
AUTOMATIC START
- You have to do next to nothing to freshen up and dry your shoes.
- Once you have plugged in the unit, your Shoefresh is immediately on standby and is ready to use. The Shoefresh will automatically start with the pre-set program as soon as you place your shoes on the holders.
- The default for the unit is 5 minutes for the sterilization process, followed by 20 minutes of drying at 60 degrees.
AUTOMATIC SHUTDOWN
- As soon as the program is finished Shoefresh will shut down by itself. If you place shoes over the shoe holders or press any button it will turn back on again. The fan will keep running for 10 seconds after completion of the program.
SETTING THE SHOE FRESH
You can easily preset the sterilization process and drying program by pressing the Setting button. You can adjust the length of time for the deodorizing, in the same way, that you can adjust the drying time and the drying temperature. The settings you used last are automatically saved.
STEP 1 – STERILIZE (STZ)
- During this step, all odors, bacteria, and fungi are removed.
- Setting the time for erasing odors, bacteria, and fungi (STZ)
- Press the Settings button a couple of times until STZ 05 MIN displays (Fig.1), then press the – button to decrease the time, or + to increase the time.
- The minimum sterilizing time you can set is 0 minutes and the maximum time is 10 minutes.

TIP: If you do not want to run the deodorization process and you only want to dry your shoes, set STZ at 0 minutes.
STEP 2 – DRY
Your shoes are dried during this step.
Set the DRY temperature
- Press the Setting button a couple of times until DRY 60 °C displays (Fig.2), then press the – button to decrease the temperature or + to increase the temperature. The minimum drying temperature you can set is 40°C and the maximum drying temperature is 60°C.

Checking the DRY temperature
- Press and hold the Settings button for a couple of seconds to view the current temperature inside the shoes.
Set the DRY time
- Press the Settings button a couple of times until DRY 20 MIN displays (Fig.3), then press the – button to decrease the drying time or + to increase the time.The minimum drying time you can set is 0 minutes and the maximum time is 40 minutes.

- If you do not want the drying process to run and you only want to deodorize your shoes, set DRY at 0 minutes.
START CAUTIOUSLY
- You can set a drying temperature from 40 to 60 degrees. It is better to dry leather shoes at a low temperature. Therefore, initially opt for a lower temperature of, for example, 40 degrees.
- You can set a higher temperature for plastic sports shoes (trainers) and we recommend that this temperature is 60 degrees. Do not set the drying temperature higher than the article can tolerate.
MANUAL START
- The Shoefresh starts and stops automatically when you place a pair of shoes over the shoe holders. However, you can also start the Shoefresh manually.
- To start your Shoefresh manually, press and hold the + and – buttons simultaneously for a few seconds.
- You can stop the Shoefresh by pressing and holding the + and – buttons simultaneously again or by removing the shoes from the shoe holders.
BACK TO FACTORY DEFAULTS
- To restore your Shoefresh to the default program (5 minutes deodorization and 20 minutes drying at 60 degrees) keep the Settings button pressed in for a few seconds. The display will then flash to indicate that the default program has been reactivated.
Tips for safe use
BEFORE USE, READ THE FOLLOWING SAFETY INSTRUCTIONS CAREFULLY.
- Always use electrical appliances with care. Use your common sense.
- Use the Shoefresh in a properly ventilated location and not in a room in which you are continuously working. The Shoefresh uses ozone to effectively dissipate odors.
- Too much ozone leads to poor air quality and can cause headaches or respiratory problems.
- Place the unit on a firm surface and make sure that your Shoefresh is always upright when in use. Always make sure that the air inlet – the grille at the rear – is unobstructed.
- Do not use the Shoefresh with a damaged cord or plug. If the electrical cord is damaged it must be replaced by the manufacturer or authorized service agent to avoid a hazard.
- The Shoefresh has been designed for use in wet rooms, such as bathrooms. The articles that you place on the unit also contain moisture.
- Water from your shoes can drain off via drainage holes underneath the unit. However, in the event of a large spillage, (e.g. water pouring from inside a Wellington boot), we recommend switching off the Shoefresh and unplugging the dryer from the socket until the water has drained out of the unit via the drainage holes underneath. Leave the unit to stand in a dry room for 24 hours.
- Too much water can, however, damage the Shoefresh. Make sure that the Shoefresh is never left standing in the water.
- Never submerge the Shoefresh in water.
- The Shoefresh is not a toy. Never allow children to play with the unit. Only allow children to use the Shoefresh under adult supervision.
- Do not place anything between the two shoe holders when the Shoefresh is plugged in, because the Shoefresh is then not ready to start operation.
- Do not disassemble or repair the Shoefresh or alter it in any way. This can cause injury, fire or other malfunctions.
- Only allow a qualified service agent to perform repair and maintenance work on the dryer. Removing any parts or attempting to service the Shoefresh yourself will invalidate the warranty.
- Keep the dryer away from fire, combustible gas and corrosive substances.
About ozone
THE MOST NATURAL AND EFFECTIVE WAY OF COMBATING ODOURS
- Ozone (O3 ) is an unstable form of oxygen (O2) that occurs naturally. The ozone layer protects the earth from harmful radiation. Ozone also has powerful disinfection properties.
- It is the most natural way of rendering bacteria and fungi harmless and of removing odors.
- Ozone gas results from the action of ultraviolet radiation in the higher atmospheric layers. Ozone always occurs as a result of lightning.
- The Shoefresh contains an ozone generator that generates ozone with the help of powerful electrostatic charges.
- Ozone has a familiar, almost clover-like odor; this is an odor that can often be smelt after a storm. If the ozone concentration is too high, this can lead to headaches or respiratory problems.
- Shoefresh only produces an extremely small amount of ozone and falls within the recommended standards of the Council of Public Health.
- Although after short time ozone particles are converted back to oxygen (O2), we strongly recommend that the Shoefresh is always used in a well-ventilated room.
Maintenance
- Use a damp soft cloth with a drop of liquid soap to clean the Shoefresh. Do not use abrasives or stiff brushes. Use a soft brush to clear away dust and dirt from the air inlet.
- Never submerge the Shoefresh in water.
Troubleshooting
The Shoefresh does not start properly
- Check whether the plug is properly plugged in the socket.
- Check whether the socket is switched on (if there is a switch).
- Check whether your house circuit breaker switch or fuse is/are on.
The LED display shows the code “E1”
- The temperature sensor has malfunctioned. Contact your retailer or service agent for examination, repair or possible replacement.
The LED display shows the code “E2”
- The heater fuse has blown. Contact your retailer or service agent for examination, repair or possible replacement.
The LED display shows the code “E3”
- The fan has malfunctioned. Contact your retailer or service agent for examination, repair or possible replacement.
The LED display is on and the fan is working, but there is no ozone
- The ozone generator has malfunctioned. Contact your retailer or service agent for examination, repair or possible replacement.
The Shoefresh is not drying perfectly
- Make sure that the drying temperature is not set too low. Reset the drying temperature to a higher level and if required a longer drying time.
- Make sure that the article that you wish to dry is not too wet. Squeeze out excess water before drying.
- The Shoefresh can drain small amounts of water from very wet articles that are put on the shoe holders to dry. Clean away this water.
Warranty
damage caused by repair or modifications performed by unauthorized service agents, or units that are used for commercial purposes are not covered by this warranty. The quality of the Shoefresh is unsurpassed. We are convinced that you will enjoy your Shoefresh for many years. Please feel free to contact us should you have any questions or comments. The Shoefresh complies with CE standards.
- Registration No: AT1306603E & AT1306603S
- Report No: 201306663E & 201306663S
- Patent certificate number: Zl201620680235.4 / Zl201630286232.8
References
Shoefresh shoe freshener: the solution to wet, smelly shoes - Shoefresh
Śmierdzące lub nieświeże buty? Nie martw się już o śmierdzace buty!
Shoefresh shoe freshener: the solution to wet, smelly shoes - Shoefresh
Shoefresh – Osvežilec obutve
Śmierdzące lub nieświeże buty? Nie martw się już o śmierdzace buty!



























