
PTU-71
Selectable Frequency UHF Dual Channels
Wireless Microphone System
OWNER’S MANUAL
System Description
Box contents
– 1 x Dual UHF wireless receiver with mixed XLR and ’’ outputs
– 1 x 1/4’’ audio cable (6.35mm to 3.5mm adapter included)
– 1 x Power adapter
– 1 x User manual
– 2 x Antenna
– 4 x AA battery
PTU-71A :
– 2 x UHF handheld microphone
– 2 x Anti-rolling ring
PTU-71B :
– 1 x UHF handheld microphone
– 1 x Anti-rolling ring
– 1 x UHF bodypack transmitter
– 1 x headset/lapel combo (black)
System Overview
Phenyx Pro PTU-71 wireless microphone system delivers superior sound quality and professional features. It is designed for a wide range of professional applications with 2×100 selectable frequencies, automatic frequency scanning, and automatic IR synchronization pair up, ideal for professional setup in occasions like live shows, weddings, church, DJs, conference meetings, public speaking etc. Working distance is up to 100m/328ft operating distance in wide open space. For longer distance, please avoid metal blocks, multiple walls, and other electronics devices.
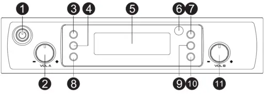
Receiver
Front Panel

- Volume control for CHA
- Power Switch
- UP button CHA incremental selection
- SET button CHA infrared synchronization setup
- LCD display
- IR window
Aim the IR window of the transmitter to that of the receiver for IR synchronization CHA infrared synchronization setup - UP button CHA incremental selection
- DOWN button CHA decremental selection
- Set button CHB infrared synchronization setup
- Down button CHB decremental selection
- Volume control for CHB
Back Panel
- Power jack
- CHA antenna
- CHA balanced XLR output
- CHB balanced XLR output
- Unbalanced1/4″ output
- CHB antenna
Transmitters
Handheld Microphone
IR Window (Play to the infrared transmitter signal to the frequency synchronization)
LCD display
Power switch
Battery compartment
When turn on the transmitter, the battery power icon is on the right of the LCD display.
If the battery icon indicates that battery power is low, the batteries must be displaced to maintain normal operation.
There is a MUTE icon on the LCD display.
When short press the power switch, the handheld transmitter will turn into MUTE status. Please press again to unmute the handheld microphone or long press the switch to turn the
Bodypack
The Phenix UHF bodypack is to be used with the Phenix lavalier microphones & headsets
- – Secure the bodypack to clothing, belt or pocket.
- – (a) For a lavalier microphone, clip the microphone to clothing about 1 foot under the mouth. (b) For a headset, install headset comfortably on head so the microphone can be placed close to the mouth.
- – Connect the microphone audio connector to the bodypack microphone input4
- – Turn the bodypack on by press the ON/MUTE/OFF button. The operating mode indicator will 2 light up (green), indicating that the bodypack is on.
- – Press SET button on receiver. You will see LCD screen shows “F—” status. Open the battery compartment cover, and aim the transmitter’s IR at the receiver’s IR window. Once the pairup is completed, you can see the same group and channel number display on the receiver screen and the bodypack screen.
- – Press up or down button to select the desired frequency, then align the two IR windows and press”SET”to confirm setting and pairup again.
- – Press 3 again, operating mode indicator will turn red, which indicates that bodypack is on MUTE. Long press3to turn off the bodypack.
Operation Instructions
Setup
- – Install fresh batteries in the transmitters (refer to the section relative to the specific transmitter you are using).
- – Connect the AC power adapter to a wall outlet to power on the receiver.
- – Screw antenna A, B in, and position them 60 degrees apart from each other
- – Connect one of the three outputs available at the back panel to the next stage of your system. Typically, use the 1/4″ output to connect to unbalanced equipment such as consumer level receivers, amplifiers, and mixers. Connect to professional equipment using the XLR output (cable not included).
- – Make sure the volume of your speaker is off. Turn on the receiver and the transmitters. For auto scan feature, long press SET button until a circle shown on the LCD screen, then wait until the auto scan process complete and a frequency is set. The system will automatically select the least-interference best signal channel.
For manual frequency selection feature, press UP or DOWN button to select desired frequency. Phenyx Pro recommends using the auto scan function for optimal operation result. - – Press SET again after frequency selection, LCD screen will show “F–” status. Aim the transmitter’s IR window to the receiver’s IR window, and they will pair up automatically within seconds. Once the pair up is completed, channel and group number shown on the transmitters should match those on the receiver.
- – You can use multiple receivers at the same time,and set all the transmitters to different channels. Theoretically, up to 100 receivers can be used at the same time. Phenyx Pro recommends no more than 20 receivers to be used together.
- – For lock function, long press UP button and you will see”L ON”on the screen, which means that the system is in lock status. Long press UP button again to change the statua to “L OF”. Now the system is unlocked and you can change frequency.
Operation
- – The receiver antennas should be kept away from any metal surface.
- – Before inserting the batteries, please make sure that they are inserted according to the correct polarity.
- – For better result, keep the transmitters at least 2’away from the receiver but within the transmitter’s range(100m/328ft). Keep the transmitters in a direct line of sight of the receiver whenever possible.
- – Electronics devices such as mobile phones, radios, and other transmitting devices may interfere with the wireless system transmitters. Please keep transmitter and receiver away from those devices and other possible interfering sources.
Troubleshooting Tips
| ISSUE | REASON | SOLUTION |
| The transmitter battery indicator is rapidly flashing or continuously ON | The batteries are low | Replace with fresh batteries |
| A howling noise (also known as “feedback”) can be heard from the speakers | The microphone is too dose to the speaker | Increase the dis- tance between the microphone and the speaker Avoid pointing the microphone directly at the speaker |
| No sound coming to the receiver | The wireless microphone is outside of the receiver’s range | Keep wireless microphone within operating range of the receiver |
| The wireless transmitter is off or muted (switch set to “OFF” or “MUTE”) | Turn wireless micro-phone on. Replace batteries if necessary | |
| Sound reaches the receiver, but no sound coming from the receiver | Volume control too low | Turn up the output volume by tuming the volume control buttons in the front of the receiver clockwise. |
| Output is not (or wrongly) connected | Verify all connections to the rest of your system. Try different connection cables if availlble. |
Specifications
Specifications
• Overall System
| Carrier frequency range (Depends on local regulations) | UHF 530 — 580 MHz |
| Frequency Stability | 0.003% |
| Dynamic Range | >105dB |
| Frequency response | 50Hz-18kHz |
| Audio Output Level | %interface: 0-500mV;XLR Interface: 0- 500mV |
| Working distance | 100m/328ft |
| XLR Interface | 0-500mV |
| Operating temperature | -10°C —+50°C |
· Receiver
| Output impedance | XLR connector: 2000 |
| RF sensitivity | -105dBm |
| Image rejection | >110dB |
| Spurious rejection | >90dB |
| Power | 5W |
| Power requirement | DC 12- 15V, Current: 300mA, External power adaptor |
| Dimension | 210mm x 160mm x 45mm |
| Weight | 775g (27.3oz) |
· Handheld & Bodypack Transmitter
| Modulation Mode | FM |
| Maximum Deviation | 75kHz |
| Handheld Dimension | 249mm x51 mm (9.8 x 2 in) |
| Handheld Weight | 306g (10.8oz) (without batteries) |
| Power Requirement | 2 AA alkaline batteries (for each transmitter) |
| Battery Life | At least 8 hours with original batteries included |
Technical Support & Warranty Information
Our warranty to you:
Phenyx Technology (“Phenyx”) warrants Phenyx products against evident de-fects in material and workmanship for a period of one year from the date of original purchase for use.This warranty is valid exclusively in the US and applies only to the original owner. If you discover a defect covered by this warranty, Phenyx will repair or replace the product at our sole discretion using new or refurbished components. Performance of repairs or replacements under this Warranty is sub-ject to the registration of your product at www.phenyxusa.com/registerproduct.
Product failures not covered by this warranty:
This warranty covers defects in manufacturing that arise from the correct use of the device. It is limited to defects in materials or workmanship and does not cover electrical or mechanical damage resulting from abuse, misuse, unauthorized modification, lack of reasonable care, extreme heat, cold, damage due to natural forces,or corrosive environments. This warranty does not cover the normal wear and tear on covers, housing, connectors, and accessories.
Limits of liability:
If your Phenyx product fails or does not perform as warranted, your sole recourse shall be to replace or repair it as described above. Phoenix will not be liable to you or anyone else for any damages that result from the failure of this product. These damages include, but are not limited to, the following: lost profits, lost savings, lost data, damage to other equipment, and incidental or consequential damages arising from the use of or inability to use this product. IN NO EVENT PHENYX SHALL BE LIABLE FOR MORE THAN THE AMOUNT OF YOUR PURCHASE PRICE, NOT TO EXCEED THE CURRENT LIST PRICE OF THE PRODUCT.
How to obtain service under this warranty:
If you are receiving a system that is defective or you have any questions regarding operation or warranty cover, please contact us at [email protected] with any questions or concerns and a Phenyx Pro representative will contact you to provide assistance. You can also reach out to us through Facebook page: www.facebook.com/phenyxusa/ or our official website: www.phenyxpro.com
![]() | ![]() |
| http://www.phenyxpro.com | https://m.me/144158102956828?ref=w9443660 |
www.phenyxpro.com
Designed in U.S Made in China



















